Запчасти Komatsu D31P-18 ПРУЖИНА (ДЛЯ TОБОД КОЛЕСАMING DOZER) ГУСЕНИЦЫ

Схема запчастей Komatsu D31P-18 - ПРУЖИНА (ДЛЯ TОБОД КОЛЕСАMING DOZER) ГУСЕНИЦЫ
FIT
1:1
100%

Артикул

Название

Примечание

Количество

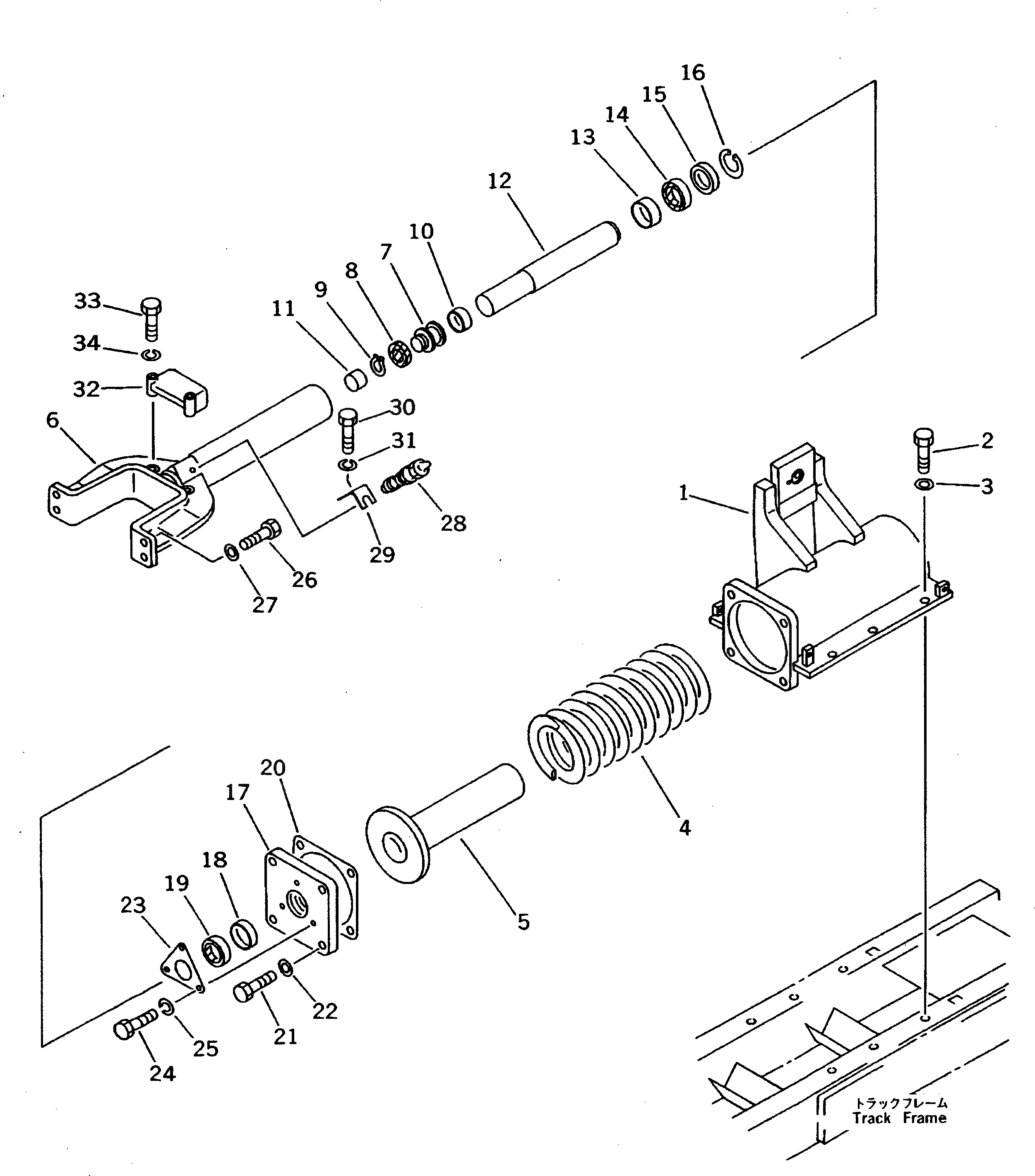
1

114-X16-3110

BRACKET,L.H.

SN: 40001-UP

1шт.

1

114-X16-3120

BRACKET,R.H.

SN: 40001-UP

1шт.

2

01010-51640

BOLT

SN: 40001-UP

12шт.

3

01643-31645

WASHER

SN: 40001-UP

12шт.

4

113-30-34210

SPRING

SN: 40001-UP

2шт.

5

114-X16-3140

HOLDER

SN: 40001-UP

2шт.

6

113-30-24410

CYLINDER,L.H.

SN: 40001-UP

1шт.

6

113-30-24420

CYLINDER,R.H.

SN: 40001-UP

1шт.

7

113-30-24460

PISTON

SN: 40001-UP

2шт.

8

09370-00050

U-PACKING

SN: 40001-UP

2шт.

9

04064-03515

RING,SNAP

SN: 40001-UP

2шт.

10

07155-00515

RING

SN: 40001-UP

2шт.

11

113-30-34170

BAR

SN: 40001-UP

2шт.

12

113-30-24470

ROD

SN: 40001-UP

2шт.

13

07177-05030

BUSHING

SN: 40001-UP

2шт.

14

113-30-24240

SEAL

SN: 40001-UP

2шт.

15

113-30-24250

SPACER

SN: 40001-UP

2шт.

16

04065-06220

RING,SNAP

SN: 40001-UP

2шт.

17

113-30-24540

PLATE

SN: 40001-UP

2шт.

18

07177-05012

BUSHING

SN: 40001-UP

2шт.

19

113-30-24240

SEAL

SN: 40001-UP

2шт.

20

114-X16-3170

GASKET

SN: 40001-UP

2шт.

21

01010-51650

BOLT

SN: 40001-UP

8шт.

22

01643-31645

WASHER

SN: 40001-UP

8шт.

23

113-30-24560

PLATE

SN: 40001-UP

2шт.

24

01010-50816

BOLT

SN: 40001-UP

6шт.

25

01602-20825

WASHER,SPRING

SN: 40001-UP

6шт.

26

01010-51645

BOLT

SN: 40001-UP

8шт.

27

01643-31645

WASHER

SN: 40001-UP

8шт.

28

07959-20001

VALVE,LUBRICATOR

SN: 40001-UP

2шт.

29

113-30-24480

PLATE

SN: 40001-UP

2шт.

30

01010-51020

BOLT

SN: 40001-UP

4шт.

31

01602-21030

WASHER,SPRING

SN: 40001-UP

4шт.

32

113-30-24490

COVER

SN: 40001-UP

2шт.

33

01010-51060

BOLT

SN: 40001-UP

4шт.

34

01602-21030

WASHER,SPRING

SN: 40001-UP

4шт.

Выбрано товаров: 36