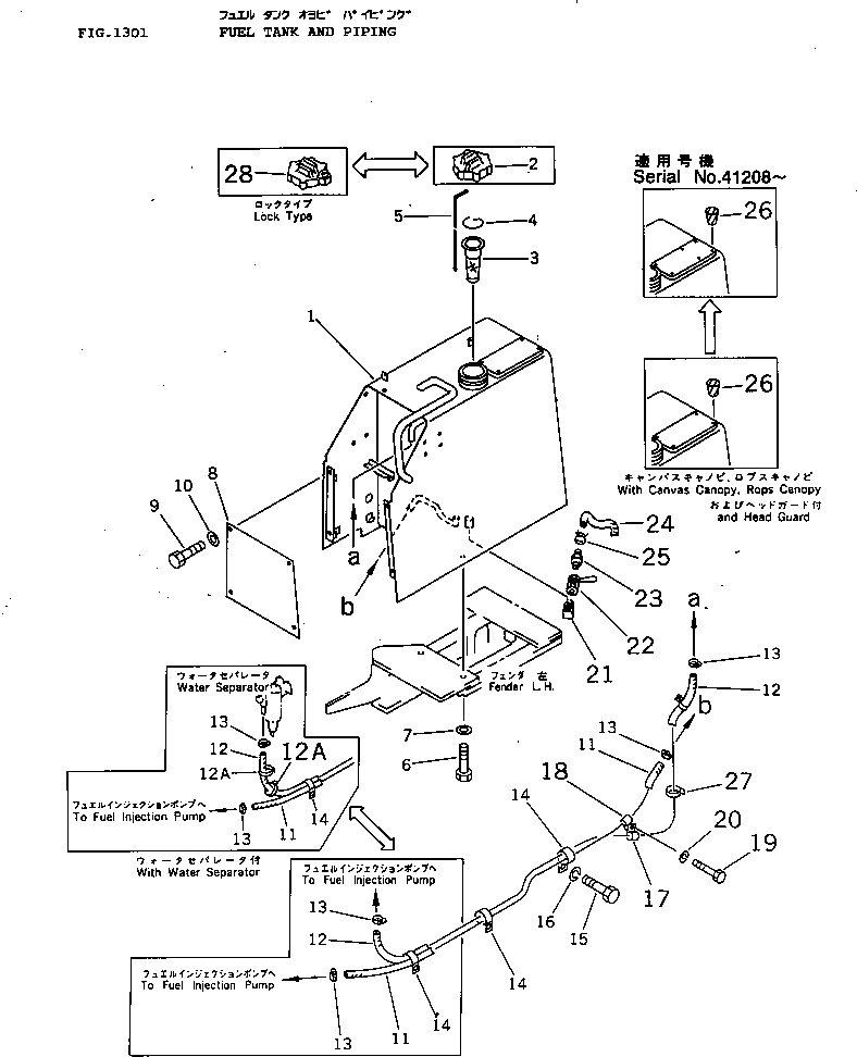
Запчасти Komatsu D31P-18 ТОПЛ. БАК И ТОПЛИВОПРОВОД КОМПОНЕНТЫ ДВИГАТЕЛЯ И ЭЛЕКТРИКА

Схема запчастей Komatsu D31P-18 - ТОПЛ. БАК И ТОПЛИВОПРОВОД КОМПОНЕНТЫ ДВИГАТЕЛЯ И ЭЛЕКТРИКА
FIT
1:1
100%

Артикул

Название

Примечание

Количество

|$0

113-04-00400

FUEL TANK ASS'Y

SN: 40001-41207

1шт.

1

113-04-41213

TANK

SN: 41829-UP

1шт.

1

113-04-41212

TANK

SN: 41208-41828

1шт.

1

113-04-41210

TANK

SN: 40001-41207

1шт.

1

113-04-41312

TANK,BACK-UP ALARM

SN: 41829-UP

1шт.

1

113-04-41311

TANK,BACK-UP ALARM

SN: 41208-41828

1шт.

1

113-04-41310

TANK,BACK-UP ALARM

SN: 40001-41207

1шт.

2

07050-20920

CAP ASS'Y

SN: 40001-UP

1шт.

2

07050-20922

GASKET

SN: 40001-UP

1шт.

3

07056-16415

STRAINER

SN: 40001-UP

1шт.

4

07057-03266

RING

SN: 40001-UP

1шт.

5

113-04-41120

GAUGE

SN: 40001-UP

1шт.

6

01010-51440

BOLT

SN: 40001-UP

4шт.

7

01643-31445

WASHER

SN: 40001-UP

4шт.

8

113-54-43230

PLATE

SN: 40001-UP

1шт.

9

01010-51020

BOLT

SN: 40001-UP

4шт.

10

01643-31032

WASHER

SN: 40001-UP

4шт.

11

07288-01018

HOSE

SN: 40001-UP

1шт.

12

07288-01023

HOSE

SN: 40001-UP

1шт.

12

07288-01022

HOSE,(WITH WATER SEPARATOR)

SN: 40001-UP

1шт.

12A

08034-00519

BAND,(WITH WATER SEPARATOR)

SN: 40001-UP

2шт.

13

07281-00197

CLAMP

SN: 40001-UP

4шт.

14

08036-03014

CLIP

SN: 40001-UP

3шт.

15

01010-51020

BOLT

SN: 40001-UP

3шт.

16

01602-21030

WASHER,SPRING

SN: 40001-UP

3шт.

17

08036-02514

CLIP

SN: 40001-UP

1шт.

18

08035-03008

CLIP

SN: 40001-UP

1шт.

19

01010-51025

BOLT

SN: 40001-UP

1шт.

20

01602-21030

WASHER,SPRING

SN: 40001-UP

1шт.

21

20D-68-11670

ELBOW

SN: 40340-UP

1шт.

21

113-04-32120

ELBOW

SN: 40001-40339

1шт.

22

07700-40240

VALVE

SN: 40001-UP

1шт.

23

113-04-22150

NIPPLE

SN: 40001-UP

1шт.

24

07270-01265

TUBE

SN: 40001-UP

1шт.

25

07285-00150

CLIP

SN: 40001-UP

1шт.

26

07049-01012

PLUG

SN: 41208-UP

6шт.

26

07049-01012

PLUG

SN: 40001-41207

4шт.

27

08034-00414

BAND

SN: 40001-UP

1шт.

28

07091-10920

CAP,(LOCK TYPE)

SN: 40001-UP

1шт.

28

07050-20922

GASKET,(LOCK TYPE)

SN: 40001-UP

1шт.

Выбрано товаров: 40