Запчасти Komatsu D31P-18 РУЛЕВ. УПРАВЛЕНИЕ МЕХ-М УПРАВЛ-Я (/) СИСТЕМА УПРАВЛЕНИЯ

Схема запчастей Komatsu D31P-18 - РУЛЕВ. УПРАВЛЕНИЕ МЕХ-М УПРАВЛ-Я (/) СИСТЕМА УПРАВЛЕНИЯ
FIT
1:1
100%

Артикул

Название

Примечание

Количество

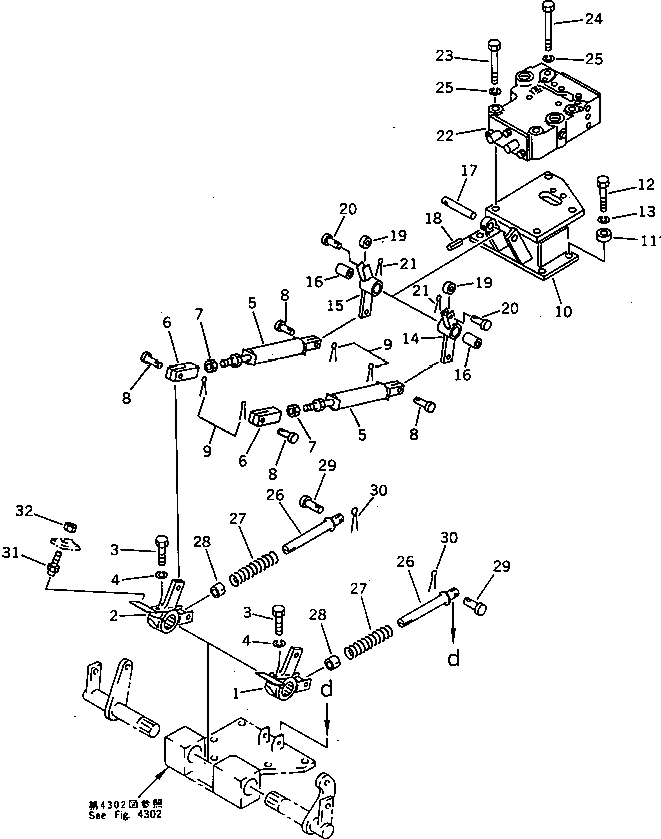
1

113-43-41280

LEVER

SN: 40001-UP

1шт.

2

113-43-41290

LEVER

SN: 40001-UP

1шт.

3

01010-51245

BOLT

SN: 40001-UP

2шт.

4

01602-21236

WASHER,SPRING

SN: 40001-UP

2шт.

5

114-43-48560

SPRING,LOOSE

SN: 41408-UP

2шт.

5

113-43-41561

SPRING,LOOSE

SN: 40746-41407

2шт.

5

113-43-41560

SPRING,LOOSE

SN: 40001-40745

2шт.

6

04211-20844

YOKE

SN: 40001-UP

2шт.

7

01580-10806

NUT

SN: 40001-UP

2шт.

8

04205-10822

PIN

SN: 40001-UP

4шт.

9

04050-12015

PIN,COTTER

SN: 40001-UP

4шт.

10

113-40-43180

BRACKET

SN: 40001-UP

1шт.

11

103-21-31260

BOSS

SN: 40746-UP

4шт.

11

581-95-19870

BOSS

SN: 40001-40745

4шт.

12

01010-51055

BOLT

SN: 40746-UP

4шт.

12

01010-51045

BOLT

SN: 40001-40745

4шт.

13

01602-21030

WASHER,SPRING

SN: 40001-UP

4шт.

|$17

113-43-01090

LEVER ASS'Y,L.H.

SN: 40001-UP

1шт.

|$18

113-43-01100

LEVER ASS'Y,R.H.

SN: 40001-UP

1шт.

14

0

LEVER,L.H.

SN: 40001-UP

1шт.

15

0

LEVER,R.H.

SN: 40001-UP

1шт.

16

09350-01420

BUSHING

SN: 40001-UP

1шт.

17

113-43-41630

PIN

SN: 40001-UP

1шт.

18

04025-00324

PIN,SPRING

SN: 40001-UP

1шт.

19

103-43-21380

ROLLER

SN: 40001-UP

2шт.

20

04205-10622

PIN

SN: 40001-UP

2шт.

21

04050-11612

PIN,COTTER

SN: 40001-UP

2шт.

22

113-40-00230

VALVE ASS'Y,STEERING (SEE FIG.4501)

SN: 40001-UP

1шт.

23

01010-51270

BOLT

SN: 40001-UP

3шт.

24

01010-51280

BOLT

SN: 40001-UP

1шт.

25

01602-21236

WASHER,SPRING

SN: 40001-UP

4шт.

26

113-43-41510

SHAFT

SN: 40001-UP

2шт.

27

286-13-16720

SPRING

SN: 40001-UP

2шт.

28

113-43-31381

GUIDE

SN: 40001-UP

2шт.

29

04205-10622

PIN

SN: 40001-UP

2шт.

30

04050-11612

PIN,COTTER

SN: 40001-UP

2шт.

31

09311-41237

BUMPER

SN: 40001-UP

2шт.

32

01580-11210

NUT

SN: 40001-UP

2шт.

Выбрано товаров: 38