Запчасти Komatsu D31P-18A ЗАЩИТА РАДИАТОРА AND КАПОТ ЧАСТИ КОРПУСА

Схема запчастей Komatsu D31P-18A - ЗАЩИТА РАДИАТОРА AND КАПОТ ЧАСТИ КОРПУСА
FIT
1:1
100%

Артикул

Название

Примечание

Количество

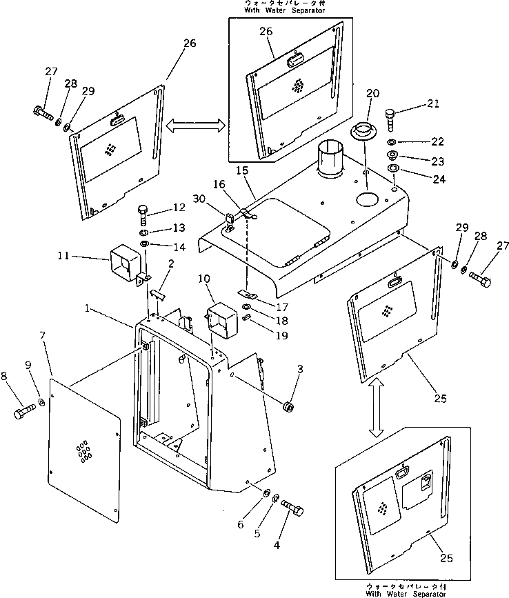
1

113-54-41110

GUARD,RADIATOR

SN: 40001-UP

1шт.

1A

120-54-31220

CATCHER ASS'Y,ENGINE HOOD NOT SHOWN

SN: 40001-UP

2шт.

2

201-54-22971

SEAT

SN: 40001-UP

2шт.

3

135-06-34260

GROMMET

SN: 40001-UP

2шт.

4

01010-51435

BOLT

SN: 40001-UP

8шт.

5

01602-21442

WASHER,SPRING

SN: 40001-UP

8шт.

6

01643-31445

WASHER

SN: 40001-UP

8шт.

7

113-54-41151

GRILLE

SN: 41833-UP

1шт.

7

113-54-41150

GRILLE

SN: 40001-41832

1шт.

8

01010-51430

BOLT

SN: 40001-UP

4шт.

9

01643-31445

WASHER

SN: 40001-UP

4шт.

10

104-54-31120

COVER,L.H.

SN: 40001-UP

1шт.

11

104-54-31130

COVER,R.H.

SN: 40001-UP

1шт.

12

01010-51025

BOLT

SN: 40001-UP

4шт.

13

01602-21030

WASHER,SPRING

SN: 40001-UP

4шт.

14

01643-31032

WASHER

SN: 40001-UP

4шт.

15

113-54-41120

HOOD

SN: 40001-UP

1шт.

16

135-54-31290

HANDLE

SN: 40001-UP

1шт.

17

135-54-31310

STOPPER

SN: 40001-UP

1шт.

18

01643-31032

WASHER

SN: 40001-UP

1шт.

19

04025-00316

PIN

SN: 40001-UP

1шт.

20

114-54-42160

COVER

SN: 40001-UP

1шт.

21

01010-51435

BOLT

SN: 40001-UP

3шт.

22

01643-31445

WASHER

SN: 40001-UP

3шт.

23

113-54-41340

COLLAR

SN: 40001-UP

3шт.

24

113-54-31351

SEAT

SN: 40184-UP

3шт.

24

0

SEAT

SN: 40001-40183

3шт.

25

113-54-41370

COVER,L.H.

SN: 40001-UP

1шт.

25

113-54-41470

COVER,L.H. (WITH WATER SEPARATOR)

SN: 40001-UP

1шт.

26

113-54-41380

COVER,R.H.

SN: 40001-UP

1шт.

26

113-54-49530

COVER,R.H. (WITH WATER SEPARATOR)

SN: 40001-UP

1шт.

27

01010-51025

BOLT

SN: 40001-UP

10шт.

28

01643-31032

WASHER

SN: 40771-UP

10шт.

28

01602-21030

WASHER,SPRING

SN: 40001-40770

10шт.

29

01643-31232

WASHER

SN: 40771-UP

10шт.

29

01643-31032

WASHER

SN: 40001-40770

10шт.

30

09460-00004

LOCK

SN: 40001-UP

1шт.

Выбрано товаров: 37