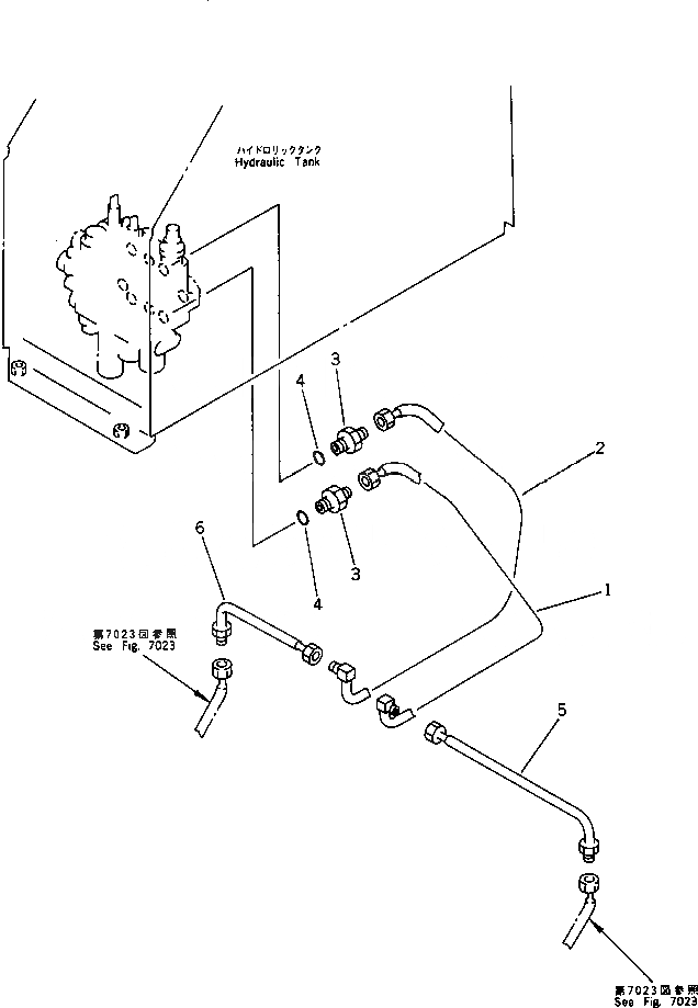
Запчасти Komatsu D31P-18A ГИДРОЛИНИЯ (ЦИЛИНДР НАКЛОНА ЛИНИЯ) (ШАССИ) УПРАВЛ-Е РАБОЧИМ ОБОРУДОВАНИЕМ

Схема запчастей Komatsu D31P-18A - ГИДРОЛИНИЯ (ЦИЛИНДР НАКЛОНА ЛИНИЯ) (ШАССИ) УПРАВЛ-Е РАБОЧИМ ОБОРУДОВАНИЕМ
FIT
1:1
100%

Артикул

Название

Примечание

Количество

1

114-62-45120

TUBE

SN: 40001-UP

1шт.

2

114-62-45210

TUBE

SN: 40112-UP

1шт.

2

114-62-45110

TUBE

SN: 40001-40111

1шт.

3

114-62-23110

NIPPLE

SN: 40001-UP

2шт.

4

07002-12434

O-RING

SN: 40001-UP

2шт.

5

114-62-45140

TUBE

SN: 40001-UP

1шт.

6

114-62-45130

TUBE

SN: 40001-UP

1шт.

Выбрано товаров: 7