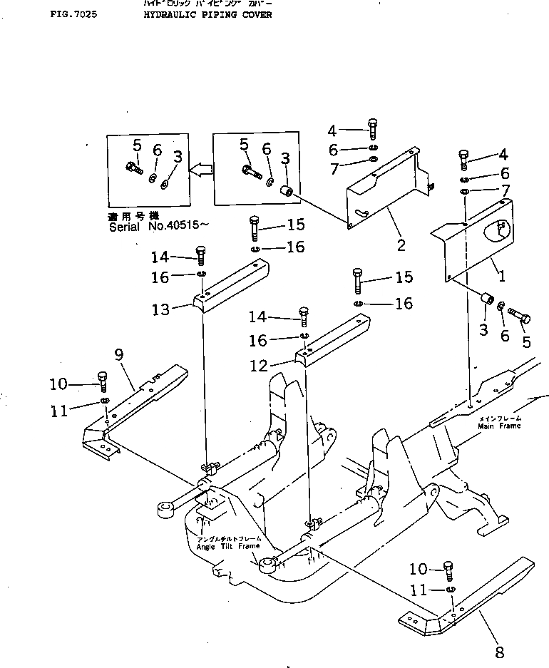
Запчасти Komatsu D31P-18A ГИДРОЛИНИЯ COVER РАБОЧЕЕ ОБОРУДОВАНИЕ

Схема запчастей Komatsu D31P-18A - ГИДРОЛИНИЯ COVER РАБОЧЕЕ ОБОРУДОВАНИЕ
FIT
1:1
100%

Артикул

Название

Примечание

Количество

G-1

0

PIPING COVER GROUP

SN: 40001-UP

1шт.

|$$2

====================

-1шт.

1

114-62-46140

COVER,L.H.

SN: 40001-UP

1шт.

2

114-62-46150

COVER,R.H.

SN: 40001-UP

1шт.

3

01643-31032

WASHER

SN: 40515-UP

2шт.

3

103-21-31260

BOSS

SN: 40001-40514

2шт.

4

01010-51025

BOLT

SN: 40001-UP

6шт.

5

01010-51025

BOLT

SN: 40515-UP

2шт.

5

01010-51045

BOLT

SN: 40001-40514

2шт.

6

01602-21030

WASHER,SPRING

SN: 40001-UP

8шт.

7

01643-31032

WASHER

SN: 40001-UP

6шт.

8

114-62-46210

COVER,L.H.

SN: 40001-UP

1шт.

9

114-62-46220

COVER,R.H.

SN: 40001-UP

1шт.

10

01010-51020

BOLT

SN: 40001-UP

7шт.

11

01602-21030

WASHER,SPRING

SN: 40001-UP

7шт.

12

114-62-46230

COVER,L.H.

SN: 40001-UP

1шт.

13

114-62-46240

COVER,R.H.

SN: 40001-UP

1шт.

14

01010-51020

BOLT

SN: 40001-UP

2шт.

15

01010-51055

BOLT

SN: 40001-UP

2шт.

16

01602-21030

WASHER,SPRING

SN: 40001-UP

4шт.

|$$21

====================

-1шт.

Выбрано товаров: 21