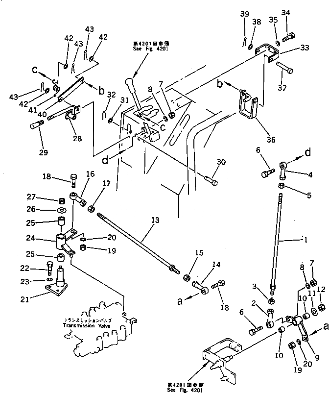
Запчасти Komatsu D31P-18A УПРАВЛ-Е ТРАНСМИССИЕЙ МЕХАНИЗМ СИСТЕМА УПРАВЛЕНИЯ

Схема запчастей Komatsu D31P-18A - УПРАВЛ-Е ТРАНСМИССИЕЙ МЕХАНИЗМ СИСТЕМА УПРАВЛЕНИЯ
FIT
1:1
100%

Артикул

Название

Примечание

Количество

1

04248-30845

ROD

SN: 40001-UP

1шт.

2

04250-80847

END,ROD

SN: 40001-UP

1шт.

3

01580-10806

NUT

SN: 40001-UP

1шт.

4

04250-90847

END,L.H. THREAD

SN: 40001-UP

1шт.

5

01508-40805

NUT,L.H. THREAD

SN: 40001-UP

1шт.

6

01010-50830

BOLT

SN: 40001-UP

2шт.

7

01580-10806

NUT

SN: 40001-UP

2шт.

8

01602-20825

WASHER,SPRING

SN: 40001-UP

2шт.

|$8

113-43-01020

LEVER ASS'Y

SN: 40001-UP

1шт.

9

0

LEVER

SN: 40001-UP

1шт.

10

09350-01415

BUSHING

SN: 40001-UP

2шт.

11

113-43-23230

WASHER

SN: 40001-UP

1шт.

12

01598-00809

NUT

SN: 40001-UP

1шт.

13

04248-30849

ROD

SN: 40001-UP

1шт.

14

04250-80847

END,ROD

SN: 40001-UP

1шт.

15

01580-10806

NUT

SN: 40001-UP

1шт.

16

04250-90847

END,ROD, L.H. THREAD

SN: 40001-UP

1шт.

17

01508-40805

NUT,L.H. THREAD

SN: 41142-UP

1шт.

17

01508-20805

NUT,L.H. THREAD

SN: 40001-41141

1шт.

18

01010-50830

BOLT

SN: 40001-UP

2шт.

19

01580-10806

NUT

SN: 40001-UP

2шт.

20

01602-20825

WASHER,SPRING

SN: 40001-UP

2шт.

21

113-43-34120

SHAFT

SN: 40001-UP

1шт.

22

01010-51025

BOLT

SN: 40001-UP

2шт.

23

01602-21030

WASHER,SPRING

SN: 40001-UP

2шт.

|$25

113-43-00681

LEVER ASS'Y

SN: 40001-UP

1шт.

24

0

LEVER

SN: 40001-UP

1шт.

25

09350-01420

BUSHING

SN: 40001-UP

2шт.

26

113-43-23230

WASHER

SN: 40001-UP

1шт.

27

01598-00809

NUT

SN: 40001-UP

1шт.

28

103-43-34210

LEVER

SN: 40001-UP

1шт.

29

09305-00800

KNOB

SN: 40001-UP

1шт.

30

04205-11445

PIN

SN: 40001-UP

1шт.

31

01641-21423

WASHER

SN: 40001-UP

1шт.

32

04052-01453

PIN,SNAP

SN: 40001-UP

1шт.

33

103-43-24250

PLATE

SN: 40001-UP

1шт.

34

01010-51020

BOLT

SN: 40001-UP

2шт.

35

01602-21030

WASHER,SPRING

SN: 40001-UP

2шт.

36

103-43-34230

LEVER

SN: 40001-UP

1шт.

37

113-43-23340

PIN

SN: 40001-UP

1шт.

38

01641-21016

WASHER

SN: 40001-UP

1шт.

39

04050-13015

PIN,COTTER

SN: 40001-UP

1шт.

40

113-43-23330

LINK

SN: 40001-UP

1шт.

41

09463-00002

SPRING

SN: 40001-UP

1шт.

42

01641-20608

WASHER

SN: 40001-UP

3шт.

43

04050-11610

PIN,COTTER

SN: 40001-UP

3шт.

Выбрано товаров: 46