Запчасти Komatsu D31P-20 ГИДРОЦИЛИНДР ПОДЪЕМА (ДЛЯ TОБОД КОЛЕСАMING DOZER) ОСНОВН. КОМПОНЕНТЫ И РЕМКОМПЛЕКТЫ

Схема запчастей Komatsu D31P-20 - ГИДРОЦИЛИНДР ПОДЪЕМА (ДЛЯ TОБОД КОЛЕСАMING DOZER) ОСНОВН. КОМПОНЕНТЫ И РЕМКОМПЛЕКТЫ
FIT
1:1
100%

Артикул

Название

Примечание

Количество

G-1

0

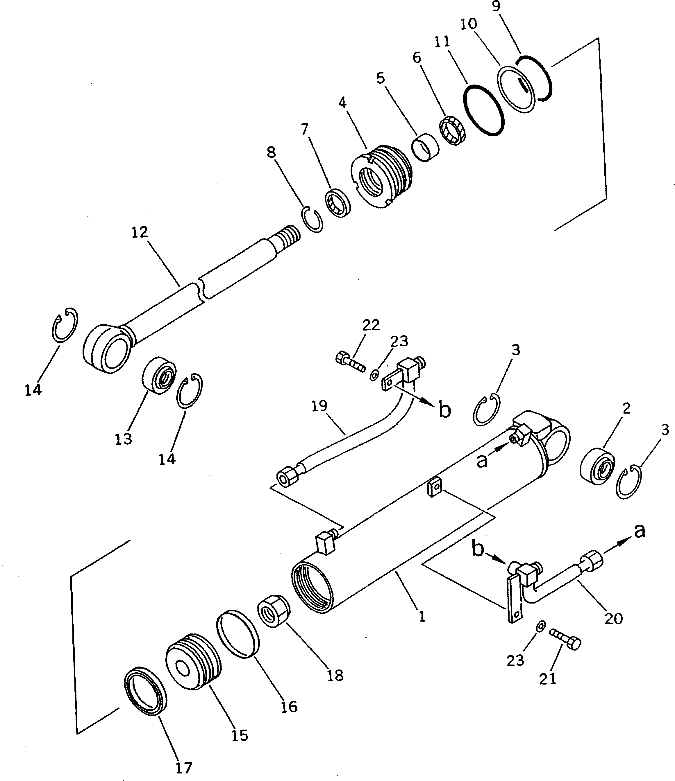
CYLINDER GROUP,LIFT

SN: 45001-UP

1шт.

|$$2

====================

-1шт.

|$2

114-63-02071

CYLINDER ASS'Y

SN: 45001-UP

2шт.

1

114-63-70342

CYLINDER

SN: 45001-UP

1шт.

2

114-63-55170

BUSHING

SN: 45001-UP

1шт.

3

04065-06220

RING,SNAP

SN: 45001-UP

2шт.

4

707-29-90910

HEAD,CYLINDER

SN: 45001-UP

1шт.

5

07177-04025

BUSHING

SN: 45001-UP

1шт.

6

707-51-40210

PACKING,ROD

SN: 45001-UP

1шт.

7

198-63-75190

SEAL,DUST

SN: 45001-UP

1шт.

8

07179-12052

RING,SNAP

SN: 45001-UP

1шт.

9

07000-12085

O-RING

SN: 45001-UP

1шт.

10

07001-02085

RING,BACK-UP

SN: 45001-UP

1шт.

11

07000-02090

O-RING

SN: 45001-UP

1шт.

12

114-63-70322

ROD,PISTON

SN: 45001-UP

1шт.

13

114-63-55170

BUSHING

SN: 45001-UP

1шт.

14

04065-06220

RING,SNAP

SN: 45001-UP

2шт.

15

707-36-90950

PISTON

SN: 45001-UP

1шт.

16

07156-00912

RING,WEAR

SN: 45001-UP

1шт.

17

707-44-90070

RING,PISTON

SN: 45001-UP

1шт.

18

01580-03024

NUT

SN: 45001-UP

1шт.

19

114-63-70381

TUBE

SN: 45001-UP

1шт.

20

114-63-70390

TUBE

SN: 45001-UP

1шт.

21

01010-51025

BOLT

SN: 45001-UP

1шт.

22

01010-51020

BOLT

SN: 45001-UP

1шт.

23

01643-31032

WASHER

SN: 45001-UP

2шт.

Выбрано товаров: 26