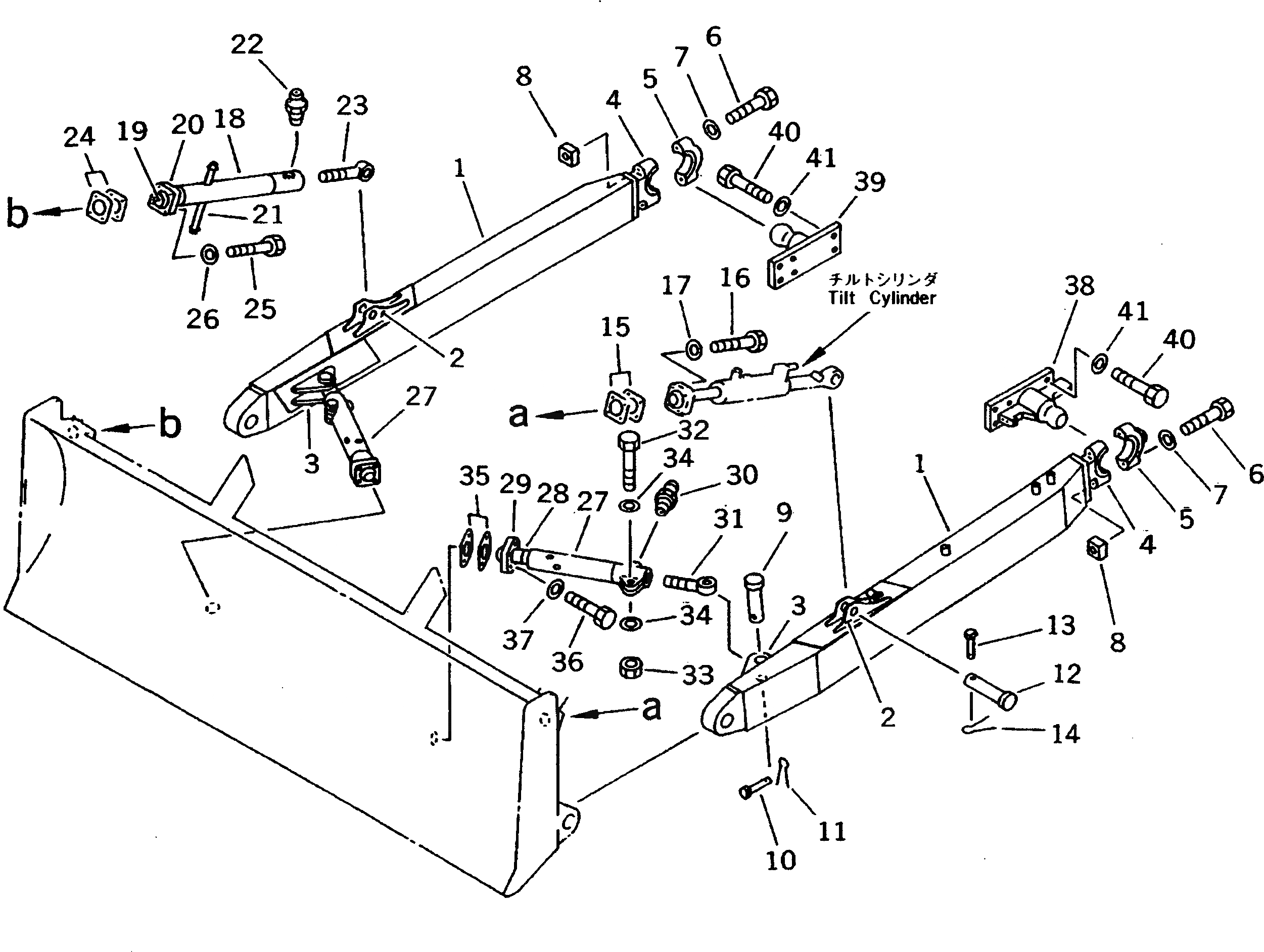
Запчасти Komatsu D31P-20 НАКЛОН. РАМА РАБОЧЕЕ ОБОРУДОВАНИЕ

Схема запчастей Komatsu D31P-20 - НАКЛОН. РАМА РАБОЧЕЕ ОБОРУДОВАНИЕ
FIT
1:1
100%

Артикул

Название

Примечание

Количество

|$1

11G-71-00210

FRAME ASS'Y,L.H.

SN: 45001-UP

1шт.

|$2

11G-71-00220

FRAME ASS'Y,R.H.

SN: 45001-UP

1шт.

1

0

FRAME ASS'Y,L.H.

SN: 45001-UP

1шт.

1

0

FRAME ASS'Y,R.H.

SN: 45001-UP

1шт.

2

11G-71-31220

BRACKET,L.H. (WELDED)

SN: 45001-UP

1шт.

2

11G-71-31310

BRACKET,R.H. (WELDED)

SN: 45001-UP

1шт.

3

11G-71-31230

BRACKET (WELDED)

SN: 45001-UP

1шт.

4

0

PIVOT,(WELDED) (KIT)

SN: 45001-UP

1шт.

5

11G-71-21340

CAP,L.H. (KIT)

SN: 45001-UP

1шт.

5

130-70-13231

CAP,R.H. (KIT)

SN: 45001-UP

1шт.

6

01011-82445

BOLT (KIT)

SN: 45001-UP

2шт.

7

01643-32460

WASHER (KIT)

SN: 45001-UP

2шт.

8

130-70-13241

NUT (KIT)

SN: 45001-UP

2шт.

9

11G-71-41150

PIN

SN: 45001-UP

3шт.

10

112-71-11210

PIN

SN: 45001-UP

3шт.

11

04050-15030

PIN,COTTER

SN: 45001-UP

3шт.

12

11G-71-41150

PIN

SN: 45001-UP

1шт.

13

112-71-11210

PIN

SN: 45001-UP

1шт.

14

04050-15030

PIN,COTTER

SN: 45001-UP

1шт.

15

112-71-00080

SHIM KIT

SN: 45001-UP

1шт.

15

0

SHIM, 0.5MM

SN: 45001-UP

2шт.

15

0

SHIM, 1.0MM

SN: 45001-UP

4шт.

16

01010-51650

BOLT

SN: 45001-UP

4шт.

17

01643-31645

WASHER

SN: 45001-UP

4шт.

|$25

11G-71-00230

BRACE ASS'Y,TILT

SN: 45001-UP

1шт.

18

11G-71-41160

BRACE

SN: 45001-UP

1шт.

19

11G-71-41120

BALL,STUD (WELDED)

SN: 45001-UP

1шт.

20

112-71-11181

CAP

SN: 45001-UP

1шт.

21

101-71-12250

LEVER

SN: 45001-UP

1шт.

22

07020-00000

FITTING,GREASE

SN: 45001-UP

1шт.

23

11G-71-21730

SCREW

SN: 45001-UP

1шт.

24

112-71-00080

SHIM KIT

SN: 45001-UP

1шт.

24

0

SHIM, 0.5MM

SN: 45001-UP

2шт.

24

0

SHIM, 1.0MM

SN: 45001-UP

4шт.

25

01010-51650

BOLT

SN: 45001-UP

4шт.

26

01643-31645

WASHER

SN: 45001-UP

4шт.

|$37

11G-71-00240

BRACE ASS'Y,CENTER

SN: 45001-UP

2шт.

27

11G-71-41170

BRACE

SN: 45001-UP

1шт.

28

11G-71-41120

BALL,STUD (WELDED)

SN: 45001-UP

1шт.

29

112-71-11181

CAP

SN: 45001-UP

1шт.

30

07020-00000

FITTING,GREASE

SN: 45001-UP

1шт.

31

11G-71-21730

SCREW

SN: 45001-UP

1шт.

32

01010-51480

BOLT

SN: 45001-UP

1шт.

33

01580-11411

NUT

SN: 45001-UP

1шт.

34

01643-31445

WASHER

SN: 45001-UP

2шт.

35

112-71-00080

SHIM KIT

SN: 45001-UP

2шт.

35

0

SHIM, 0.5MM

SN: 45001-UP

2шт.

35

0

SHIM, 1.0MM

SN: 45001-UP

4шт.

36

01010-51650

BOLT

SN: 45001-UP

8шт.

37

01643-31645

WASHER

SN: 45001-UP

8шт.

38

11G-71-31411

TRUNNION,L.H.

SN: 47617-UP

1шт.

38

11G-71-31410

TRUNNION,L.H.

SN: 45001-47616

1шт.

39

11G-71-31421

TRUNNION,R.H.

SN: 44617-UP

1шт.

39

11G-71-31420

TRUNNION,R.H.

SN: 45001-47616

1шт.

40

01010-51650

BOLT

SN: 45001-UP

12шт.

41

01643-31645

WASHER

SN: 45001-UP

12шт.

|$$57

SERVICE KIT

-1шт.

1

11G-71-00020

PIVOT ASS'Y,L.H.

SN: 45001-UP

1шт.

1

112-70-00051

PIVOT ASS'Y,R.H.

SN: 45001-UP

1шт.

4

0

PIVOT

SN: 45001-UP

1шт.

5

11G-71-21340

CAP,L.H.

SN: 45001-UP

1шт.

5

130-70-13231

CAP,R.H.

SN: 45001-UP

1шт.

6

01011-82445

BOLT

SN: 45001-UP

2шт.

7

01643-32460

WASHER

SN: 45001-UP

2шт.

8

130-70-13241

NUT

SN: 45001-UP

2шт.

Выбрано товаров: 0