Запчасти Komatsu D31P-20 ВЕРХН. ЗАЩИТА КАБИНА ОПЕРАТОРА И СИСТЕМА УПРАВЛЕНИЯ

Схема запчастей Komatsu D31P-20 - ВЕРХН. ЗАЩИТА КАБИНА ОПЕРАТОРА И СИСТЕМА УПРАВЛЕНИЯ
FIT
1:1
100%

Артикул

Название

Примечание

Количество

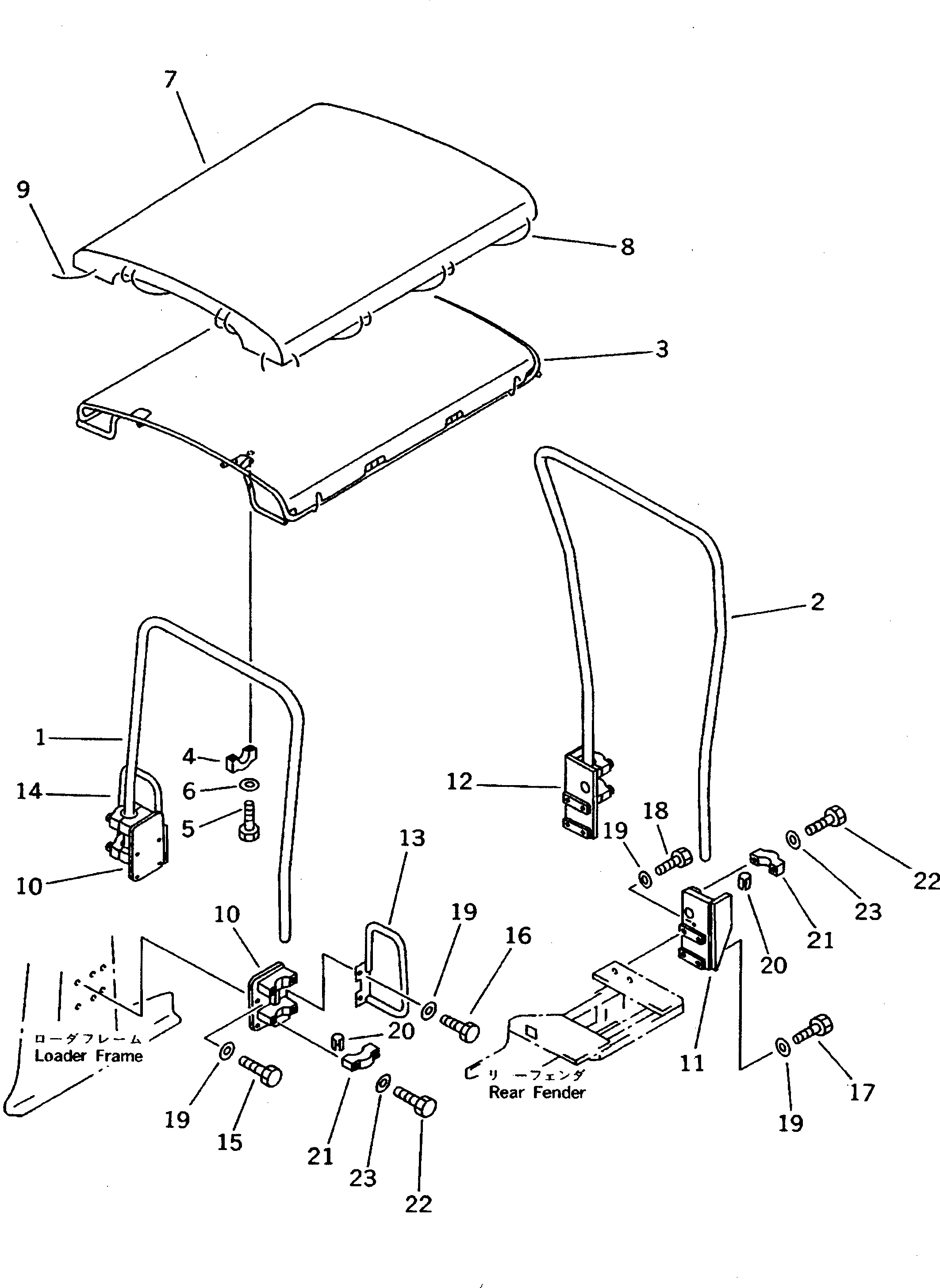
1

114-Z73-1110

POLE,FRONT

SN: 45001-UP

1шт.

2

113-Y73-3210

POLE,REAR

SN: 45001-UP

1шт.

3

113-Z73-1110

ROOF

SN: 45001-UP

1шт.

4

113-Z73-1120

CAP

SN: 45001-UP

4шт.

5

01010-81675

BOLT

SN: 45001-UP

8шт.

6

01643-31645

WASHER

SN: 45001-UP

8шт.

7

101-91-31140

SHEET

SN: 45001-UP

1шт.

8

131-906-1220

ROPE¤ 8.5M,LONG

SN: 45001-UP

1шт.

9

131-906-1230

ROPE¤ 0.7M,SHORT

SN: 45001-UP

2шт.

10

114-X73-2110

BRACKET,FRONT

SN: 45001-UP

2шт.

11

113-X73-2210

BRACKET,REAR¤ L.H.

SN: 45001-UP

1шт.

12

113-X73-2220

BRACKET,REAR¤ R.H.

SN: 45001-UP

1шт.

13

113-54-42210

HANDLE,L.H.

SN: 45001-UP

1шт.

14

113-54-42220

HANDLE,R.H.

SN: 45001-UP

1шт.

15

01010-81660

BOLT

SN: 45001-UP

4шт.

16

01010-81670

BOLT

SN: 45001-UP

4шт.

17

01010-81660

BOLT

SN: 45001-UP

4шт.

18

01010-81660

BOLT

SN: 45001-UP

4шт.

19

01643-31645

WASHER

SN: 45001-UP

16шт.

20

141-973-1250

CUSHION

SN: 45001-UP

8шт.

21

113-Z73-2130

CAP

SN: 45001-UP

8шт.

22

01010-81675

BOLT

SN: 45001-UP

16шт.

23

01643-31645

WASHER

SN: 45001-UP

16шт.

Выбрано товаров: 23