Запчасти Komatsu D31P-20 МАРКИРОВКА (ЯПОН.)(№89-7) МАРКИРОВКА

Схема запчастей Komatsu D31P-20 - МАРКИРОВКА (ЯПОН.)(№89-7) МАРКИРОВКА
FIT
1:1
100%

Артикул

Название

Примечание

Количество

|1

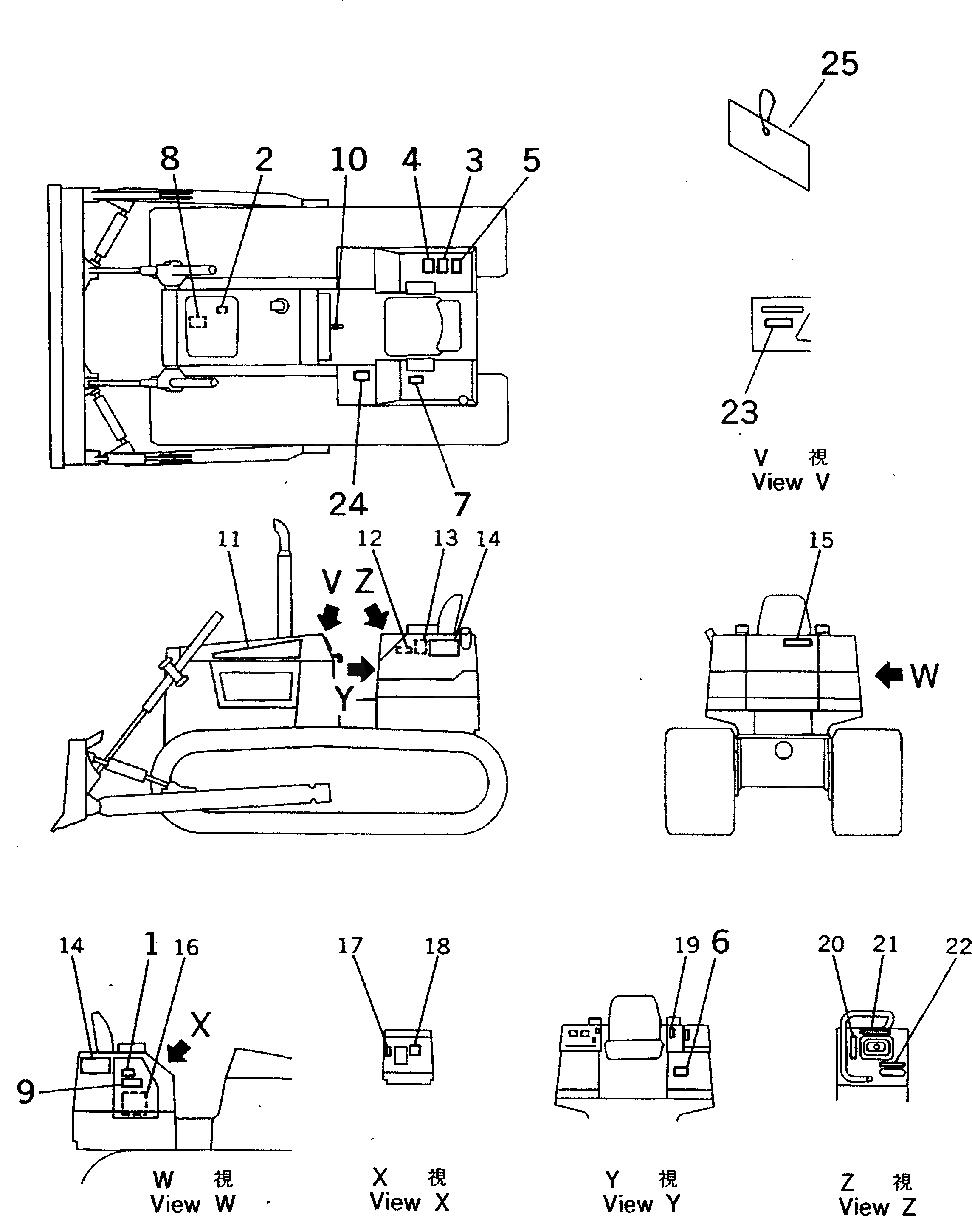
134-98-11210

PLATE KIT

SN: 46895-@

1шт.

1

0

PLATE¤ SAFETY,HYDRAULIC TANK

SN: 46895-@

1шт.

2

0

PLATE¤ SAFETY,RADIATOR WARNING

SN: 46895-@

1шт.

3

0

PLATE¤ CAUTION,BEFORE AND AFTER OPERATION

SN: 46895-@

1шт.

4

0

PLATE¤ SAFETY,BEFORE OPERATING

SN: 46895-@

1шт.

5

0

PLATE¤ CAUTION,SAFETY COMFIRM OF REAR

SN: 46895-@

1шт.

6

14X-98-11161

PLATE¤ SAFETY,ADJUSTING TRACK SHOE

SN: 46895-@

1шт.

7

09652-01101

PLATE¤ CAUTION,FUEL TANK

SN: 46895-@

1шт.

8

09637-01163

PLATE¤ INSTRUCTION,AIR CLEANER

SN: 46895-@

1шт.

9

103-98-21251

PLATE¤ INSTRUCTION,HYDRAULIC TANK

SN: 46895-@

1шт.

10

114-98-44250

PLATE¤ OPERATING,PARKING BRAKE LEVER LOCK

SN: 45001-@

1шт.

11

114-98-44420

PLATE¤ MARK,KOMATSU¤ L.H.

SN: 45001-@

1шт.

|11

114-98-44430

PLATE¤ MARK,KOMATSU¤ R.H.

SN: 45001-@

1шт.

12

09601-00835

PLATE¤ NAME,(LIMITED SUPPLY)

SN: 45001-@

1шт.

|12

04418-13060

SCREW

SN: 45001-@

4шт.

13

11G-98-41950

PLATE¤ DATA

SN: 45001-47616

1шт.

14

11G-98-41971

PLATE¤ MARK,D31P

SN: 45001-@

2шт.

15

09690-C0224

PLATE¤ MARK,KOMATSU

SN: 45001-@

1шт.

16

11G-98-41251

CHART¤ OIL

SN: 45001-47616

1шт.

17

114-98-44250

PLATE¤ OPERATING,BLADE CONTROL LEVER LOCK

SN: 45001-@

1шт.

18

11G-98-41410

PLATE¤ OPERATING,BLADE CONTROL LEVER

SN: 45001-@

1шт.

19

114-98-44250

PLATE¤ OPERATING,T/M CONTROL LEVER LOCK

SN: 45001-@

1шт.

20

114-98-44170

PLATE¤ OPERATING,STEERING CONTROL LEVER

SN: 45001-@

1шт.

21

114-98-44180

PLATE¤ OPERATING,STEERING CONTROL LEVER

SN: 45001-@

1шт.

22

114-98-44220

PLATE¤ OPERATING,GEAR SHIFT CONTROL LEVER

SN: 45001-@

1шт.

23

09661-00082

PLATE¤ INSTRUCTION,(VEHICLE INSPECTION PARTS)

SN: 45001-@

1шт.

24

09679-02002

PLATE¤ OPERATING,(VEHICLE INSPECTION PARTS)

SN: 45001-@

1шт.

25

21X-98-21190

TAG¤ CAUTION,DO NOT OPERATE

SN: 46895-@

1шт.

Выбрано товаров: 28