Запчасти Komatsu D31P-20A КОНДИЦ. ВОЗДУХА (КОНДЕНСАТОР И КРЕПЛЕНИЕ) (/) (ДЛЯ ЯПОН.) КАБИНА ОПЕРАТОРА И СИСТЕМА УПРАВЛЕНИЯ

Схема запчастей Komatsu D31P-20A - КОНДИЦ. ВОЗДУХА (КОНДЕНСАТОР И КРЕПЛЕНИЕ) (/) (ДЛЯ ЯПОН.) КАБИНА ОПЕРАТОРА И СИСТЕМА УПРАВЛЕНИЯ
FIT
1:1
100%

Артикул

Название

Примечание

Количество

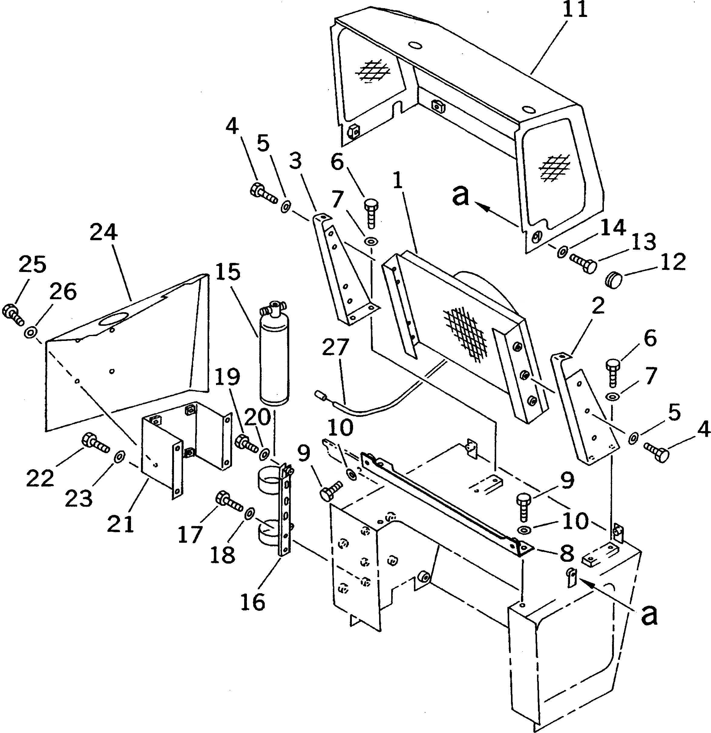
1

114-X11-3632

CONDENSOR ASS'Y

SN: 48821-UP

1шт.

|1

114-X11-3631

CONDENSER,(SEE FIG.K0710-52A0A)

SN: 47617-48820

1шт.

|1

114-X11-3630

CONDENSER,(SEE FIG.K0710-52A0)

SN: 45001-47616

1шт.

2

114-X11-3320

BRACKET

SN: 45001-UP

1шт.

3

114-X11-3310

BRACKET,L.H.

SN: 45001-UP

1шт.

4

01010-80616

BOLT,R.H.

SN: 45001-UP

7шт.

5

01643-30623

WASHER

SN: 45001-UP

7шт.

6

01010-81020

BOLT

SN: 45001-UP

4шт.

7

01643-31032

WASHER

SN: 45001-UP

4шт.

8

114-X11-3270

BRACKET

SN: 45001-UP

1шт.

9

01010-81030

BOLT

SN: 45001-UP

4шт.

10

01643-31032

WASHER

SN: 45001-UP

4шт.

11

114-X11-3292

COVER

SN: 48799-UP

1шт.

|11

114-X11-3291

COVER

SN: 47617-48798

1шт.

|11

114-X11-3290

COVER

SN: 45001-47616

1шт.

12

09415-02512

CAP

SN: 45001-UP

6шт.

13

01010-81020

BOLT

SN: 45001-UP

6шт.

14

01643-31032

WASHER

SN: 45001-UP

6шт.

15

203-979-6610

RECEIVER DRYER

SN: 45001-UP

1шт.

16

114-X11-3650

HOLDER

SN: 45001-UP

1шт.

17

01010-80816

BOLT

SN: 45001-UP

3шт.

18

01643-30823

WASHER

SN: 45001-UP

3шт.

19

01010-80620

BOLT

SN: 45001-UP

2шт.

20

01643-30623

WASHER

SN: 45001-UP

2шт.

21

114-X11-3510

BRACKET

SN: 45001-UP

1шт.

22

01010-81020

BOLT

SN: 45001-UP

4шт.

23

01643-31032

WASHER

SN: 45001-UP

4шт.

24

114-X11-3520

COVER

SN: 45001-UP

1шт.

25

01010-80816

BOLT

SN: 45001-UP

4шт.

26

01643-30823

WASHER

SN: 45001-UP

4шт.

27

114-X11-3721

CABLE

SN: 47617-UP

1шт.

|27

114-X11-3720

CABLE

SN: 45001-47616

1шт.

Выбрано товаров: 32