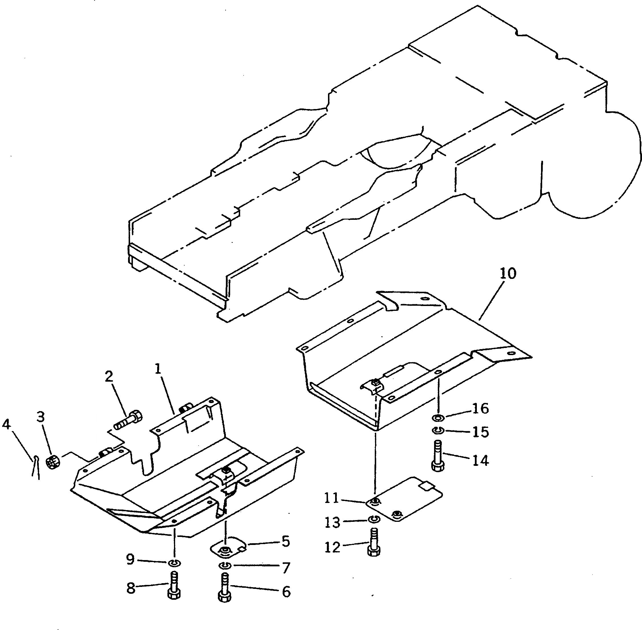
Запчасти Komatsu D31P-20T НИЖН. ЗАЩИТА (ДЛЯ TОБОД КОЛЕСАMING DOZER) ЧАСТИ КОРПУСА

Схема запчастей Komatsu D31P-20T - НИЖН. ЗАЩИТА (ДЛЯ TОБОД КОЛЕСАMING DOZER) ЧАСТИ КОРПУСА
FIT
1:1
100%

Артикул

Название

Примечание

Количество

1

114-54-59180

GUARD,FRONT

SN: 47617-UP

1шт.

1

114-54-49350

GUARD,FRONT

SN: 45001-47616

1шт.

2

01012-81495

BOLT

SN: 45001-UP

2шт.

3

01590-31416

NUT

SN: 45001-UP

2шт.

4

04050-13030

PIN,COTTER

SN: 45001-UP

2шт.

5

114-54-51430

COVER

SN: 47617-UP

1шт.

5

113-54-25120

COVER

SN: 45001-47616

1шт.

6

01010-81025

BOLT

SN: 45001-UP

1шт.

7

01602-21030

WASHER,SPRING

SN: 45001-UP

1шт.

8

01010-81435

BOLT

SN: 45001-UP

8шт.

9

01602-21442

WASHER,SPRING

SN: 45001-UP

8шт.

10

11G-54-45110

GUARD,REAR

SN: 45001-UP

1шт.

11

113-54-25140

COVER

SN: 45001-UP

1шт.

12

01010-81025

BOLT

SN: 45001-UP

2шт.

13

01602-21030

WASHER,SPRING

SN: 45001-UP

2шт.

14

01010-81435

BOLT

SN: 45001-UP

6шт.

15

01602-21442

WASHER,SPRING

SN: 45001-UP

6шт.

16

01643-31445

WASHER

SN: 45001-UP

6шт.

Выбрано товаров: 0