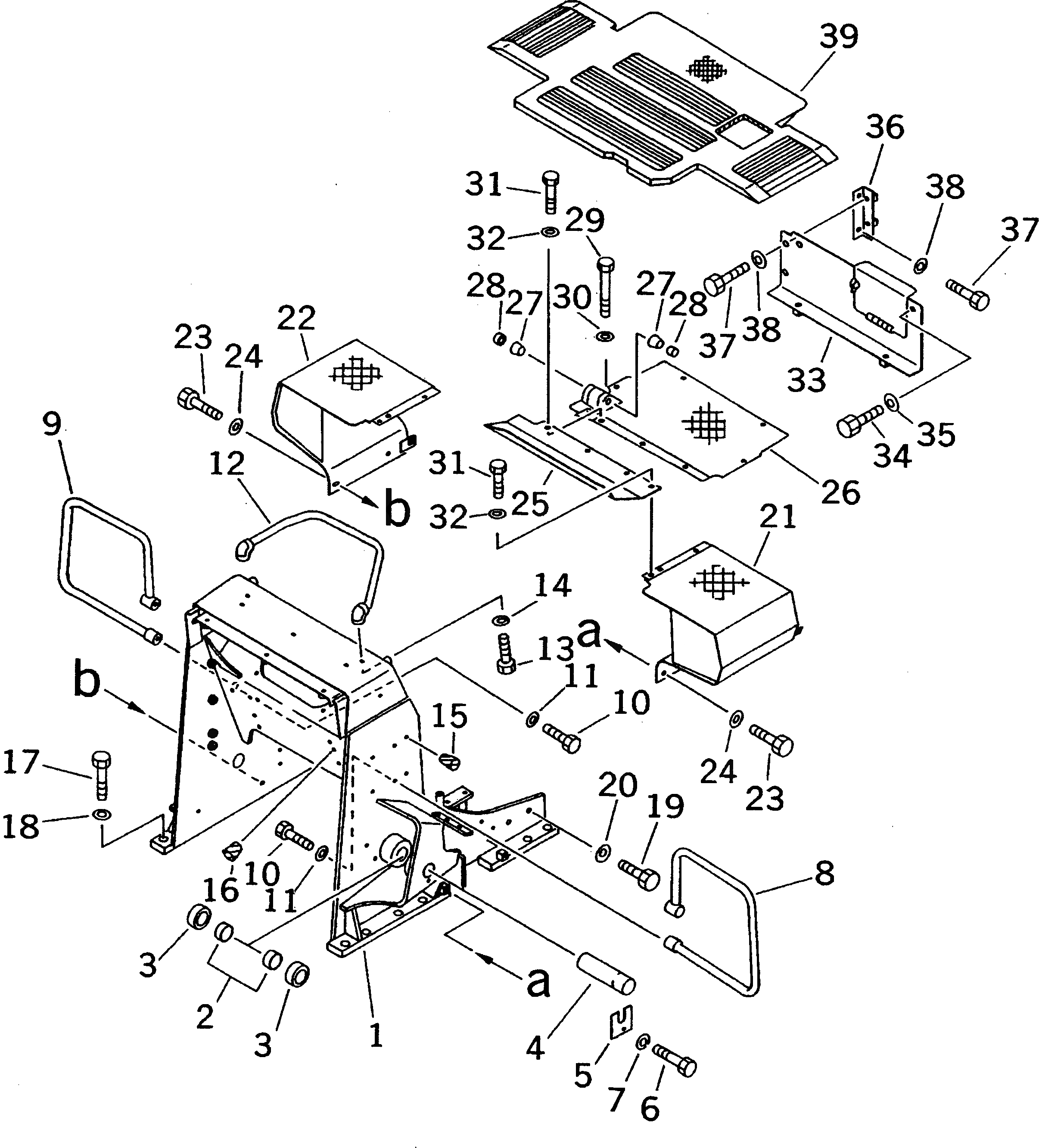
Запчасти Komatsu D31PG-20A ПОГРУЗ. РАМА И ПОЛ КАБИНЫ (С ПЕДАЛЬ ЗАМЕДЛИТЕЛЯ ОБОРОТОВ И АКСЕЛЕРАТОР ПОДУШКАAL) КАБИНА ОПЕРАТОРА И СИСТЕМА УПРАВЛЕНИЯ

Схема запчастей Komatsu D31PG-20A - ПОГРУЗ. РАМА И ПОЛ КАБИНЫ (С ПЕДАЛЬ ЗАМЕДЛИТЕЛЯ ОБОРОТОВ И АКСЕЛЕРАТОР ПОДУШКАAL) КАБИНА ОПЕРАТОРА И СИСТЕМА УПРАВЛЕНИЯ
FIT
1:1
100%

Артикул

Название

Примечание

Количество

1

114-54-51410

FRAME,LOADER

SN: 47617-UP

1шт.

|1

114-54-42340

FRAME,LOADER

SN: 45001-47616

1шт.

2

114-72-21940

COLLAR

SN: 45001-UP

4шт.

3

114-72-21960

BUSHING

SN: 45001-UP

4шт.

4

114-72-43320

PIN

SN: 45001-UP

2шт.

5

114-72-21860

LOCK

SN: 45001-UP

2шт.

6

01010-81030

BOLT

SN: 45001-UP

2шт.

7

01602-21030

WASHER,SPRING

SN: 45001-UP

2шт.

8

114-54-42171

HANDLE,L.H.

SN: 47617-UP

1шт.

|8

114-54-42170

HANDLE,L.H.

SN: 45001-47616

1шт.

9

114-54-42171

HANDLE,R.H.

SN: 47617-UP

1шт.

|9

114-54-42170

HANDLE,R.H.

SN: 45001-47616

1шт.

10

01010-81245

BOLT

SN: 45001-UP

4шт.

11

01643-31232

WASHER

SN: 45001-UP

4шт.

12

104-54-31311

HANDLE

SN: 47617-UP

1шт.

|12

114-54-42230

HANDLE

SN: 45001-47616

1шт.

13

01010-81020

BOLT

SN: 45001-UP

2шт.

14

01643-31032

WASHER

SN: 45001-UP

2шт.

15

07049-01620

PLUG

SN: 45001-UP

8шт.

16

07049-01012

PLUG

SN: 45001-UP

3шт.

17

01010-82060

BOLT

SN: 45001-UP

12шт.

18

01643-32060

WASHER

SN: 45001-UP

12шт.

19

01010-81640

BOLT

SN: 45001-UP

4шт.

20

01643-31645

WASHER

SN: 45001-UP

4шт.

21

114-54-44140

FENDER,L.H.

SN: 45001-UP

1шт.

22

114-54-44150

FENDER,R.H.

SN: 45001-UP

1шт.

23

01010-81025

BOLT

SN: 45001-UP

4шт.

24

01643-31032

WASHER

SN: 45001-UP

4шт.

25

113-54-43220

FLOOR,FRONT

SN: 45001-UP

1шт.

26

113-54-43210

FLOOR,REAR

SN: 45001-UP

1шт.

27

06120-01612

BEARING,NEEDLE

SN: 45001-UP

2шт.

28

06122-01603

SEAL

SN: 45001-UP

4шт.

29

01010-81030

BOLT

SN: 45001-UP

2шт.

30

01643-31032

WASHER

SN: 45001-UP

2шт.

31

01010-81025

BOLT

SN: 45001-UP

9шт.

32

01643-31032

WASHER

SN: 45001-UP

9шт.

33

113-54-44110

COVER

SN: 45001-UP

1шт.

|33

113-54-44510

COVER,FOR OIL DAMPER SEAT

SN: 45001-UP

1шт.

34

01010-81020

BOLT

SN: 45001-UP

2шт.

|34

01010-81025

BOLT,FOR OIL DAMPER SEAT

SN: 45001-UP

2шт.

35

01643-31032

WASHER

SN: 45001-UP

2шт.

|35

01602-21030

WASHER,FOR OIL DAMPER SEAT

SN: 45001-UP

2шт.

36

114-54-43250

BRACKET

SN: 45001-UP

1шт.

37

01010-81025

BOLT

SN: 45001-UP

4шт.

38

01643-31032

WASHER

SN: 45001-UP

4шт.

39

114-54-43121

MAT

SN: 45001-UP

1шт.

Выбрано товаров: 0