Запчасти Komatsu D31PL-16 ГИДРАВЛ УПРАВЛЯЮЩ. КЛАПАН (/) УПРАВЛ-Е РАБОЧИМ ОБОРУДОВАНИЕМ

Схема запчастей Komatsu D31PL-16 - ГИДРАВЛ УПРАВЛЯЮЩ. КЛАПАН (/) УПРАВЛ-Е РАБОЧИМ ОБОРУДОВАНИЕМ
FIT
1:1
100%

Артикул

Название

Примечание

Количество

|$0

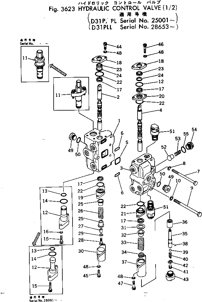
700-82-12001

VALVE ASS'Y

SN: .-UP

1шт.

|$1

0

VALVE ASS'Y

SN: 25001-.

1шт.

1

0

BODY

SN: .-UP

1шт.

1

0

BODY

SN: 28001-.

1шт.

1

0

BODY

SN: 25001-28000

1шт.

2

0

SPOOL

SN: 25001-UP

1шт.

3

0

COVER

SN: 28001-UP

1шт.

3

0

COVER

SN: 25001-28000

1шт.

4

0

SPOOL

SN: 25001-UP

1шт.

5

07000-13050

O-RING

SN: 25001-UP

1шт.

6

07000-03030

O-RING

SN: 25001-UP

2шт.

7

700-82-11212

BOLT

SN: .-UP

2шт.

7

700-82-11211

BOLT

SN: 25001-.

2шт.

7

0

BOLT

SN: (25001-28000)

2шт.

8

01602-01030

WASHER

SN: 25001-.

2шт.

9

700-82-11222

BOLT

SN: .-UP

1шт.

9

700-82-11221

BOLT

SN: 25001-.

1шт.

9

0

BOLT

SN: (25001-28000)

1шт.

10

01602-01236

WASHER

SN: 25001-.

1шт.

11

700-82-56000

RELIEF VALVE ASS'Y,(SEE FIG.3624A)

SN: .-UP

1шт.

11

700-80-56000

VALVE ASS'Y,(SEE FIG.3624A)

SN: 25001-.

1шт.

11

0

VALVE ASS'Y,(SEE FIG.3624)

SN: (25001-28000)

1шт.

12

700-84-11940

PLUG

SN: 28001-UP

1шт.

12

0

PLUG

SN: 25001-28000

1шт.

13

700-13-31161

O-RING

SN: 25001-.

1шт.

14

07000-03032

O-RING

SN: 25001-.

1шт.

15

01252-41040

BOLT

SN: 25001-.

2шт.

16

01602-21030

WASHER

SN: 25001-28000

2шт.

17

700-84-11232

PACKING

SN: .-UP

4шт.

17

700-84-11231

U-PACKING

SN: 25001-.

4шт.

17

0

U-PACKING

SN: (25001-28000)

4шт.

18

700-84-11310

PLATE

SN: 25001-UP

2шт.

19

700-84-11620

PLATE

SN: 25001-UP

1шт.

20

700-82-11250

PLATE

SN: 25001-UP

1шт.

21

700-82-11260

PLATE

SN: 25001-UP

1шт.

22

700-84-11240

O-RING

SN: 25001-UP

5шт.

23

700-84-11820

SEAL

SN: 25001-UP

2шт.

24

700-84-11290

COLLAR

SN: 25001-UP

2шт.

25

700-84-11630

RETAINER

SN: 25001-UP

2шт.

26

700-84-11650

SPRING

SN: 25001-UP

1шт.

27

700-84-11640

COLLAR

SN: 25001-UP

1шт.

28

01252-40830

BOLT

SN: 25001-UP

1шт.

29

01643-30823

WASHER

SN: 25001-UP

1шт.

30

700-84-11390

COVER

SN: 25001-UP

1шт.

31

700-82-11270

SPACER

SN: 25001-UP

1шт.

32

700-82-11280

RETAINER

SN: 25001-UP

1шт.

33

700-84-11770

SPRING

SN: 25001-UP

1шт.

34

700-82-11290

RETAINER

SN: 25001-UP

1шт.

35

700-82-11330

PLUG

SN: 25001-UP

1шт.

36

700-82-11320

PLUG

SN: 25001-UP

1шт.

37

700-82-11310

CASE

SN: 25001-UP

1шт.

38

700-84-11730

BALL

SN: 25001-UP

3шт.

39

700-82-11340

BALL

SN: 25001-UP

1шт.

40

700-82-11380

SPRING

SN: 25001-UP

1шт.

41

700-82-11350

SCREW

SN: 25001-UP

1шт.

42

700-82-11360

NUT

SN: 25001-UP

1шт.

43

700-82-11370

PLUG

SN: 25001-UP

1шт.

44

01252-40620

BOLT

SN: 25001-UP

2шт.

45

01252-40625

BOLT

SN: 25001-UP

2шт.

46

01252-40625

BOLT

SN: 28001-UP

2шт.

46

01252-40630

BOLT

SN: 25001-28000

2шт.

47

01252-40630

BOLT

SN: 25001-UP

2шт.

48

01602-20619

WASHER

SN: 25001-28000

8шт.

49

700-22-11370

PLUG

SN: 28001-UP

2шт.

49

07040-12412

PLUG

SN: 25001-28000

2шт.

50

07002-12434

O-RING

SN: 25001-UP

2шт.

51

700-80-87000

VALVE ASS'Y,(SEE FIG.3624A)

SN: 28001-UP

2шт.

51

0

VALVE ASS'Y,(SEE FIG.3624)

SN: 25001-28000

2шт.

52

700-42-31460

VALVE

SN: 25001-UP

2шт.

53

700-42-31470

SPRING

SN: 25001-UP

2шт.

54

700-84-11320

PLUG

SN: 25001-UP

2шт.

55

07002-13034

O-RING

SN: 25001-UP

2шт.

Выбрано товаров: 72