Запчасти Komatsu D31PL-16 ПРУЖИНА ГУСЕНИЦЫ

Схема запчастей Komatsu D31PL-16 - ПРУЖИНА ГУСЕНИЦЫ
FIT
1:1
100%

Артикул

Название

Примечание

Количество

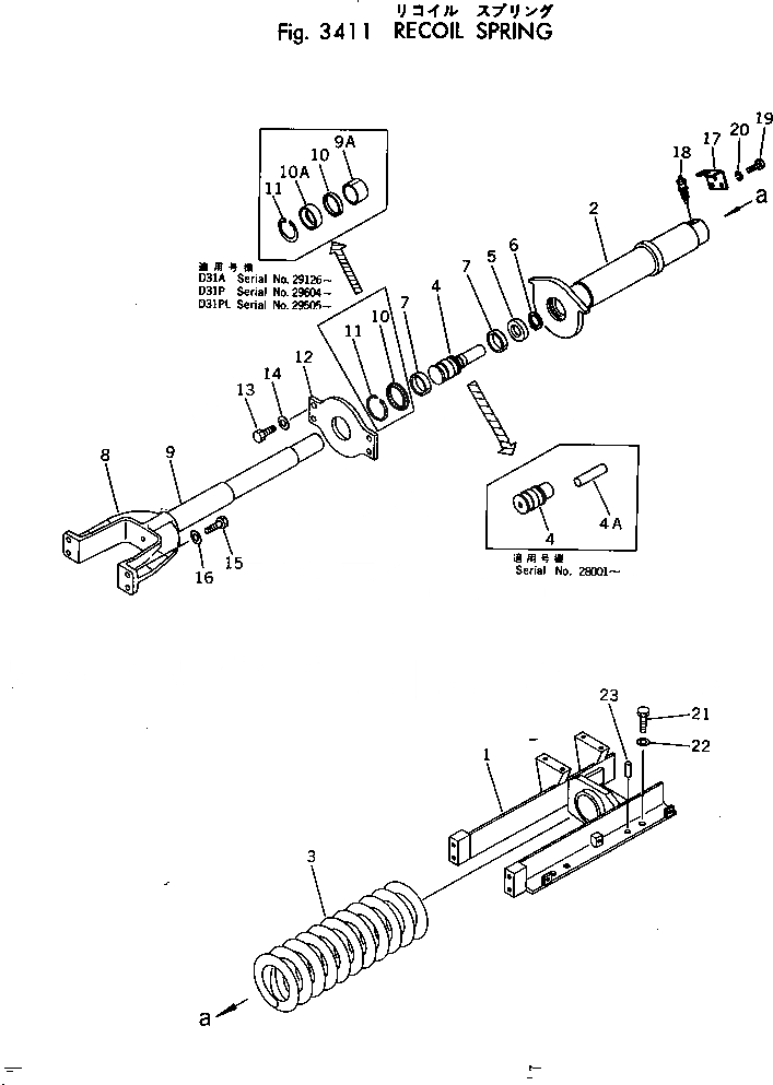
1

113-30-24210

BRACKET,L.H. (P¤PL)

SN: 25001-UP

1шт.

|1

113-30-24220

BRACKET,R.H. (P¤PL)

SN: 25001-UP

1шт.

|1

11G-A74-4230

BRACKET,L.H. (PLL)

SN: 28653-UP

1шт.

|1

11G-A74-4240

BRACKET,R.H. (PLL)

SN: 28653-UP

1шт.

2

113-30-34130

CYLINDER,L.H.

SN: 29505-UP

1шт.

|2

113-30-24181

CYLINDER,L.H.

SN: 28001-29504

1шт.

|2

113-30-24180

CYLINDER,L.H.

SN: 25001-28000

1шт.

2

113-30-34140

CYLINDER,R.H.

SN: 29505-UP

1шт.

|2

113-30-24191

CYLINDER,R.H.

SN: 28001-29504

1шт.

|2

113-30-24190

CYLINDER,R.H.

SN: 25001-28000

1шт.

3

113-30-24130

SPRING

SN: 25001-UP

2шт.

4

113-30-24161

PISTON

SN: 28001-UP

2шт.

|4

113-30-24160

PISTON

SN: 25001-28000

2шт.

4A

113-30-34170

BAR

SN: 29505-UP

2шт.

|4A

113-30-24230

BAR

SN: 28001-29504

2шт.

5

09370-00050

U-PACKING

SN: 25001-UP

2шт.

6

04064-03515

RING

SN: 25001-UP

2шт.

7

07155-00515

RING

SN: 25001-UP

4шт.

8

113-30-34150

YOKE ASS'Y,(P¤PL)

SN: 29505-UP

2шт.

|8

113-30-24111

YOKE ASS'Y,(P¤PL)

SN: 28001-29504

2шт.

|8

113-30-24110

YOKE ASS'Y,(P¤PL)

SN: 25001-28000

2шт.

|8

11G-B74-4210

YOKE ASS'Y,(PLL)

SN: 29505-UP

2шт.

|8

11G-A74-4210

YOKE ASS'Y,(PLL)

SN: 28653-29504

2шт.

9

113-30-34160

ROD,(P¤PL)

SN: 29505-UP

1шт.

|9

113-30-24151

ROD,(P¤PL)

SN: 28001-29504

1шт.

|9

113-30-24150

ROD,(P¤PL)

SN: 25001-28000

1шт.

|9

11G-B74-4220

ROD,(PLL)

SN: 29505-UP

1шт.

|9

11G-A74-4220

ROD,(PLL)

SN: 28653-29504

1шт.

9A

07177-05030

BUSHING

SN: 29505-UP

2шт.

10

113-30-24240

SEAL

SN: 29505-UP

2шт.

|10

07016-00507

SEAL

SN: 25001-29504

2шт.

10A

113-30-24250

SPACER

SN: 29505-UP

2шт.

11

04065-06220

RING

SN: 29505-UP

2шт.

|11

07179-00069

RING

SN: 25001-29504

2шт.

12

113-30-24170

PLATE

SN: 25001-UP

2шт.

13

01010-31640

BOLT

SN: 25001-UP

8шт.

14

01643-31645

WASHER

SN: 25001-UP

8шт.

15

01010-31645

BOLT

SN: 25001-UP

8шт.

16

01643-31645

WASHER

SN: 25001-UP

8шт.

17

113-30-24140

PLATE

SN: 25001-UP

2шт.

18

07959-20001

VALVE

SN: 32001-UP

2шт.

|18

0

VALVE

SN: .-32000

2шт.

|18

0

LUBRICATOR

SN: 25001-.

2шт.

19

01010-31020

BOLT

SN: 25001-UP

4шт.

20

01602-01030

WASHER

SN: 25001-UP

4шт.

21

01010-31640

BOLT

SN: 28001-UP

12шт.

|21

01010-31645

BOLT

SN: 25001-28000

12шт.

22

01643-31645

WASHER

SN: 25001-UP

12шт.

23

04020-01638

PIN

SN: 25001-UP

4шт.

Выбрано товаров: 49