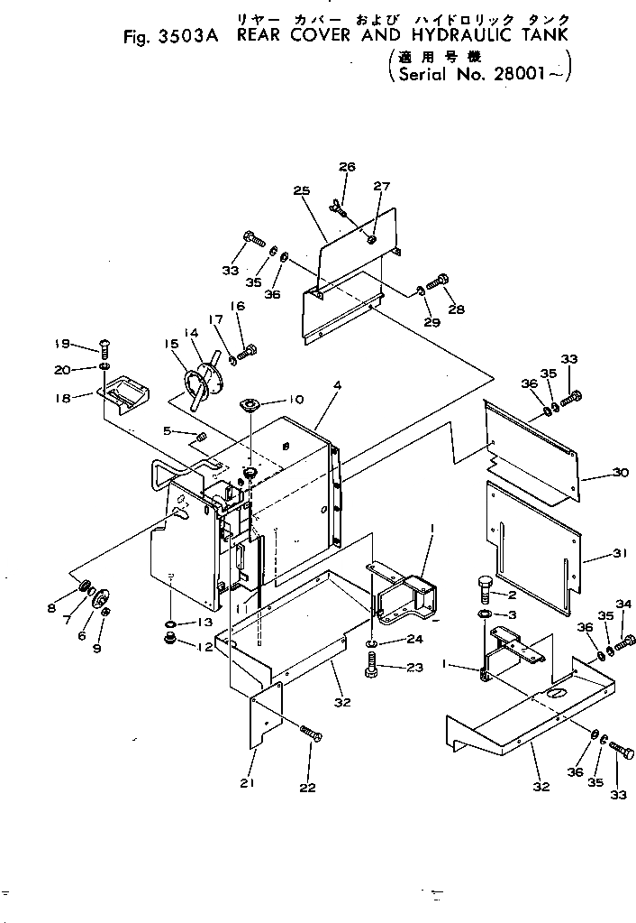
Запчасти Komatsu D31PL-16 ЗАДН. КРЫШКА И ГИДР. БАК.(№8-) ЧАСТИ КОРПУСА

Схема запчастей Komatsu D31PL-16 - ЗАДН. КРЫШКА И ГИДР. БАК.(№8-) ЧАСТИ КОРПУСА
FIT
1:1
100%

Артикул

Название

Примечание

Количество

1

113-54-24280

BRACKET,L.H.

SN: 28001-UP

1шт.

|1

113-54-24290

BRACKET,R.H.

SN: 28001-UP

1шт.

2

01010-32050

BOLT

SN: 25001-UP

6шт.

3

01643-32060

WASHER

SN: 25001-UP

6шт.

|4

113-54-00032

CASE ASS'Y

SN: 29102-UP

1шт.

|4

113-54-00031

CASE ASS'Y

SN: 28001-29101

1шт.

4

0

CASE

SN: 28001-UP

1шт.

5

07043-01019

PLUG

SN: 28001-UP

1шт.

6

113-54-24450

CASE

SN: 28001-UP

1шт.

7

07715-00651

COVER

SN: 25001-UP

1шт.

8

07715-11257

RING

SN: 25001-UP

1шт.

9

01598-01011

NUT

SN: 28001-UP

3шт.

10

10E-03-11130

CAP

SN: 28001-UP

1шт.

11

113-03-21140

TUBE

SN: 25001-UP

1шт.

12

07044-12412

PLUG

SN: 25001-UP

1шт.

13

07002-02434

O-RING

SN: 25001-UP

1шт.

14

113-54-24362

COVER

SN: 29102-UP

1шт.

|14

113-54-24361

COVER

SN: 28001-29101

1шт.

15

113-54-24371

GASKET

SN: 28001-UP

1шт.

16

01010-31020

BOLT

SN: 28001-UP

6шт.

17

01602-01030

WASHER

SN: 28001-UP

6шт.

18

113-54-24341

COVER

SN: 28001-UP

1шт.

19

01220-40820

SCREW

SN: 28001-UP

4шт.

20

01602-00825

WASHER

SN: 28001-UP

4шт.

21

113-54-24352

COVER

SN: 28001-UP

1шт.

22

01224-40816

SCREW

SN: 28001-UP

3шт.

23

01010-31435

BOLT

SN: 28001-UP

4шт.

24

01602-01442

WASHER

SN: 28001-UP

4шт.

25

113-54-24321

COVER

SN: 28001-UP

1шт.

26

01434-10825

BOLT¤ WING

SN: 28001-UP

1шт.

27

01580-00806

NUT

SN: 28001-UP

1шт.

28

01010-31025

BOLT

SN: 25001-UP

2шт.

29

01602-01030

WASHER

SN: 25001-UP

2шт.

30

113-54-24141

COVER

SN: 28001-UP

1шт.

31

113-54-24152

COVER

SN: 28001-UP

1шт.

32

113-54-24430

COVER,L.H.

SN: 28001-UP

1шт.

32

113-54-24440

COVER,R.H.

SN: 28001-UP

1шт.

33

01010-31025

BOLT

SN: 28001-UP

18шт.

34

01010-31020

BOLT

SN: 28001-UP

2шт.

35

01602-01030

WASHER

SN: 28001-UP

20шт.

36

01643-31032

WASHER

SN: 28001-UP

20шт.

Выбрано товаров: 41