Запчасти Komatsu D31PL-16 МАРКИРОВКА (ДЛЯ ЯПОН.)(№-8) ЧАСТИ КОРПУСА

Схема запчастей Komatsu D31PL-16 - МАРКИРОВКА (ДЛЯ ЯПОН.)(№-8) ЧАСТИ КОРПУСА
FIT
1:1
100%

Артикул

Название

Примечание

Количество

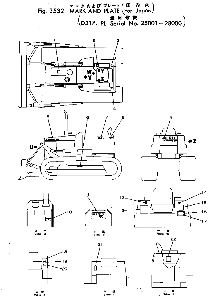
1

113-98-21160

PLATE¤ INSTRUCTION,RADIATOR

SN: 25001-28000

1шт.

2

09670-38070

PLATE¤ OPERATING,BLADE CONTROL LEVER

SN: 25001-@

1шт.

3

09653-00080

PLATE¤ SAFETY,HYDRAULIC TANK

SN: 25001-28000

1шт.

4

09652-00101

PLATE¤ CAUTION,FUEL TANK

SN: 25001-28000

1шт.

5

09690-00450

PLATE¤ MARK,KOMATSU

SN: 25001-@

2шт.

6

09657-00125

PLATE¤ SAFETY,TRACK SHOE ADJUSTING

SN: 25001-28000

2шт.

7

11G-98-21120

PLATE¤ MARK,D31P

SN: 25000-25000

2шт.

|7

11G-98-21170

PLATE¤ MARK,D31PL

SN: 25001-@

2шт.

8

09694-00140

PLATE¤ MARK

SN: 25001-@

2шт.

9

09692-03314

PLATE¤ MARK,D31P

SN: 25000-25000

1шт.

|9

09692-47318

PLATE¤ MARK,D31PL

SN: 25001-28000

1шт.

10

113-54-21132

PLATE¤ MARK

SN: 25001-28000

1шт.

11

09683-00060

PLATE¤ OPERATING,STARTING SWITCH

SN: 25001-28000

1шт.

12

09685-01116

PLATE¤ OPERATING,LEVER LOCK

SN: 25001-28000

1шт.

13

11G-98-21131

CHART¤ OIL,(P)

SN: 25000-25000

1шт.

|13

11G-98-21130

CHART¤ OIL,(P)

SN: 25000-25000

1шт.

|13

11G-98-21181

CHART¤ OIL,(PL)

SN: 25814-28000

1шт.

|13

11G-98-21180

CHART¤ OIL,(PL)

SN: 25001-25813

1шт.

14

09685-01116

PLATE¤ OPERATING,TRANSMISSION LOCK LEVER

SN: 25001-28000

1шт.

15

11G-98-21140

PLATE¤ DATA,(P)

SN: 25000-25000

1шт.

|15

11G-98-21190

PLATE¤ DATA,(PL)

SN: 25001-28000

1шт.

16

09602-01635

PLATE¤ NAME,(LIMITED SUPPLY)

SN: 25001-28000

4шт.

17

04418-13060

SCREW

SN: 25001-@

1шт.

18

113-98-21180

PLATE¤ INSTRUCTION,ENGINE STOPPED

SN: 25001-28000

1шт.

19

113-98-21170

PLATE¤ OPERATING,INTAKE AIR HEATER

SN: 25001-28000

1шт.

20

09654-00060

PLATE¤ SAFETY,STARTING AND LEAVING SEAT

SN: 25001-28000

1шт.

21

09685-01016

PLATE¤ OPERATING,PARKING BRAKE

SN: 25001-28000

1шт.

22

113-98-21151

PLATE¤ CAUTION,OIL FILTER

SN: .-28000

1шт.

|22

113-98-21150

PLATE¤ CAUTION,OIL FILTER

SN: 25001-.

1шт.

Выбрано товаров: 29