Запчасти Komatsu D31PL-16 CROSS BAR ЧАСТИ КОРПУСА

Схема запчастей Komatsu D31PL-16 - CROSS BAR ЧАСТИ КОРПУСА
FIT
1:1
100%

Артикул

Название

Примечание

Количество

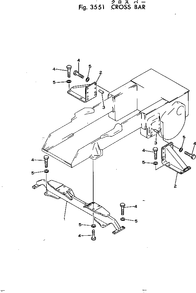
1

11G-50-21110

BAR

SN: 25000-25000

1шт.

|1

113-50-21110

BAR

SN: 25000-25000

1шт.

|1

11G-A70-5111

BAR

SN: 28001-UP

1шт.

|1

0

BAR

SN: 25001-28000

1шт.

2

113-50-21121

BRACKET,L.H.

SN: 25000-25000

1шт.

|2

113-50-21120

BRACKET,L.H.

SN: 25000-25000

1шт.

|2

113-50-21131

BRACKET,R.H.

SN: 25000-25000

1шт.

|2

113-50-21130

BRACKET,R.H.

SN: 25000-25000

1шт.

|2

11G-A70-5121

BRACKET,L.H.

SN: 28001-UP

1шт.

|2

11G-A70-5120

BRACKET,L.H.

SN: 25001-28000

1шт.

|2

11G-A70-5121

BRACKET,R.H.

SN: 28001-UP

1шт.

|2

11G-A70-5130

BRACKET,R.H.

SN: 25001-28000

1шт.

3

04020-01842

PIN

SN: 25001-UP

4шт.

4

01010-32050

BOLT

SN: 25001-UP

36шт.

5

01643-32060

WASHER

SN: 25001-UP

36шт.

Выбрано товаров: 15