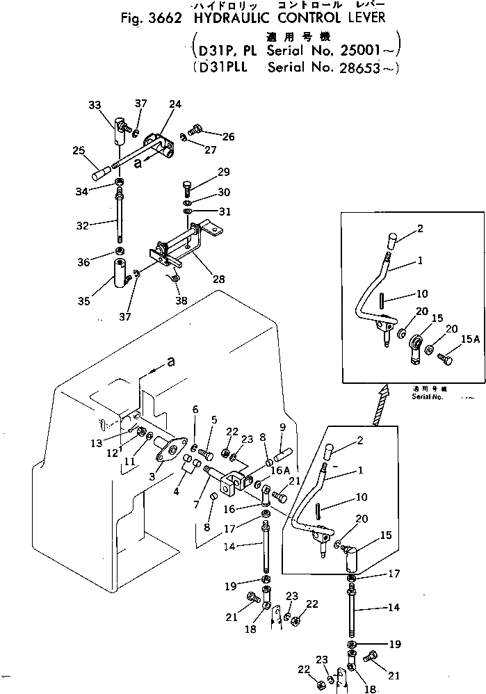
Запчасти Komatsu D31PL-16 ГИДРАВЛ РЫЧАГ УПРАВЛ-Я УПРАВЛ-Е РАБОЧИМ ОБОРУДОВАНИЕМ

Схема запчастей Komatsu D31PL-16 - ГИДРАВЛ РЫЧАГ УПРАВЛ-Я УПРАВЛ-Е РАБОЧИМ ОБОРУДОВАНИЕМ
FIT
1:1
100%

Артикул

Название

Примечание

Количество

1

113-43-25111

LEVER

SN: ..-UP

1шт.

|1

0

LEVER

SN: 25001-..

1шт.

|$$3

(113-43-25111{113-43-23270¤}

-1шт.

|$$4

01010-50830{04254-00823(2))}

-1шт.

2

113-43-23420

KNOB

SN: 25001-UP

1шт.

|3

113-43-00130

BRACKET ASS'Y

SN: 25001-UP

1шт.

3

0

BRACKET

SN: 25001-UP

1шт.

4

09350-01420

BUSHING

SN: 25001-UP

2шт.

5

01010-31020

BOLT

SN: 25001-UP

2шт.

6

01602-01030

WASHER

SN: 25001-UP

2шт.

|7

113-43-00121

YOKE ASS'Y

SN: 28001-UP

1шт.

|7

0

YOKE ASS'Y

SN: 25001-28000

1шт.

7

0

YOKE

SN: 28001-UP

1шт.

|7

0

YOKE

SN: 25001-28000

1шт.

8

09350-01415

BUSHING

SN: 25001-UP

2шт.

9

113-43-23410

PIN

SN: 25001-UP

1шт.

10

04025-00324

PIN

SN: 25001-UP

1шт.

11

113-43-23230

WASHER

SN: 25001-UP

1шт.

12

01590-00809

NUT

SN: 25001-UP

1шт.

13

04050-02015

PIN

SN: 25001-UP

1шт.

14

04248-30813

ROD

SN: 25001-UP

2шт.

15

113-43-23270

END,ROD

SN: ..-UP

1шт.

|15

113-43-23250

END,ROD

SN: 25001-..

1шт.

15A

01010-30830

BOLT

SN: ..-UP

1шт.

16

113-43-23270

END,ROD

SN: 25001-UP

1шт.

16A

04254-00823

SPACER

SN: 28788-UP

1шт.

17

01580-00806

NUT

SN: 25001-UP

2шт.

18

113-43-23280

END,ROD¤ L.H. THREAD

SN: 25001-UP

2шт.

19

01508-10805

NUT¤ L.H. THREAD,L.H. THREAD

SN: 25001-UP

2шт.

20

04254-00823

SPACER

SN: ..-UP

2шт.

|20

01643-30823

WASHER

SN: .-..

1шт.

|20

01602-00825

WASHER

SN: 25001-.

1шт.

21

01010-30830

BOLT

SN: 25001-UP

3шт.

22

01580-00806

NUT

SN: 25001-UP

3шт.

23

01602-00825

WASHER

SN: 25001-UP

3шт.

24

113-43-25150

LEVER

SN: 25001-UP

1шт.

25

09305-00800

KNOB

SN: 25001-UP

1шт.

26

01010-30820

BOLT

SN: 25001-UP

2шт.

27

01602-00825

WASHER

SN: 25001-UP

2шт.

28

113-43-25140

BRACKET

SN: 25001-UP

1шт.

29

01010-30820

BOLT

SN: 25001-UP

2шт.

30

01602-00825

WASHER

SN: 25001-UP

2шт.

31

01643-30823

WASHER

SN: 25001-UP

2шт.

32

04248-30813

ROD

SN: 25001-UP

1шт.

33

113-43-23250

END,ROD

SN: 25001-UP

1шт.

34

01580-00806

NUT

SN: 25001-UP

1шт.

35

113-43-25160

END,ROD¤ L.H. THREAD

SN: 25001-UP

1шт.

36

01508-10805

NUT¤ L.H. THREAD,L.H. THREAD

SN: 25001-UP

1шт.

37

01643-30823

WASHER

SN: .-UP

2шт.

|37

01602-00825

WASHER

SN: 25001-.

2шт.

38

113-54-21150

SPRING

SN: 25001-UP

1шт.

Выбрано товаров: 51