Запчасти Komatsu D31PL-16 РЫЧАГ УПРАВЛЕНИЯ ПОВОРОТОМ (/) ОПЦИОННЫЕ КОМПОНЕНТЫ

Схема запчастей Komatsu D31PL-16 - РЫЧАГ УПРАВЛЕНИЯ ПОВОРОТОМ (/) ОПЦИОННЫЕ КОМПОНЕНТЫ
FIT
1:1
100%

Артикул

Название

Примечание

Количество

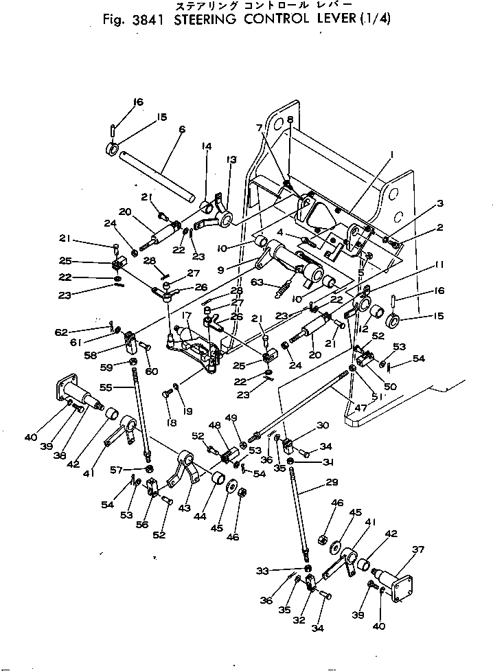
1

113-43-27110

BRACKET

SN: 25001-UP

1шт.

2

01010-51030

BOLT

SN: 25001-UP

6шт.

3

01602-21030

WASHER

SN: 25001-UP

6шт.

4

113-43-21340

BUMPER

SN: 25001-UP

1шт.

5

01580-11008

NUT

SN: 25001-UP

1шт.

6

113-43-27120

SHAFT

SN: 25001-UP

1шт.

7

01306-11025

SCREW

SN: 25001-UP

1шт.

8

04059-01040

WIRE

SN: 25001-UP

1шт.

|9

113-43-00191

PEDAL ASS'Y

SN: 25001-UP

1шт.

9

0

PEDAL

SN: 25001-UP

1шт.

10

09350-03030

BUSHING

SN: 25001-UP

2шт.

|11

113-43-00201

LEVER ASS'Y,L.H.

SN: 25001-UP

1шт.

11

0

LEVER,L.H.

SN: 25001-UP

1шт.

12

09350-03030

BUSHING

SN: 25001-UP

1шт.

|13

113-43-00211

LEVER ASS'Y,R.H.

SN: 25001-UP

1шт.

13

0

LEVER,R.H.

SN: 25001-UP

1шт.

14

09350-03030

BUSHING

SN: 25001-UP

1шт.

15

113-43-27190

COLLAR

SN: 25001-UP

2шт.

16

04025-00650

PIN

SN: 25001-UP

2шт.

17

113-43-21210

BRACKET

SN: 25001-UP

1шт.

18

01010-51025

BOLT

SN: 25001-UP

4шт.

19

01602-21030

WASHER

SN: 25001-UP

4шт.

20

113-43-21230

SPRING

SN: 25001-UP

2шт.

21

04205-11030

PIN

SN: 25001-UP

4шт.

22

01641-21016

WASHER

SN: 25001-UP

4шт.

23

04050-13020

PIN

SN: 25001-UP

4шт.

24

01582-11008

NUT

SN: 25001-UP

2шт.

25

04210-21040

YOKE

SN: 25001-UP

2шт.

|26

103-43-00040

LEVER ASS'Y

SN: 25001-UP

2шт.

26

0

LEVER

SN: 25001-UP

1шт.

27

09350-01415

BUSHING

SN: 25001-UP

1шт.

28

04050-14030

PIN

SN: 25001-UP

2шт.

29

04248-31049

ROD

SN: 25001-UP

2шт.

30

04220-21040

YOKE,L.H. THREAD

SN: 25001-UP

2шт.

31

01508-21006

NUT¤ L.H. THREAD,L.H. THREAD

SN: 25001-UP

2шт.

32

04210-21040

YOKE,R.H. THREAD

SN: 25001-UP

2шт.

33

01582-11008

NUT,R.H. THREAD

SN: 25001-UP

2шт.

34

04205-11030

PIN

SN: 25001-UP

4шт.

35

01641-21016

WASHER

SN: 25001-UP

4шт.

36

04050-13020

PIN

SN: 25001-UP

4шт.

37

113-43-21240

BRACKET

SN: 25001-UP

1шт.

38

112-43-46150

BRACKET

SN: 25001-UP

1шт.

39

01010-51025

BOLT

SN: 25001-UP

8шт.

40

01602-21030

WASHER

SN: 25001-UP

8шт.

|41

113-43-00020

LEVER ASS'Y

SN: 25001-UP

2шт.

41

0

LEVER

SN: 25001-UP

1шт.

42

09350-03030

BUSHING

SN: 25001-UP

1шт.

|43

112-43-00270

LEVER ASS'Y

SN: 25001-UP

1шт.

43

0

LEVER

SN: 25001-UP

1шт.

44

09350-03030

BUSHING

SN: 25001-UP

1шт.

45

113-43-21260

WASHER

SN: 25001-UP

2шт.

46

01599-01415

NUT

SN: 25001-UP

2шт.

47

04248-31258

ROD

SN: 25001-UP

1шт.

48

04211-21266

YOKE,R.H. THREAD

SN: 25001-UP

1шт.

49

01582-11210

NUT,R.H. THREAD

SN: 25001-UP

1шт.

50

04220-21248

YOKE,L.H. THREAD

SN: 25001-UP

1шт.

51

01508-21207

NUT,L.H. THREAD

SN: 25001-UP

1шт.

52

04205-11238

PIN

SN: 25001-UP

2шт.

53

01641-21223

WASHER

SN: 25001-UP

2шт.

54

04050-10020

PIN

SN: 25001-UP

2шт.

55

04248-31248

ROD

SN: 25001-UP

1шт.

56

04210-21248

YOKE,R.H. THREAD

SN: 25001-UP

1шт.

57

01582-11210

NUT,R.H. THREAD

SN: 25001-UP

1шт.

58

04221-21266

YOKE,L.H. THREAD

SN: 25001-UP

1шт.

59

01508-21207

NUT,L.H. THREAD

SN: 25001-UP

1шт.

60

04205-11238

PIN

SN: 25001-UP

2шт.

61

01641-21223

WASHER

SN: 25001-UP

2шт.

62

04050-13020

PIN

SN: 25001-UP

2шт.

63

10E-43-12620

SPRING

SN: 25001-UP

1шт.

Выбрано товаров: 0