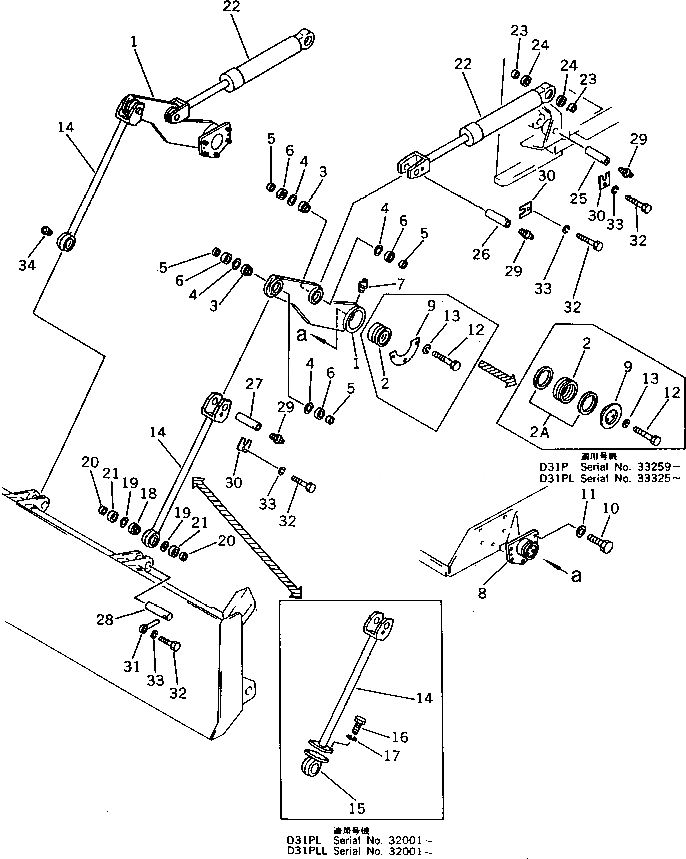
Запчасти Komatsu D31PL-17 НАКЛОН. ОТВАЛ МЕХАНИЗМ РАБОЧЕЕ ОБОРУДОВАНИЕ

Схема запчастей Komatsu D31PL-17 - НАКЛОН. ОТВАЛ МЕХАНИЗМ РАБОЧЕЕ ОБОРУДОВАНИЕ
FIT
1:1
100%

Артикул

Название

Примечание

Количество

|$0

11G-71-00102

LEVER ASS'Y,L.H.

SN: 34596-UP

1шт.

|$1

11G-71-00101

LEVER ASS'Y,L.H.

SN: 33325-34595

1шт.

|$2

11G-71-00100

LEVER ASS'Y,L.H.

SN: 32001-33324

1шт.

|$3

11G-71-00112

LEVER ASS'Y,R.H.

SN: 34596-UP

1шт.

|$4

11G-71-00111

LEVER ASS'Y,R.H.

SN: 33325-34595

1шт.

|$5

11G-71-00110

LEVER ASS'Y,R.H.

SN: 32001-33324

1шт.

1

0

LEVER,L.H.

SN: 33325-UP

1шт.

1

0

LEVER,L.H.

SN: 32001-33324

1шт.

1

0

LEVER,R.H.

SN: 33325-UP

1шт.

1

0

LEVER,R.H.

SN: 32001-33324

1шт.

2

11G-71-31553

BUSHING

SN: 34596-UP

1шт.

2

11G-71-31551

BUSHING

SN: 33325-34595

1шт.

2

11G-71-31550

BUSHING

SN: 32001-33324

1шт.

2A

07145-00100

SEAL

SN: 33325-UP

4шт.

3

114-72-21930

BEARING

SN: 32001-UP

4шт.

4

04065-06220

RING,SNAP

SN: 32001-UP

8шт.

5

114-72-21940

COLLAR

SN: 32001-UP

8шт.

6

114-72-21960

BUSHING

SN: 32001-UP

8шт.

7

07020-00000

FITTING,GREASE

SN: 32001-UP

2шт.

8

11G-71-31541

TRUNNION

SN: 33325-UP

2шт.

8

11G-71-31540

TRUNNION

SN: 32001-33324

2шт.

9

11G-71-31590

PLATE

SN: 33325-UP

2шт.

9

11G-71-31570

PLATE

SN: 32001-33324

4шт.

10

01010-31640

BOLT

SN: 32001-UP

10шт.

11

01643-31645

WASHER

SN: 32001-UP

10шт.

12

01010-51030

BOLT

SN: 33325-UP

6шт.

12

01010-31020

BOLT

SN: 32001-33324

12шт.

13

01602-01030

WASHER,SPRING

SN: 33325-UP

6шт.

13

01602-01030

WASHER,SPRING

SN: 32001-33324

12шт.

14

11G-B70-8160

ROD

SN: 32001-UP

2шт.

15

11G-A74-8220

HEAD

SN: 32001-UP

2шт.

16

01010-31030

BOLT

SN: 32001-UP

4шт.

17

01602-01030

WASHER,SPRING

SN: 32001-UP

4шт.

18

114-72-21930

BEARING

SN: 32001-UP

2шт.

19

04065-06220

RING,SNAP

SN: 32001-UP

4шт.

20

114-72-21940

COLLAR

SN: 32001-UP

4шт.

21

114-72-21960

BUSHING

SN: 32001-UP

4шт.

22

11G-63-00050

CYLINDER ASS'Y

SN: 32001-UP

2шт.

23

114-72-21940

COLLAR

SN: 32001-UP

4шт.

24

114-72-21960

BUSHING

SN: 32001-UP

4шт.

25

114-72-21851

PIN

SN: 32001-UP

2шт.

26

11G-71-22410

PIN

SN: 32001-UP

2шт.

27

11G-71-31610

PIN

SN: 32001-UP

2шт.

28

114-72-21830

PIN

SN: 32001-UP

2шт.

29

07020-00000

FITTING,GREASE

SN: 32001-UP

8шт.

30

114-72-21860

LOCK

SN: 32001-UP

6шт.

31

114-72-21970

PIN

SN: 32001-UP

2шт.

32

01010-31030

BOLT

SN: 32001-UP

8шт.

33

01602-01030

WASHER,SPRING

SN: 32001-UP

8шт.

34

07043-00108

PLUG

SN: 32001-UP

2шт.

Выбрано товаров: 50