Качественные детали и логистика
Оригинальные и аналоговые запчасти с доставкой по России, Казахстану и Беларуси
©2022 PartSell ООО "Система" ИНН 2463123282 ОГРН 1212400004838
Центральный офис: г. Красноярск, Академика Киренского, д.87, пом.4
Телефон: 8 (800) 777-65-74 Email: zakaz@partsell.ru
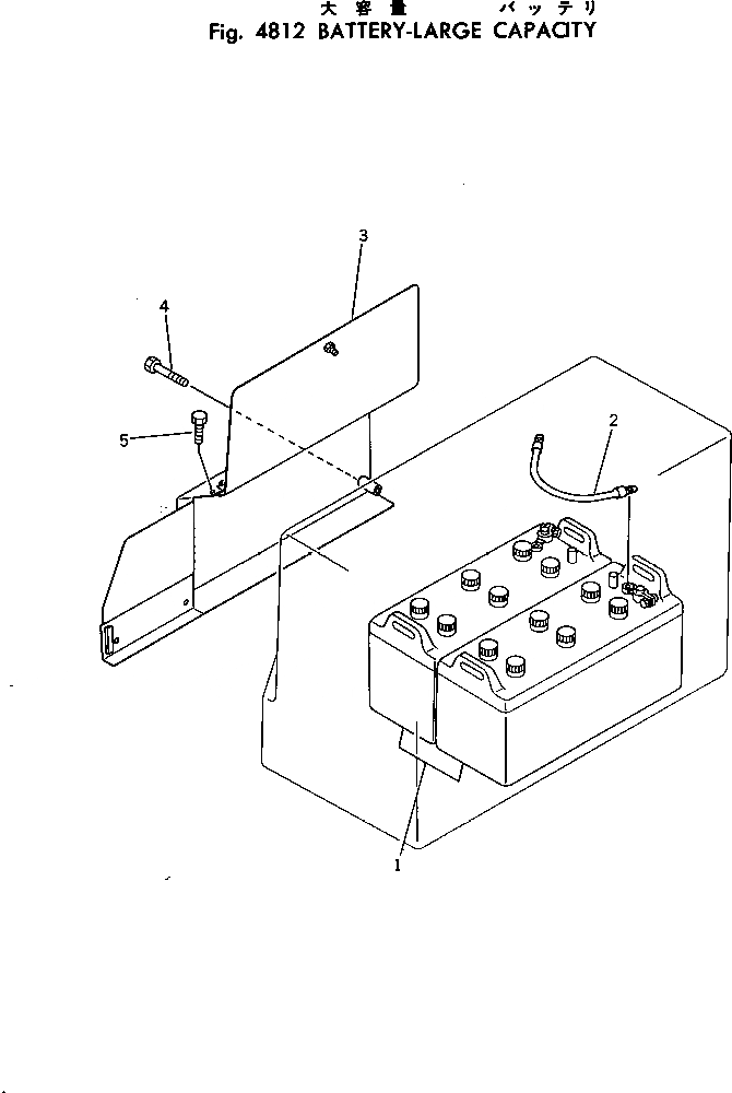
АККУМУЛЯТОР ВЫСОК. ЕМК.
№
Артикул
Название
Примечание
Количество
1
08000-12215
BATTERY (145G51)
SN: 32001-UP
2шт.
2
113-06-21160
WIRE
1шт.
3
113-54-34250
COVER
4
01010-31065
BOLT
5
01010-31025
5шт.
Выбрано товаров: 0