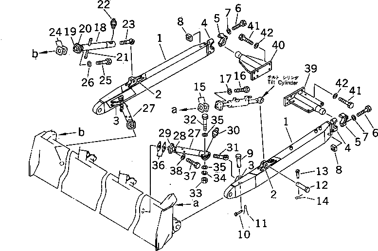
Запчасти Komatsu D31PL-18 НАКЛОН. РАМА РАБОЧЕЕ ОБОРУДОВАНИЕ

Схема запчастей Komatsu D31PL-18 - НАКЛОН. РАМА РАБОЧЕЕ ОБОРУДОВАНИЕ
FIT
1:1
100%

Артикул

Название

Примечание

Количество

G-1

0

FRAME GROUP,TILT

SN: 40001-UP

1шт.

|$$2

====================

-1шт.

|$2

11G-71-00210

FRAME ASS'Y,L.H.

SN: 40001-UP

1шт.

|$3

11G-71-00220

FRAME ASS'Y,R.H.

SN: 40001-UP

1шт.

1

0

FRAME ASS'Y,L.H.

SN: 40001-UP

1шт.

1

0

FRAME ASS'Y,R.H.

SN: 40001-UP

1шт.

2

11G-71-31220

BRACKET,L.H. (WELDED)

SN: 40001-UP

1шт.

2

11G-71-31310

BRACKET,R.H. (WELDED)

SN: 40001-UP

1шт.

3

11G-71-31230

BRACKET (WELDED)

SN: 40001-UP

1шт.

4

0

PIVOT,(WELDED) (KIT)

SN: 40001-UP

1шт.

5

11G-71-21340

CAP,L.H. (KIT)

SN: 40001-UP

1шт.

5

130-70-13231

CAP,R.H. (KIT)

SN: 40001-UP

1шт.

6

01011-82445

BOLT (KIT)

SN: 40001-UP

2шт.

7

01643-32460

WASHER (KIT)

SN: 40001-UP

2шт.

8

130-70-13241

NUT (KIT)

SN: 40001-UP

2шт.

9

11G-71-41150

PIN

SN: 40001-UP

3шт.

10

112-71-11210

PIN

SN: 40001-UP

3шт.

11

04050-15030

PIN,COTTER

SN: 40001-UP

3шт.

|$$19

====================

-1шт.

G-2

0

PIN GROUP,TILT

SN: 40001-UP

1шт.

|$$21

====================

-1шт.

12

11G-71-41150

PIN

SN: 40001-UP

1шт.

13

112-71-11210

PIN

SN: 40001-UP

1шт.

14

04050-15030

PIN,COTTER

SN: 40001-UP

1шт.

15

112-71-00080

SHIM KIT

SN: 40001-UP

1шт.

15

0

SHIM, 0.5MM

SN: 40001-UP

2шт.

15

0

SHIM, 1.0MM

SN: 40001-UP

4шт.

16

01010-51650

BOLT

SN: 40001-UP

4шт.

17

01643-31645

WASHER

SN: 40001-UP

4шт.

|$$30

====================

-1шт.

G-3

0

BRACE GROUP,TILT

SN: 40001-UP

1шт.

|$$32

====================

-1шт.

|$32

11G-71-00230

BRACE ASS'Y,TILT

SN: 40001-UP

1шт.

18

11G-71-41160

BRACE

SN: 40001-UP

1шт.

19

11G-71-41120

BALL,STUD (WELDED)

SN: 40001-UP

1шт.

20

112-71-11181

CAP

SN: 40001-UP

1шт.

21

101-71-12250

LEVER

SN: 40001-UP

1шт.

22

07020-00000

FITTING,GREASE

SN: 40001-UP

1шт.

23

11G-71-21730

SCREW

SN: 40001-UP

1шт.

24

112-71-00080

SHIM KIT

SN: 40001-UP

1шт.

24

0

SHIM, 0.5MM

SN: 40001-UP

2шт.

24

0

SHIM, 1.0MM

SN: 40001-UP

4шт.

25

01010-51650

BOLT

SN: 40001-UP

4шт.

26

01643-31645

WASHER

SN: 40001-UP

4шт.

|$$45

====================

-1шт.

G-4

0

BRACE GROUP,CENTER

SN: 40001-UP

2шт.

|$$47

====================

-1шт.

|$47

11G-71-00240

BRACE ASS'Y,CENTER

SN: 40001-UP

2шт.

27

11G-71-41170

BRACE

SN: 40001-UP

1шт.

28

11G-71-41120

BALL,STUD (WELDED)

SN: 40001-UP

1шт.

29

112-71-11181

CAP

SN: 40001-UP

1шт.

30

07020-00000

FITTING,GREASE

SN: 40001-UP

1шт.

31

11G-71-21730

SCREW

SN: 40001-UP

1шт.

32

01010-51480

BOLT

SN: 40001-UP

1шт.

33

01580-11411

NUT

SN: 40001-UP

1шт.

34

01602-21442

WASHER,SPRING

SN: 40001-UP

1шт.

35

01643-31445

WASHER

SN: 40001-UP

2шт.

36

112-71-00080

SHIM KIT

SN: 40001-UP

2шт.

36

0

SHIM, 0.5MM

SN: 40001-UP

2шт.

36

0

SHIM, 1.0MM

SN: 40001-UP

4шт.

37

01010-51650

BOLT

SN: 40001-UP

8шт.

38

01643-31645

WASHER

SN: 40001-UP

8шт.

|$$63

====================

-1шт.

G-5

0

TRUNNION GROUP

SN: 40001-UP

1шт.

|$$65

====================

-1шт.

39

11G-B70-8170

TRUNNION,L.H.

SN: 40001-UP

1шт.

40

11G-B70-8180

TRUNNION,R.H.

SN: 40001-UP

1шт.

41

01010-51650

BOLT

SN: 40001-UP

12шт.

42

01643-31645

WASHER

SN: 40001-UP

12шт.

|$$70

====================

-1шт.

|$$71

SERVICE KIT

-1шт.

4

11G-71-00020

PIVOT ASS'Y,L.H.

SN: 40001-UP

1шт.

4

112-70-00051

PIVOT ASS'Y,R.H.

SN: 40001-UP

1шт.

4

0

PIVOT

SN: 40001-UP

1шт.

5

11G-71-21340

CAP,L.H.

SN: 40001-UP

1шт.

5

130-70-13231

CAP,R.H.

SN: 40001-UP

1шт.

6

01011-82445

BOLT

SN: 40001-UP

2шт.

7

01643-32460

WASHER

SN: 40001-UP

2шт.

8

130-70-13241

NUT

SN: 40001-UP

2шт.

Выбрано товаров: 0