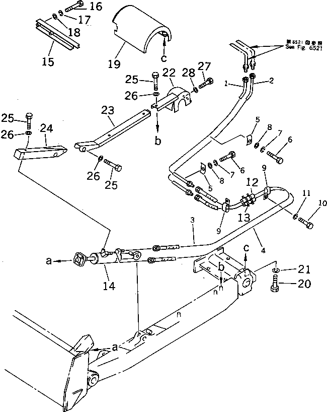
Запчасти Komatsu D31PL-18 ГИДРОЛИНИЯ (ЦИЛИНДР ПЕРЕКОСА ЛИНИЯ) (DOZER ) РАБОЧЕЕ ОБОРУДОВАНИЕ

Схема запчастей Komatsu D31PL-18 - ГИДРОЛИНИЯ (ЦИЛИНДР ПЕРЕКОСА ЛИНИЯ) (DOZER ) РАБОЧЕЕ ОБОРУДОВАНИЕ
FIT
1:1
100%

Артикул

Название

Примечание

Количество

G-1

0

PIPING GROUP,TILT

SN: 40001-UP

1шт.

|$$2

====================

-1шт.

1

11G-62-33221

TUBE

SN: 40001-UP

1шт.

2

11G-62-33121

TUBE

SN: 40001-UP

1шт.

3

12F-62-43430

HOSE

SN: 42869-UP

1шт.

3

0

HOSE

SN: 40519-42868

1шт.

3

0

HOSE

SN: 40001-40518

1шт.

|$$8

(14G-62-41230,14G-62-41240,

-1шт.

|$$9

130-06-14230)

-1шт.

4

12F-62-43420

HOSE

SN: 42869-UP

1шт.

4

0

HOSE

SN: 40519-42868

1шт.

4

0

HOSE

SN: 40001-40518

1шт.

|$$13

(14G-62-41240,14G-62-41230,

-1шт.

|$$14

130-06-14230)

-1шт.

5

114-62-23150

CLIP

SN: 40001-UP

2шт.

6

01010-51035

BOLT

SN: 40001-UP

2шт.

7

01602-21030

WASHER,SPRING

SN: 40001-UP

2шт.

8

01643-31032

WASHER

SN: 40001-UP

2шт.

9

130-06-14230

CLIP

SN: 40519-UP

2шт.

9

141-06-11220

CLIP

SN: 40001-40518

2шт.

10

01010-51020

BOLT

SN: 40001-UP

2шт.

11

01602-21030

WASHER,SPRING

SN: 40001-UP

2шт.

12

113-06-23220

COVER

SN: 40519-UP

2шт.

13

08034-00519

BAND

SN: 40519-UP

4шт.

|$$25

====================

-1шт.

14

11G-63-02051

CYLINDER ASS'Y,TILT (SEE FIG.7011)

SN: 40001-UP

1шт.

G-2

0

PIPING COVER GROUP

SN: 40001-UP

1шт.

|$$28

====================

-1шт.

15

11G-B70-7111

COVER

SN: 40001-UP

1шт.

16

01010-51060

BOLT

SN: 40001-UP

2шт.

17

01602-21030

WASHER,SPRING

SN: 40001-UP

2шт.

18

01643-31032

WASHER

SN: 40001-UP

2шт.

19

11G-B70-7120

COVER

SN: 40001-UP

1шт.

20

01010-51640

BOLT

SN: 40001-UP

4шт.

21

01602-21648

WASHER,SPRING

SN: 40001-UP

4шт.

22

11G-62-34120

COVER

SN: 40001-UP

1шт.

23

11G-62-41110

COVER

SN: 40001-UP

1шт.

24

11G-62-41120

COVER

SN: 40001-UP

1шт.

25

01010-51020

BOLT

SN: 40001-UP

8шт.

26

01643-31032

WASHER

SN: 40001-UP

8шт.

27

01010-51430

BOLT

SN: 40001-UP

2шт.

28

01643-31445

WASHER

SN: 40001-UP

2шт.

|$$43

====================

-1шт.

Выбрано товаров: 43