Запчасти Komatsu D31PL-18 МАРКИРОВКА (ИНДОНЕЗИЯ) МАРКИРОВКА¤ ИНСТРУМЕНТ И РЕМКОМПЛЕКТЫ

Схема запчастей Komatsu D31PL-18 - МАРКИРОВКА (ИНДОНЕЗИЯ) МАРКИРОВКА¤ ИНСТРУМЕНТ И РЕМКОМПЛЕКТЫ
FIT
1:1
100%

Артикул

Название

Примечание

Количество

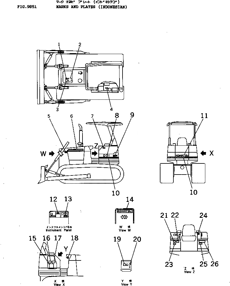
1

09668-00500

PLATE, SAFETY,RADIATOR WARNING

SN: 40001-UP

1шт.

2

09637-05161

PLATE, INSTRUCTION,AIR CLEANER

SN: 40001-UP

1шт.

3

09650-05103

PLATE, INSTRUCTION,RADIATOR

SN: 40001-UP

1шт.

4

09652-05101

PLATE, CAUTION,FUEL TANK

SN: 40001-UP

1шт.

5

09667-00500

PLATE, SAFETY,ENGINE ROOM

SN: 40001-UP

1шт.

6

113-98-41211

PLATE, MARK,LINE, L.H.

SN: 41922-UP

1шт.

6

113-98-41210

PLATE, MARK,LINE, L.H.

SN: 40001-41921

1шт.

6

113-98-41221

PLATE, MARK,LINE, R.H.

SN: 41922-UP

1шт.

6

113-98-41220

PLATE, MARK,LINE, R.H.

SN: 40001-41921

1шт.

7

09601-05835

PLATE, NAME,(LIMITED SUPPLY)

SN: 40001-UP

1шт.

7

04418-13060

SCREW

SN: 40001-UP

4шт.

8

11G-C70-9120

PLATE, MARK,D31PL

SN: 40001-UP

2шт.

9

09694-50180

PLATE, MARK,SYMBOL

SN: 40001-UP

2шт.

10

114-98-42161

PLATE, MARK,WHITE LINE

SN: 41922-UP

4шт.

10

114-98-42160

PLATE, MARK,WHITE LINE

SN: 40001-41921

4шт.

11

09690-50560

PLATE, MARK,KOMATSU

SN: 40001-UP

1шт.

12

09651-00500

PLATE, SAFETY,BEFORE OPERATING

SN: 40001-UP

1шт.

13

09683-05060

PLATE, OPERATING,STARTING SWITCH

SN: 40001-UP

1шт.

14

09690-50450

PLATE, MARK,KOMATSU

SN: 40001-UP

1шт.

15

11G-98-41820

CHART, OIL

SN: 40001-UP

1шт.

16

09653-00500

PLATE, SAFETY,HYDRAULIC TANK

SN: 40001-UP

1шт.

17

103-98-21851

PLATE, CAUTION,HYDRAULIC FILTER

SN: 40001-UP

1шт.

18

09685-00003

PLATE, OPERATING,PARKING BRAKE LEVER

SN: 40001-UP

1шт.

19

09670-00004

PLATE, OPERATING,BLADE CONTROL LEVER

SN: 40001-UP

1шт.

20

09685-00002

PLATE, OPERATING,BLADE CONTROL LEVER LOCK

SN: 40001-UP

1шт.

21

09173-00500

PLATE, SAFETY,INSPECTION AND MAINTENANCE

SN: 40001-UP

1шт.

22

09654-00500

PLATE, SAFETY,STARTING AND AFTER OPERATING

SN: 40001-UP

1шт.

23

09656-05080

PLATE, INSTRUCTION,ADDITIONAL STRAINER

SN: 40001-UP

1шт.

24

09685-00002

PLATE, OPERATING,TRANSMISSION LEVER LOCK

SN: 40001-UP

1шт.

25

09649-00501

PLATE, INSTRUCTION,ENGINE STOPPED

SN: 40001-UP

1шт.

26

09657-00511

PLATE, SAFETY,TRACK ADJUSTING

SN: 40001-UP

1шт.

Выбрано товаров: 31