Запчасти Komatsu D31PL-18 КЛАПАН ТРАНСМИССИИ (MODULATION) ДЕМПФЕР¤ ТРАНСМИССИЯ¤ РУЛЕВ. УПРАВЛЕНИЕ И КОНЕЧНАЯ ПЕРЕДАЧА

Схема запчастей Komatsu D31PL-18 - КЛАПАН ТРАНСМИССИИ (MODULATION) ДЕМПФЕР¤ ТРАНСМИССИЯ¤ РУЛЕВ. УПРАВЛЕНИЕ И КОНЕЧНАЯ ПЕРЕДАЧА
FIT
1:1
100%

Артикул

Название

Примечание

Количество

|$0

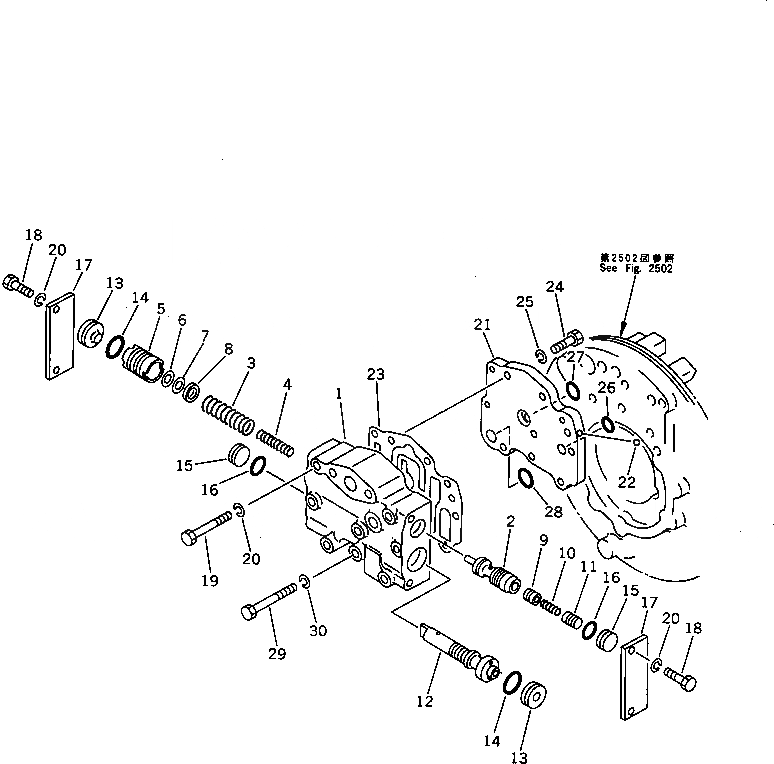
114-15-00033

TRANSMISSION ASS'Y

SN: 42967-UP

1шт.

|$1

0

TRANSMISSION ASS'Y

SN: 41402-42966

1шт.

|$2

0

TRANSMISSION ASS'Y

SN: 40327-41401

1шт.

|$3

0

TRANSMISSION ASS'Y

SN: 40001-40326

1шт.

|$$5

THESE ASSEMBLIES CONSIST OF ALL PARTS SHOWN IN FIGS.2501 TO 2561.

-1шт.

|$5

113-15-00482

VALVE ASS'Y,MODULATION

SN: 42967-UP

1шт.

|$6

0

VALVE ASS'Y,MODULATION

SN: 40327-42966

1шт.

|$7

0

VALVE ASS'Y,MODULATION

SN: 40001-40326

1шт.

1

104-15-25110

BODY

SN: 40001-UP

1шт.

2

104-15-25210

SPOOL

SN: 40001-UP

1шт.

3

104-15-25290

SPRING, (L= 62.0)

SN: 40001-UP

1шт.

4

113-15-45280

SPRING

SN: 40326-UP

1шт.

4

0

SPRING

SN: 40001-40325

1шт.

5

113-15-35220

VALVE

SN: 40001-UP

1шт.

6

113-15-25260

SHIM, 0.5MM

SN: 40001-UP

3шт.

7

113-15-25270

SHIM, 0.2MM

SN: 40001-UP

2шт.

8

104-15-25260

SPACER

SN: 40001-UP

1шт.

9

104-15-25490

VALVE

SN: 40001-UP

1шт.

10

125-15-15290

SPRING

SN: 40001-UP

1шт.

11

104-15-25480

VALVE

SN: 40001-UP

1шт.

12

104-15-25321

SPOOL

SN: 40001-UP

1шт.

13

104-15-25330

STOPPER

SN: 40001-UP

2шт.

14

07000-73025

O-RING (K1)

SN: 40001-UP

2шт.

15

104-15-25340

STOPPER

SN: 40001-UP

2шт.

16

07000-72020

O-RING (K1)

SN: 40001-UP

2шт.

17

103-15-25350

PLATE

SN: 40001-UP

2шт.

18

01010-50820

BOLT

SN: 40001-UP

4шт.

19

01010-50860

BOLT

SN: 40001-UP

3шт.

20

01602-20825

WASHER,SPRING

SN: 40001-UP

7шт.

|$29

113-15-00491

SEAT ASS'Y

SN: 42967-UP

1шт.

|$30

0

SEAT ASS'Y

SN: 40001-42966

1шт.

21

0

SEAT

SN: 42967-UP

-1шт.

21

0

SEAT

SN: 40001-42966

1шт.

22

04260-00635

BALL

SN: 40001-UP

1шт.

23

104-15-25140

GASKET (K1)

SN: 40001-UP

1шт.

24

01010-51025

BOLT

SN: 40001-UP

2шт.

25

01602-21030

WASHER,SPRING

SN: 40001-UP

2шт.

26

07000-72014

O-RING (K1)

SN: 40001-UP

2шт.

27

07000-72018

O-RING (1I)

SN: 42967-UP

1шт.

27

07000-72016

O-RING (K1)

SN: 40001-42966

1шт.

28

07000-72018

O-RING (K1)

SN: 40001-UP

1шт.

29

01010-50870

BOLT

SN: 40001-UP

5шт.

30

01602-20825

WASHER,SPRING

SN: 40001-UP

5шт.

Выбрано товаров: 43