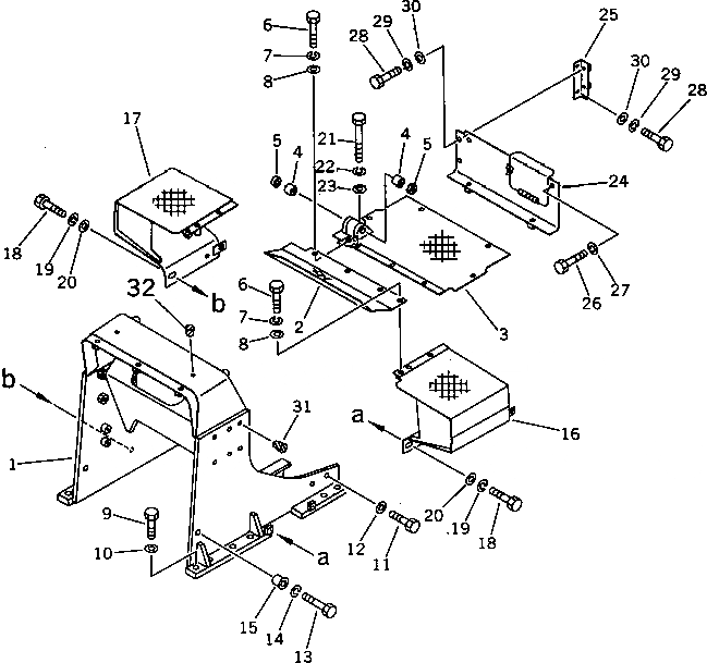
Запчасти Komatsu D31PL-18 ПОГРУЗ. РАМА И ПОЛ КАБИНЫ (С ПЕДАЛЬ ЗАМЕДЛИТЕЛЯ ОБОРОТОВ) ЧАСТИ КОРПУСА

Схема запчастей Komatsu D31PL-18 - ПОГРУЗ. РАМА И ПОЛ КАБИНЫ (С ПЕДАЛЬ ЗАМЕДЛИТЕЛЯ ОБОРОТОВ) ЧАСТИ КОРПУСА
FIT
1:1
100%

Артикул

Название

Примечание

Количество

1

11G-54-42111

FRAME,LOADER

SN: 40575-UP

1шт.

1

11G-54-49120

FRAME,LOADER

SN: 40001-40574

1шт.

2

113-54-43220

FLOOR,FRONT

SN: 40001-UP

1шт.

3

113-54-43210

FLOOR,REAR

SN: 40001-UP

1шт.

4

06120-01612

BEARING,NEEDLE

SN: 40001-UP

2шт.

5

06122-01603

SEAL,BEARING

SN: 40001-UP

2шт.

6

01010-51025

BOLT

SN: 40001-UP

9шт.

7

01602-21030

WASHER,SPRING

SN: 40001-UP

9шт.

8

01643-31032

WASHER

SN: 40001-UP

9шт.

9

01010-52060

BOLT

SN: 40001-UP

12шт.

10

01643-32060

WASHER

SN: 40001-UP

12шт.

11

01010-51640

BOLT

SN: 40001-UP

4шт.

12

01643-31645

WASHER

SN: 40001-UP

4шт.

13

01010-51035

BOLT

SN: 40001-UP

2шт.

14

01602-21030

WASHER,SPRING

SN: 40001-UP

2шт.

15

11G-54-41230

COLLAR

SN: 40001-UP

2шт.

16

113-54-43140

FENDER,L.H.

SN: 40001-UP

1шт.

17

113-54-43150

FENDER,R.H.

SN: 40001-UP

1шт.

18

01010-51025

BOLT

SN: 40001-UP

4шт.

19

01602-21030

WASHER,SPRING

SN: 40001-UP

4шт.

20

01643-31032

WASHER

SN: 40001-UP

4шт.

21

01010-51070

BOLT

SN: 40001-UP

2шт.

22

01602-21030

WASHER,SPRING

SN: 40001-UP

2шт.

23

01643-31032

WASHER

SN: 40001-UP

2шт.

24

113-54-44110

COVER

SN: 40001-UP

1шт.

25

113-54-34240

BRACKET

SN: 40001-UP

1шт.

26

01010-51025

BOLT

SN: 40001-UP

2шт.

27

01602-21030

WASHER,SPRING

SN: 40001-UP

2шт.

28

01010-51025

BOLT

SN: 40001-UP

4шт.

29

01602-21030

WASHER,SPRING

SN: 40001-UP

4шт.

30

01643-31032

WASHER

SN: 40001-UP

4шт.

31

07049-01620

PLUG

SN: 40001-UP

12шт.

32

07049-01418

PLUG

SN: 40575-UP

2шт.

Выбрано товаров: 33