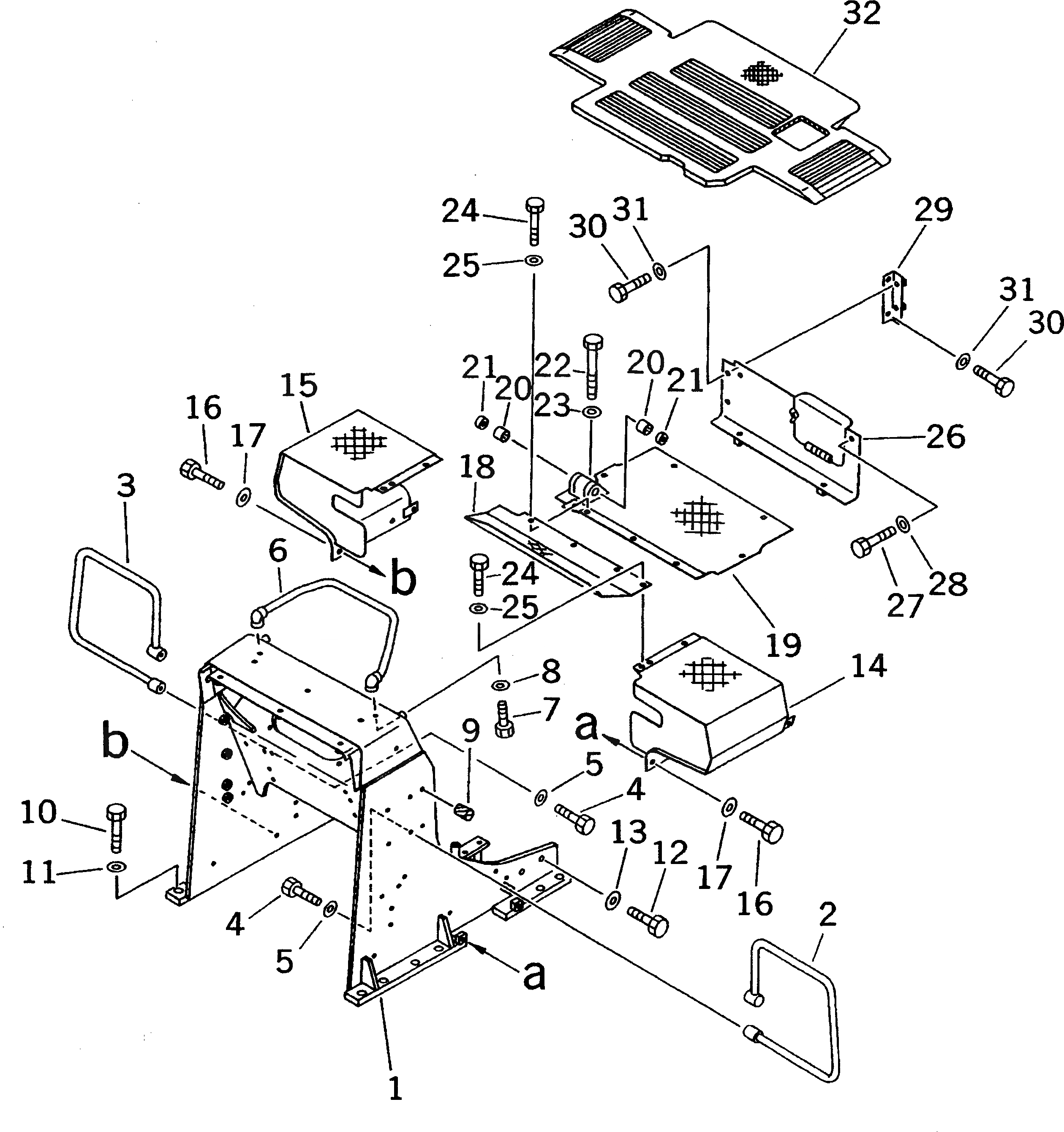
Запчасти Komatsu D31PL-20 ПОГРУЗ. РАМА И ПОЛ КАБИНЫ (С ПЕДАЛЬ ЗАМЕДЛИТЕЛЯ ОБОРОТОВ) КАБИНА ОПЕРАТОРА И СИСТЕМА УПРАВЛЕНИЯ

Схема запчастей Komatsu D31PL-20 - ПОГРУЗ. РАМА И ПОЛ КАБИНЫ (С ПЕДАЛЬ ЗАМЕДЛИТЕЛЯ ОБОРОТОВ) КАБИНА ОПЕРАТОРА И СИСТЕМА УПРАВЛЕНИЯ
FIT
1:1
100%

Артикул

Название

Примечание

Количество

1

11G-54-51110

FRAME,LOADER

SN: 47617-UP

1шт.

1

11G-54-42310

FRAME,LOADER

SN: 45001-47616

1шт.

2

114-54-42171

HANDLE,L.H.

SN: 47617-UP

1шт.

2

114-54-42170

HANDLE,L.H.

SN: 45001-47616

1шт.

3

114-54-42171

HANDLE,R.H.

SN: 47617-UP

1шт.

3

114-54-42170

HANDLE,R.H.

SN: 45001-47616

1шт.

4

01010-81245

BOLT

SN: 45001-UP

4шт.

5

01643-31232

WASHER

SN: 45001-UP

4шт.

6

104-54-31311

HANDLE

SN: 47617-UP

1шт.

6

114-54-42230

HANDLE

SN: 45001-47616

1шт.

7

01010-81020

BOLT

SN: 45001-UP

2шт.

8

01643-31032

WASHER

SN: 45001-UP

2шт.

9

07049-01620

PLUG

SN: 45001-UP

8шт.

10

01010-82060

BOLT

SN: 45001-UP

12шт.

11

01643-32060

WASHER

SN: 45001-UP

12шт.

12

01010-81640

BOLT

SN: 45001-UP

4шт.

13

01643-31645

WASHER

SN: 45001-UP

4шт.

14

11G-54-43311

FENDER,L.H.

SN: 45001-UP

1шт.

15

11G-54-43321

FENDER,R.H.

SN: 45001-UP

1шт.

16

01010-81025

BOLT

SN: 45001-UP

4шт.

17

01643-31032

WASHER

SN: 45001-UP

4шт.

18

113-54-43220

FLOOR,FRONT

SN: 45001-UP

1шт.

19

113-54-43210

FLOOR,REAR

SN: 45001-UP

1шт.

20

06120-01612

BEARING,NEEDLE

SN: 45001-UP

2шт.

21

06122-01603

SEAL,BEARING

SN: 45001-UP

4шт.

22

01010-81025

BOLT

SN: 45001-UP

2шт.

23

01643-31032

WASHER

SN: 45001-UP

2шт.

24

01010-81025

BOLT

SN: 45001-UP

9шт.

25

01643-31032

WASHER

SN: 45001-UP

9шт.

26

113-54-44110

COVER

SN: 45001-UP

1шт.

26

113-54-44510

COVER,FOR OIL DAMPER SEAT

SN: 45001-UP

1шт.

27

01010-81020

BOLT

SN: 45001-UP

2шт.

27

01010-81025

BOLT,FOR OIL DAMPER SEAT

SN: 45001-UP

2шт.

28

01643-31032

WASHER

SN: 45001-UP

2шт.

28

01602-21030

WASHER,FOR OIL DAMPER SEAT

SN: 45001-UP

2шт.

29

114-54-43250

BRACKET

SN: 45001-UP

1шт.

30

01010-81025

BOLT

SN: 45001-UP

4шт.

31

01643-31032

WASHER

SN: 45001-UP

4шт.

32

114-54-43121

MAT

SN: 45001-UP

1шт.

Выбрано товаров: 39