Запчасти Komatsu D31PL-20 СТАЛЬНАЯ КАБИНА (ДВЕРЬ) (/) КАБИНА ОПЕРАТОРА И СИСТЕМА УПРАВЛЕНИЯ

Схема запчастей Komatsu D31PL-20 - СТАЛЬНАЯ КАБИНА (ДВЕРЬ) (/) КАБИНА ОПЕРАТОРА И СИСТЕМА УПРАВЛЕНИЯ
FIT
1:1
100%

Артикул

Название

Примечание

Количество

|1

114-X11-0062

CAB ASS'Y

SN: 48679-UP

1шт.

|1

114-X11-0061

CAB ASS'Y

SN: 47617-48678

1шт.

|1

114-X11-0060

CAB ASS'Y

SN: 45001-47616

1шт.

|$$4

THESE ASSEMBLIES CONSIST OF ALL PARTS SHOWN IN FIGS.K0210-11A0 TO K0210-16A0.

-1шт.

|1

114-X11-0070

CAB ASS'Y

SN: 48679-UP

1шт.

|$$6

THIS ASSEMBLY CONSISTS OF ALL PARTS SHOWN IN FIGS.K0210-11A0 TO K0210-17A0.

-1шт.

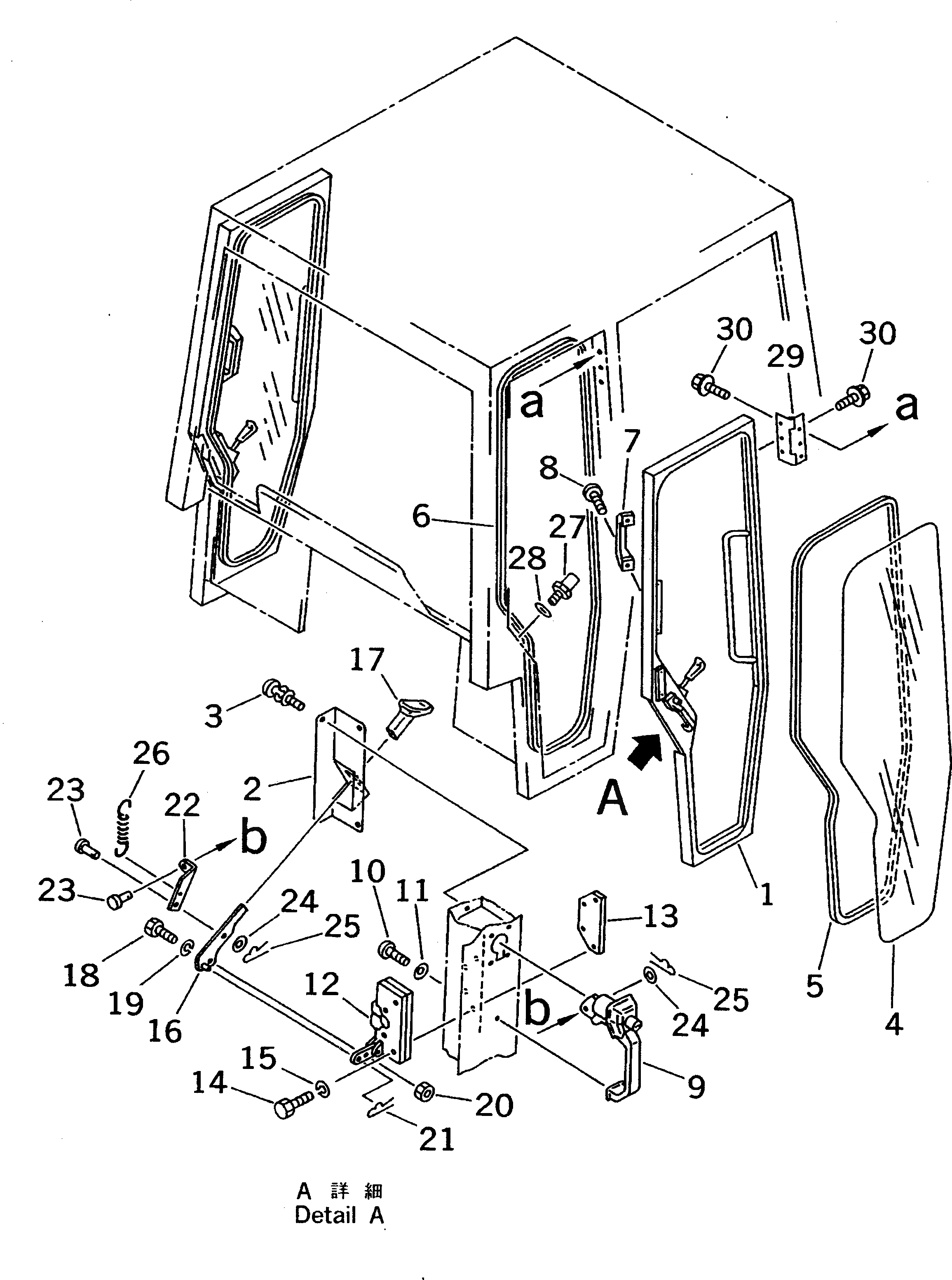
1

114-X11-1510

DOOR,L.H.

SN: 45001-UP

1шт.

|1

114-X11-1521

DOOR,R.H.

SN: 47617-UP

1шт.

|1

114-X11-1520

DOOR,R.H.

SN: 45001-47616

1шт.

2

114-X11-1530

COVER,L.H.

SN: 45001-UP

1шт.

|2

114-X11-1540

COVER,R.H.

SN: 45001-UP

1шт.

3

01023-70612

SCREW

SN: 45001-UP

8шт.

4

114-X11-1550

GLASS

SN: 45001-UP

2шт.

5

09410-40345

STRIP,WEATHER

SN: 45001-UP

2шт.

6

114-X11-1560

SEAL

SN: 45001-UP

2шт.

7

361-54-21150

HANDLE

SN: 45001-UP

2шт.

8

01220-40820

SCREW

SN: 45001-UP

4шт.

9

14X-911-1531

HANDLE

SN: 45001-UP

2шт.

10

01220-40512

SCREW

SN: 45001-UP

10шт.

11

01641-20508

WASHER

SN: 45001-UP

10шт.

12

195-Z11-4510

LOCK,L.H.

SN: 45001-UP

1шт.

|12

195-Z11-4520

LOCK,R.H.

SN: 45001-UP

1шт.

13

114-X11-1690

NUT,PLATE

SN: 45001-UP

2шт.

14

01010-80630

BOLT

SN: 45001-UP

8шт.

15

01602-20619

WASHER,SPRING

SN: 45001-UP

8шт.

16

114-X11-1570

LEVER,L.H.

SN: 45001-UP

1шт.

|16

114-X11-1580

LEVER,R.H.

SN: 45001-UP

1шт.

17

14X-911-1540

KNOB

SN: 45001-UP

2шт.

18

01010-80616

BOLT

SN: 45001-UP

2шт.

19

01602-20619

WASHER,SPRING

SN: 45001-UP

2шт.

20

01580-10605

NUT

SN: 45001-UP

2шт.

21

04052-10430

PIN,SNAP

SN: 45001-UP

2шт.

22

114-X11-1610

PLATE,L.H.

SN: 45001-UP

1шт.

|22

114-X11-1620

PLATE,R.H.

SN: 45001-UP

1шт.

23

04205-10614

PIN

SN: 45001-UP

4шт.

24

01641-20608

WASHER

SN: 45001-UP

4шт.

25

04052-10633

PIN,SNAP

SN: 45001-UP

4шт.

26

176-06-42170

SPRING

SN: 45001-UP

2шт.

27

14X-911-1631

STRIKER

SN: 45001-UP

2шт.

28

01643-31232

WASHER

SN: 45001-UP

2шт.

29

14X-911-1330

HINGE

SN: 45001-UP

4шт.

30

01435-01025

BOLT

SN: 45001-UP

24шт.

Выбрано товаров: 0