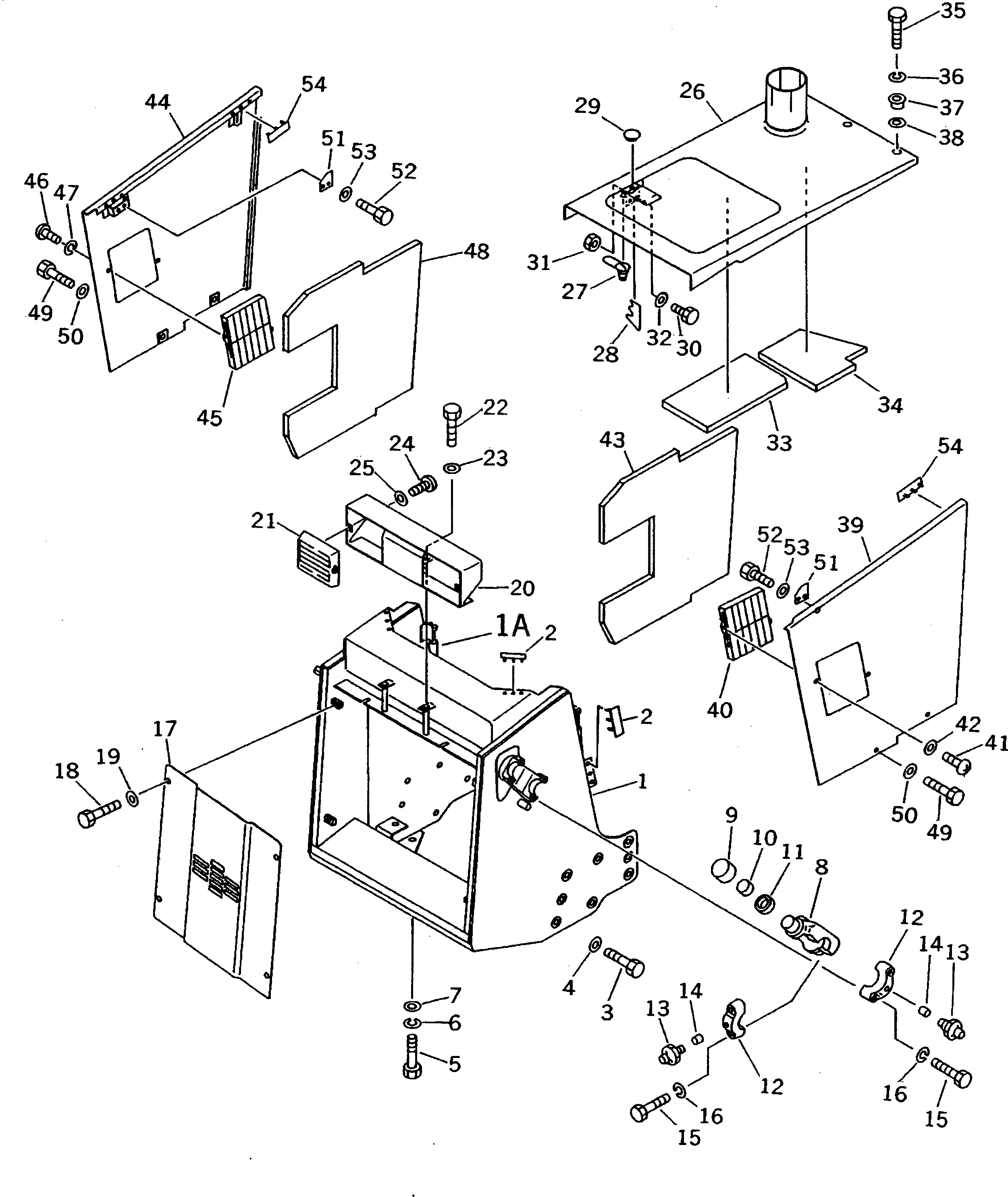
Запчасти Komatsu D31PL-20 ЗАЩИТА РАДИАТОРА AND КАПОТ(№-7) ЧАСТИ КОРПУСА

Схема запчастей Komatsu D31PL-20 - ЗАЩИТА РАДИАТОРА AND КАПОТ(№-7) ЧАСТИ КОРПУСА
FIT
1:1
100%

Артикул

Название

Примечание

Количество

1

11G-54-41612

GUARD,RADIATOR (FOR D31P¤ PL)

SN: 45001-47616

1шт.

|1

11G-C74-6211

GUARD,RADIATOR (FOR D31PLL)

SN: 45001-47616

1шт.

1A

120-54-31220

CATCHER ASS'Y,ENGINE HOOD (WELDED)

SN: 45001-@

2шт.

2

114-54-41250

SHEET

SN: 45001-@

4шт.

3

01010-51850

BOLT

SN: 45001-@

16шт.

4

01643-31845

WASHER

SN: 45001-@

16шт.

5

01010-51435

BOLT

SN: 45001-@

2шт.

6

01602-21442

WASHER,SPRING

SN: 45001-@

2шт.

7

01643-31445

WASHER

SN: 45001-@

2шт.

8

120-54-31321

SUPPORT

SN: 45001-@

2шт.

9

120-54-31371

HOUSING

SN: 45001-@

8шт.

10

120-54-31381

BUSHING

SN: 45001-@

8шт.

11

07145-00040

SEAL

SN: 45001-@

8шт.

12

120-54-31361

CAP

SN: 45001-@

8шт.

13

07020-00000

FITTING,GREASE

SN: 45001-@

8шт.

14

170-70-15190

PIN

SN: 45001-@

8шт.

15

01010-51260

BOLT

SN: 45001-@

16шт.

16

01602-21236

WASHER,SPRING

SN: 45001-@

16шт.

17

114-54-41152

GRILLE

SN: 45001-@

1шт.

|17

114-54-41350

GRILLE,(REINFORCED TYPE)

SN: 45001-@

1шт.

18

01010-51430

BOLT

SN: 45001-@

4шт.

19

01643-31445

WASHER

SN: 45001-@

4шт.

20

114-54-41270

COVER

SN: 45001-47616

1шт.

21

114-54-41291

COVER

SN: 45001-47616

2шт.

22

01011-51020

BOLT

SN: 45001-47616

2шт.

23

01643-31032

WASHER

SN: 45001-@

2шт.

24

01220-40616

SCREW

SN: 45001-@

4шт.

25

01643-30623

WASHER

SN: 45001-@

4шт.

26

114-54-41322

HOOD

SN: 45001-47616

1шт.

27

205-60-71220

LOCK ASS'Y

SN: 45001-@

1шт.

28

09461-00020

LEVER ASS'Y

SN: 45001-@

1шт.

29

203-54-32260

STOPPER

SN: 45001-@

1шт.

30

01010-51025

BOLT

SN: 45001-@

2шт.

31

01580-01008

NUT

SN: 45001-@

2шт.

32

01643-31032

WASHER

SN: 45001-@

2шт.

33

114-54-41591

SHEET

SN: 45001-47616

1шт.

34

114-54-44260

SHEET

SN: 45001-47616

1шт.

35

01010-51435

BOLT

SN: 45001-@

3шт.

36

01643-31445

WASHER

SN: 45001-@

3шт.

37

113-54-41340

COLLAR

SN: 45001-@

3шт.

38

113-54-31350

SEAT

SN: 45001-@

3шт.

39

11G-54-41731

COVER,L.H.

SN: 45001-@

1шт.

40

114-54-42621

DUCT

SN: 45001-47616

1шт.

41

01220-40616

SCREW

SN: 45001-47616

2шт.

42

01643-30623

WASHER

SN: 45001-47616

2шт.

43

114-54-41581

SHEET

SN: 45001-@

1шт.

44

11G-54-41741

COVER,R.H.

SN: 45001-@

1шт.

45

114-54-42621

DUCT

SN: 45001-47616

1шт.

46

01220-40616

SCREW

SN: 45001-47616

2шт.

47

01643-30623

WASHER

SN: 45001-47616

2шт.

48

114-54-44220

SHEET

SN: 45001-@

1шт.

49

01010-51025

BOLT

SN: 45001-@

4шт.

50

01643-31032

WASHER

SN: 45001-@

4шт.

51

104-54-31391

PLATE

SN: 45001-@

2шт.

52

01010-51020

BOLT

SN: 45001-@

4шт.

53

01643-31032

WASHER

SN: 45001-@

4шт.

54

114-54-41250

SHEET

SN: 45001-@

4шт.

Выбрано товаров: 57