Запчасти Komatsu D31PL-20 РАДИАТОР И ТРУБЫ (С СТАЛЬНАЯ КАБИНА И КОНДИЦ. ВОЗДУХА)(№-89) СИСТЕМА ОХЛАЖДЕНИЯ

Схема запчастей Komatsu D31PL-20 - РАДИАТОР И ТРУБЫ (С СТАЛЬНАЯ КАБИНА И КОНДИЦ. ВОЗДУХА)(№-89) СИСТЕМА ОХЛАЖДЕНИЯ
FIT
1:1
100%

Артикул

Название

Примечание

Количество

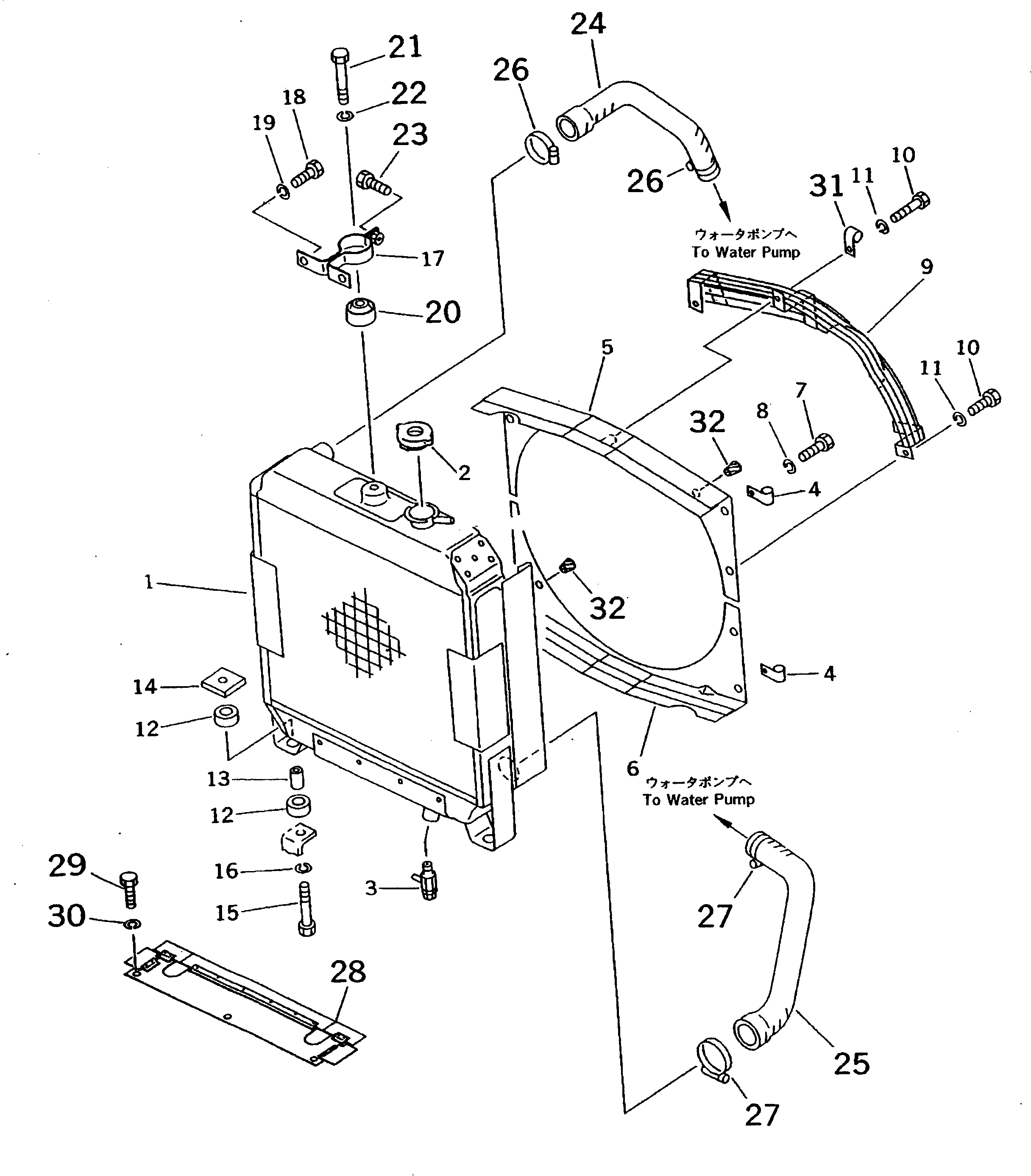
1

113-03-41710

CORE ASS'Y

SN: 45001-@

1шт.

2

114-03-48160

CAP

SN: 45001-@

1шт.

3

07730-10003

VALVE

SN: 45001-@

1шт.

4

281-03-12620

CLAMP

SN: 45001-@

2шт.

5

113-03-41720

SHROUD,UPPER

SN: 45001-46894

1шт.

6

114-03-48341

SHROUD,LOWER

SN: 45001-46894

1шт.

7

01010-51025

BOLT

SN: 45001-@

6шт.

8

01602-21030

WASHER,SPRING

SN: 45001-@

6шт.

9

114-03-42130

NET,WIRE

SN: 45001-46894

1шт.

10

01010-51025

BOLT

SN: 45001-46894

3шт.

11

01602-21030

WASHER,SPRING

SN: 45001-46894

3шт.

12

113-03-21160

SEAT

SN: 45001-@

4шт.

13

113-03-21170

SPACER

SN: 45001-@

2шт.

14

113-03-21180

PLATE

SN: 45001-@

2шт.

15

01010-51060

BOLT

SN: 45001-@

2шт.

16

01602-21030

WASHER,SPRING

SN: 45001-@

2шт.

17

113-03-41191

BRACKET

SN: 45001-@

1шт.

18

01010-51025

BOLT

SN: 45001-@

2шт.

19

01602-21030

WASHER,SPRING

SN: 45001-@

2шт.

20

135-03-12110

DAMPER

SN: 45001-@

1шт.

21

01010-51460

BOLT

SN: 45001-@

1шт.

22

01602-21442

WASHER,SPRING

SN: 45001-@

1шт.

23

01010-51030

BOLT

SN: 45001-@

1шт.

24

114-03-41140

HOSE,INLET

SN: 45001-@

1шт.

25

113-03-41150

HOSE,OUTLET

SN: 45001-@

1шт.

26

207-09-11110

CLAMP

SN: 45001-@

2шт.

27

208-09-11110

CLAMP

SN: 45001-@

2шт.

28

114-03-41171

BAFFLE

SN: 45001-@

1шт.

29

01010-51025

BOLT

SN: 45001-@

3шт.

30

01602-21030

WASHER,SPRING

SN: 45001-@

3шт.

31

08036-91214

CLIP

SN: 45001-@

1шт.

32

07049-01012

PLUG

SN: 45001-@

2шт.

Выбрано товаров: 32