Запчасти Komatsu D31PLL-18 ROPS КОРПУС ЧАСТИ КОРПУСА

Схема запчастей Komatsu D31PLL-18 - ROPS КОРПУС ЧАСТИ КОРПУСА
FIT
1:1
100%

Артикул

Название

Примечание

Количество

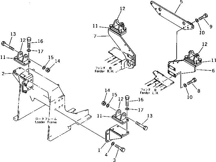
1

114-X78-1110

BRACKET,L.H.

SN: 40001-UP

1шт.

2

114-X78-1120

BRACKET,R.H.

SN: 40001-UP

1шт.

3

01010-51650

BOLT

SN: 40001-UP

12шт.

4

01643-31645

WASHER

SN: 40001-UP

12шт.

5

113-X78-1180

SUPPORT

SN: 40001-UP

1шт.

6

113-X78-1160

BRACKET,L.H.

SN: 40001-UP

1шт.

7

113-X78-1170

BRACKET,R.H.

SN: 40001-UP

1шт.

8

01010-51660

BOLT

SN: 40001-UP

8шт.

9

01010-51640

BOLT

SN: 40001-UP

6шт.

10

01643-31645

WASHER

SN: 40001-UP

14шт.

11

113-Z78-1140

SEAT

SN: 40001-UP

4шт.

12

113-Y78-1190

BRACKET

SN: 40001-UP

4шт.

13

141-978-2150

BOLT

SN: 40001-UP

4шт.

14

175-978-3210

NUT

SN: 40001-UP

4шт.

15

01643-32780

WASHER

SN: 40001-UP

4шт.

16

01010-51645

BOLT

SN: 40662-UP

16шт.

16

01010-51640

BOLT

SN: 40001-40661

16шт.

17

01643-31645

WASHER

SN: 40001-UP

16шт.

Выбрано товаров: 18