Запчасти Komatsu D31PLL-18 КАБИНА ROPS (ЭЛЕМЕНТЫ КРЕПЛЕНИЯ) (/) (СПЕЦ-Я TBG) ЧАСТИ КОРПУСА

Схема запчастей Komatsu D31PLL-18 - КАБИНА ROPS (ЭЛЕМЕНТЫ КРЕПЛЕНИЯ) (/) (СПЕЦ-Я TBG) ЧАСТИ КОРПУСА
FIT
1:1
100%

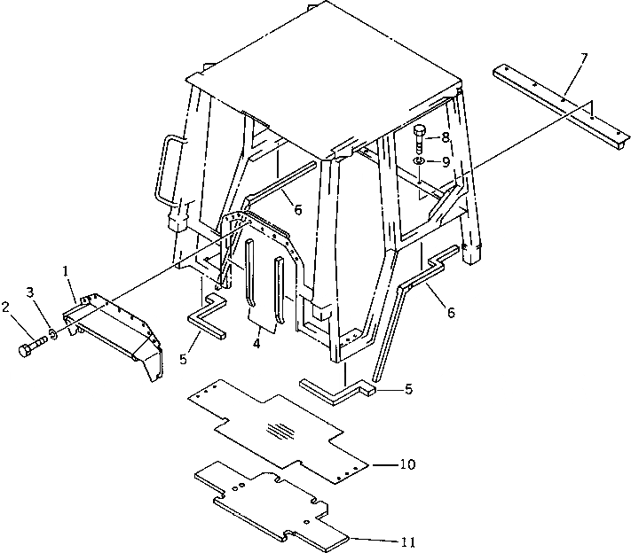
Артикул

Название

Примечание

Количество

1

114-X79-1711

SEAL,FRONT

SN: 40001-UP

1шт.

2

01010-50616

BOLT

SN: 40001-UP

9шт.

3

01602-20619

WASHER,SPRING

SN: 40001-UP

9шт.

4

114-X79-1720

SEAL

SN: 40001-UP

2шт.

5

113-X79-1840

SEAL

SN: 40001-UP

2шт.

6

113-Y79-1741

SEAL,L.H.

SN: 40001-UP

1шт.

6

11K-Y11-1410

SEAL,R.H.

SN: 40001-UP

1шт.

7

113-X79-1730

SEAL,REAR

SN: 40001-UP

1шт.

8

01010-51025

BOLT

SN: 40001-UP

5шт.

9

01602-21030

WASHER,SPRING

SN: 40001-UP

5шт.

10

113-X79-1990

MAT

SN: 40001-UP

1шт.

11

113-X79-1980

MAT

SN: 40001-UP

1шт.

12

113-Y79-4330

BOX

SN: 40001-UP

1шт.

13

01220-40616

SCREW

SN: 40001-UP

2шт.

14

01602-20619

WASHER,SPRING

SN: 40001-UP

2шт.

15

113-C44-1220

BRACKET

SN: 40001-UP

1шт.

16

01010-51020

BOLT

SN: 40001-UP

2шт.

17

01602-21030

WASHER,SPRING

SN: 40001-UP

2шт.

Выбрано товаров: 18