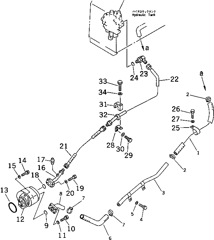
Запчасти Komatsu D31PLL-18 ГИДРОЛИНИЯ (ИЗ БАКА В НАСОС - КЛАПАН) (СПЕЦ-Я TBG) УПРАВЛ-Е РАБОЧИМ ОБОРУДОВАНИЕМ

Схема запчастей Komatsu D31PLL-18 - ГИДРОЛИНИЯ (ИЗ БАКА В НАСОС - КЛАПАН) (СПЕЦ-Я TBG) УПРАВЛ-Е РАБОЧИМ ОБОРУДОВАНИЕМ
FIT
1:1
100%

Артикул

Название

Примечание

Количество

1

07260-23271

HOSE

SN: 40001-UP

1шт.

2

07281-00489

CLAMP

SN: 40001-UP

4шт.

3

113-62-41110

TUBE

SN: 40001-UP

1шт.

4

01010-51025

BOLT

SN: 40001-UP

2шт.

5

01643-31032

WASHER

SN: 40001-UP

2шт.

6

113-62-41120

HOSE

SN: 40001-UP

1шт.

7

07281-00489

CLAMP

SN: 40001-UP

4шт.

8

113-62-41130

PIPE

SN: 40001-UP

1шт.

9

07042-20108

PLUG

SN: 40001-UP

1шт.

10

07000-03035

O-RING

SN: 40001-UP

1шт.

11

01010-51035

BOLT

SN: 40001-UP

4шт.

12

01602-21030

WASHER,SPRING

SN: 40001-UP

4шт.

13

705-21-31020

PUMP ASS'Y (SAL2-36),(SEE FIG.6101)

SN: 40001-UP

1шт.

14

07000-02105

O-RING

SN: 40001-UP

1шт.

15

01010-51235

BOLT

SN: 40001-UP

2шт.

16

01643-31232

WASHER

SN: 40001-UP

2шт.

17

113-62-41240

TUBE

SN: 40001-UP

1шт.

18

07042-20108

PLUG

SN: 40001-UP

1шт.

19

07000-13030

O-RING

SN: 40001-UP

1шт.

20

01010-50840

BOLT

SN: 40001-UP

4шт.

21

01643-30823

WASHER

SN: 40001-UP

4шт.

22

07123-00605

HOSE

SN: 40001-UP

1шт.

23

113-62-41210

TUBE

SN: 40001-UP

1шт.

24

113-62-21240

ELBOW

SN: 40001-UP

1шт.

25

07002-13334

O-RING

SN: 40001-UP

1шт.

26

176-911-1690

CLIP

SN: 40001-UP

1шт.

27

01010-51020

BOLT

SN: 40001-UP

1шт.

28

01643-31032

WASHER

SN: 40001-UP

1шт.

29

113-62-41610

BRACKET

SN: 40001-UP

1шт.

30

01010-51025

BOLT

SN: 40001-UP

2шт.

31

01643-31032

WASHER

SN: 40001-UP

2шт.

32

203-62-43370

CLAMP

SN: 40001-UP

1шт.

33

203-62-43380

CUSHION

SN: 40001-UP

1шт.

34

01010-51270

BOLT

SN: 40001-UP

1шт.

35

01643-31232

WASHER

SN: 40001-UP

1шт.

Выбрано товаров: 35