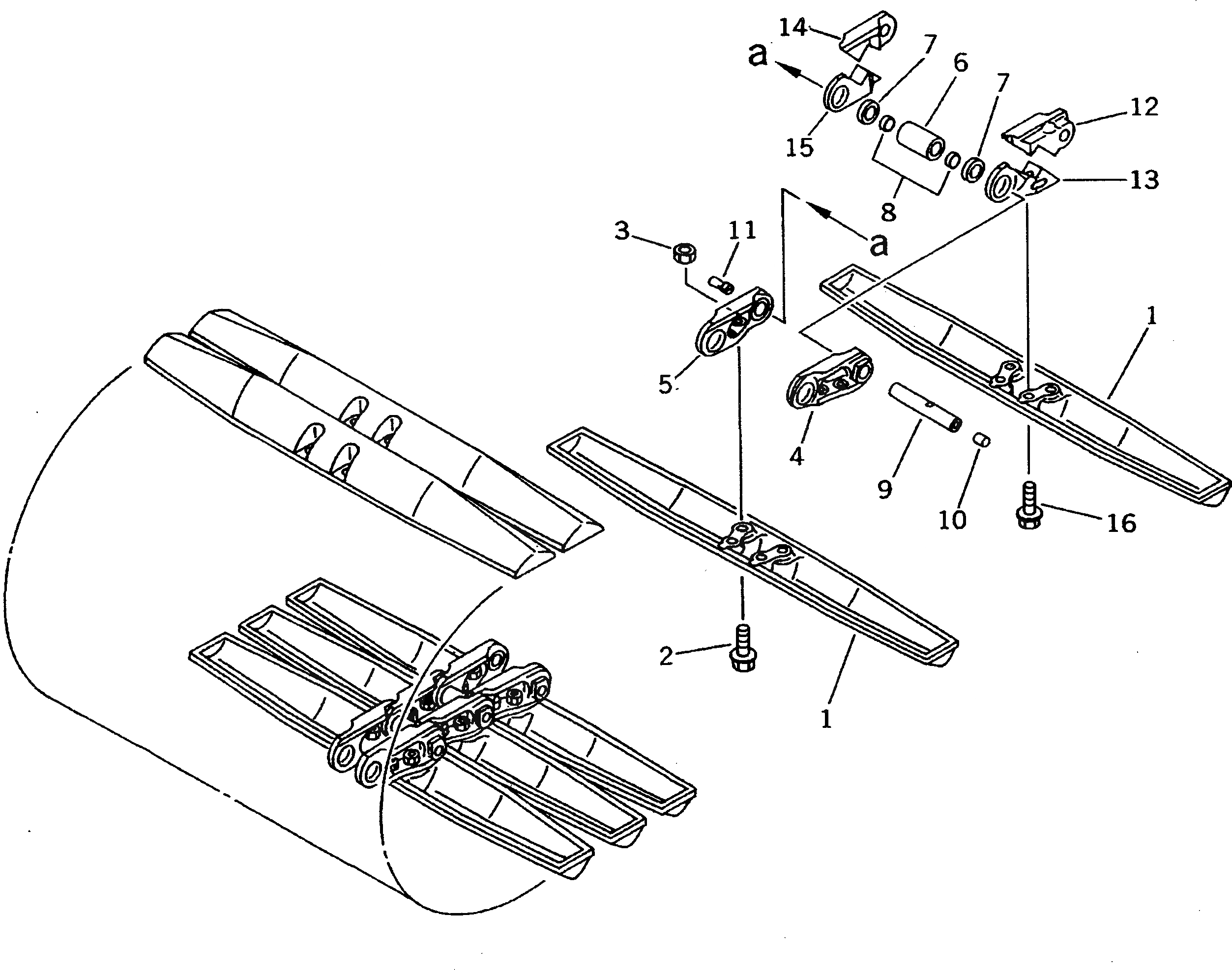
Запчасти Komatsu D31PLL-18 ГУСЕНИЦЫ (СМАЗЫВ. ТИПА) (БОЛОТН.) ГУСЕНИЦЫ

Схема запчастей Komatsu D31PLL-18 - ГУСЕНИЦЫ (СМАЗЫВ. ТИПА) (БОЛОТН.) ГУСЕНИЦЫ
FIT
1:1
100%

Артикул

Название

Примечание

Количество

|$$1

1050MM WIDE

-1шт.

|$1

11G-A74-0127

TRACK SHOE ASS'Y

SN: 44491-UP

1шт.

|$2

0

TRACK SHOE ASS'Y

SN: 40001-44490

1шт.

1

11G-A70-4113

SHOE,TRACK

SN: 40001-UP

92шт.

2

11G-32-21212

BOLT, SHOE (KIT)

SN: 44491-UP

360шт.

2

11G-32-21211

BOLT, SHOE (KIT)

SN: 40001-44490

360шт.

3

112-32-11221

NUT (KIT)

SN: 44491-UP

360шт.

3

112-32-11220

NUT (KIT)

SN: 40001-44490

360шт.

|$8

11G-A74-0024

TRACK LINK ASS'Y

SN: 40001-UP

1шт.

4

112-32-21120

LINK,TRACK, L.H.

SN: 40001-UP

90шт.

5

112-32-21130

LINK,TRACK, R.H.

SN: 40001-UP

90шт.

6

112-32-21140

BUSHING

SN: 40001-UP

92шт.

7

112-32-21400

SEAL ASS'Y

SN: 40001-UP

184шт.

8

112-32-21430

SPACER

SN: 40001-UP

184шт.

9

112-32-21152

PIN

SN: 40001-UP

92шт.

10

07059-11222

PLUG,LARGE

SN: 40001-UP

92шт.

11

07059-20721

PLUG,SMALL

SN: 40001-UP

92шт.

12

112-32-21221

LINK,MASTER, L.H., PIN SIDE

SN: 40001-UP

2шт.

13

112-32-21231

LINK,MASTER, L.H., BUSHING SIDE

SN: 40001-UP

2шт.

14

112-32-21321

LINK,MASTER, R.H., PIN SIDE

SN: 40001-UP

2шт.

15

112-32-21331

LINK,MASTER, R.H., BUSHING SIDE

SN: 40001-UP

2шт.

16

112-32-21362

BOLT,MASTER

SN: 40001-UP

8шт.

|$$23

SERVICE KIT

-1шт.

1

11G-32-05001

SHOE BOLT AND NUT K.

SN: 44491-UP

1шт.

1

0

SHOE BOLT AND NUT K.

SN: 40001-44490

1шт.

1

11G-32-21212

BOLT, SHOE

SN: 44491-UP

50шт.

1

11G-32-21211

BOLT, SHOE

SN: 40001-44490

50шт.

2

112-32-11221

NUT

SN: 44491-UP

50шт.

2

112-32-11220

NUT

SN: 40001-44490

50шт.

|$$30

OVERSIZE PARTS

-1шт.

|$$31

SELECT AS REQUIRED NOT NECESSARY TO USE ALL OF THE OVERSIZE PARTS.

-1шт.

|$$32

0.10MM OVERSIZE

-1шт.

6

112-98-09210

BUSHING

SN: 40001-UP

-2шт.

9

112-98-09071

PIN

SN: 40001-UP

-2шт.

|$$35

0.18MM OVERSIZE

-1шт.

6

112-98-09220

BUSHING

SN: 40001-UP

-2шт.

9

112-98-09081

PIN

SN: 40001-UP

-2шт.

Выбрано товаров: 37