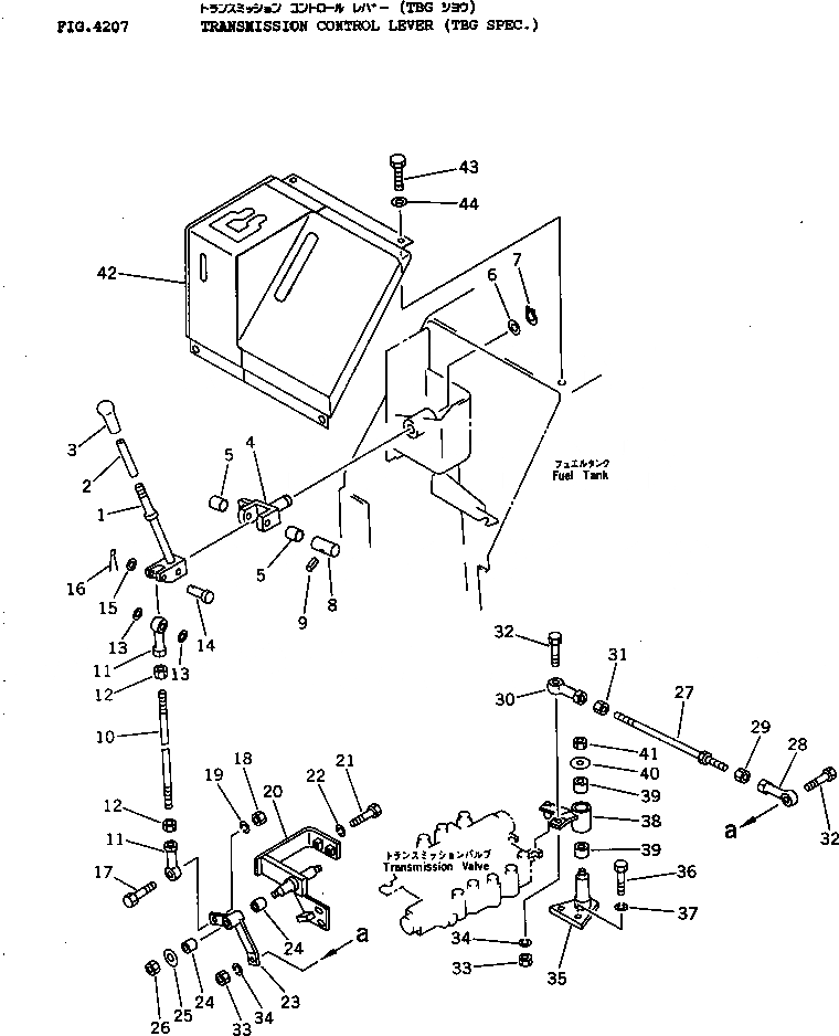
Запчасти Komatsu D31PLL-18 РЫЧАГ УПРАВЛ-Я ТРАНСМИССИЕЙ (СПЕЦ-Я TBG) СИСТЕМА УПРАВЛЕНИЯ

Схема запчастей Komatsu D31PLL-18 - РЫЧАГ УПРАВЛ-Я ТРАНСМИССИЕЙ (СПЕЦ-Я TBG) СИСТЕМА УПРАВЛЕНИЯ
FIT
1:1
100%

Артикул

Название

Примечание

Количество

1

103-43-34110

LEVER

SN: 40001-UP

1шт.

2

104-43-24130

BUSHING

SN: 40001-UP

1шт.

3

113-43-23420

KNOB

SN: 40001-UP

1шт.

|$3

103-43-00390

YOKE ASS'Y

SN: 40001-UP

1шт.

4

0

YOKE

SN: 40001-UP

1шт.

5

203-43-31420

BUSHING

SN: 40001-UP

2шт.

6

01641-21423

WASHER

SN: 40001-UP

1шт.

7

04064-01410

RING,SNAP

SN: 40001-UP

1шт.

8

103-43-36140

PIN

SN: 40001-UP

1шт.

9

04025-00324

PIN,SPRING

SN: 40001-UP

1шт.

10

04245-40845

ROD

SN: 40001-UP

1шт.

11

04250-80847

END,ROD

SN: 40001-UP

2шт.

12

01580-10806

NUT

SN: 40001-UP

2шт.

13

04254-00823

SPACER

SN: 40001-UP

2шт.

14

04205-10835

PIN

SN: 40001-UP

1шт.

15

01641-20812

WASHER

SN: 40001-UP

1шт.

16

04050-12015

PIN,COTTER

SN: 40001-UP

1шт.

17

01010-50830

BOLT

SN: 40001-UP

1шт.

18

01580-10806

NUT

SN: 40001-UP

1шт.

19

01602-20825

WASHER,SPRING

SN: 40001-UP

1шт.

20

113-43-44110

BRACKET

SN: 40001-UP

1шт.

21

01010-51030

BOLT

SN: 40001-UP

2шт.

22

01602-21030

WASHER,SPRING

SN: 40001-UP

2шт.

|$23

113-43-01020

LEVER ASS'Y

SN: 40001-UP

1шт.

23

0

LEVER

SN: 40001-UP

1шт.

24

09350-01415

BUSHING

SN: 40001-UP

2шт.

25

113-43-23230

WASHER

SN: 40001-UP

1шт.

26

01598-00809

NUT

SN: 40001-UP

1шт.

27

04248-30832

ROD

SN: 40001-UP

1шт.

28

04250-80847

END,ROD

SN: 40001-UP

1шт.

29

01580-10806

NUT

SN: 40001-UP

1шт.

30

04250-90847

END,ROD, L.H. THREAD

SN: 40001-UP

1шт.

31

01508-20805

NUT,L.H. THREAD

SN: 40001-UP

1шт.

32

01010-50830

BOLT

SN: 40001-UP

2шт.

33

01580-10806

NUT

SN: 40001-UP

2шт.

34

01602-20825

WASHER,SPRING

SN: 40001-UP

2шт.

35

113-43-34170

SHAFT

SN: 40001-UP

1шт.

36

01010-51025

BOLT

SN: 40001-UP

2шт.

37

01602-21030

WASHER,SPRING

SN: 40001-UP

2шт.

|$39

113-43-00670

LEVER ASS'Y

SN: 40001-UP

1шт.

38

0

LEVER

SN: 40001-UP

1шт.

39

09350-01415

BUSHING

SN: 40001-UP

2шт.

40

113-43-23230

WASHER

SN: 40001-UP

1шт.

41

01598-00809

NUT

SN: 40001-UP

1шт.

42

113-43-44160

COVER

SN: 40001-UP

1шт.

43

113-B44-1230

BOLT

SN: 40001-UP

2шт.

44

01643-31032

WASHER

SN: 40001-UP

2шт.

Выбрано товаров: 47