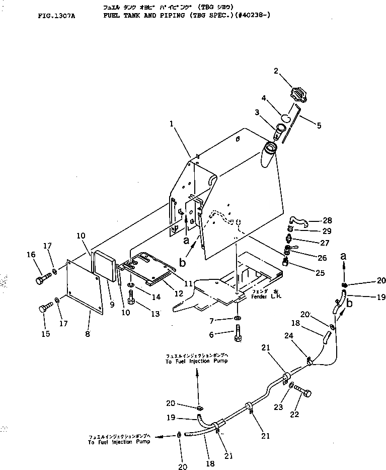
Запчасти Komatsu D31PLL-18 ТОПЛ. БАК И ТОПЛИВОПРОВОД (СПЕЦ-Я TBG)(№79-) КОМПОНЕНТЫ ДВИГАТЕЛЯ И ЭЛЕКТРИКА

Схема запчастей Komatsu D31PLL-18 - ТОПЛ. БАК И ТОПЛИВОПРОВОД (СПЕЦ-Я TBG)(№79-) КОМПОНЕНТЫ ДВИГАТЕЛЯ И ЭЛЕКТРИКА
FIT
1:1
100%

Артикул

Название

Примечание

Количество

1

113-04-49123

TANK

SN: 41922-UP

1шт.

1

113-04-49122

TANK

SN: 40001-41921

1шт.

2

07091-10920

CAP

SN: 40001-UP

1шт.

2

07050-20922

GASKET

SN: 40001-UP

1шт.

3

07056-16415

STRAINER

SN: 40001-UP

1шт.

4

07057-03266

RING

SN: 40001-UP

1шт.

5

113-04-41120

GAUGE

SN: 40001-UP

1шт.

6

01010-51440

BOLT

SN: 40001-UP

4шт.

7

01643-31445

WASHER

SN: 40001-UP

4шт.

8

113-54-43230

PLATE

SN: 41759-UP

1шт.

9

113-C62-2580

ABSORBER

SN: 41759-UP

1шт.

10

144-A62-8410

SEAL

SN: 41759-UP

1шт.

11

113-C62-2480

SEAT

SN: 41759-UP

1шт.

12

113-C62-2470

SHEET

SN: 41759-UP

1шт.

13

01010-51020

BOLT

SN: 40001-UP

4шт.

14

01602-21030

WASHER,SPRING

SN: 40001-UP

4шт.

15

01010-51020

BOLT

SN: 41759-UP

2шт.

16

113-B44-1230

BOLT

SN: 41759-UP

2шт.

17

01643-31032

WASHER

SN: 40001-UP

4шт.

18

07288-01019

HOSE

SN: 40001-UP

1шт.

19

07288-01024

HOSE

SN: 40001-UP

1шт.

20

07281-00197

CLAMP

SN: 40001-UP

4шт.

21

08036-03014

CLIP

SN: 40001-UP

3шт.

22

01010-51020

BOLT

SN: 40001-UP

3шт.

23

01602-21030

WASHER,SPRING

SN: 40001-UP

3шт.

24

08036-01414

CLIP

SN: 40001-UP

1шт.

25

113-04-32120

ELBOW

SN: 40001-UP

1шт.

26

07700-40240

VALVE

SN: 40001-UP

1шт.

27

113-04-22150

NIPPLE

SN: 40001-UP

1шт.

28

07270-01265

TUBE

SN: 40001-UP

1шт.

29

07285-00150

CLIP

SN: 40001-UP

1шт.

Выбрано товаров: 31