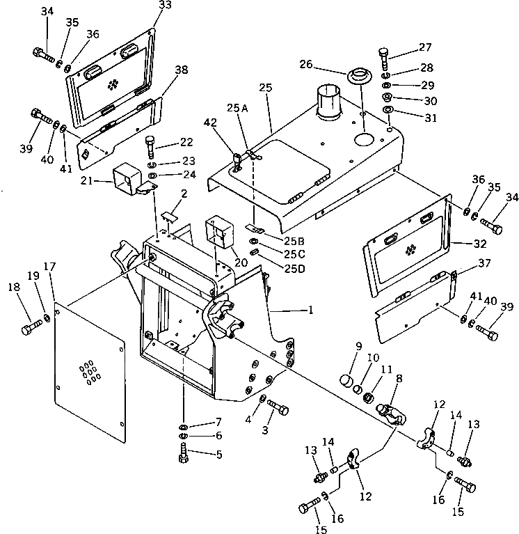
Запчасти Komatsu D31PLL-18 ЗАЩИТА РАДИАТОРА AND КАПОТ(№-) ЧАСТИ КОРПУСА

Схема запчастей Komatsu D31PLL-18 - ЗАЩИТА РАДИАТОРА AND КАПОТ(№-) ЧАСТИ КОРПУСА
FIT
1:1
100%

Артикул

Название

Примечание

Количество

1

11G-C74-6110

GUARD

SN: 40001-40322

1шт.

2

201-54-22971

SEAT

SN: 40001-@

2шт.

3

01010-51850

BOLT

SN: 40001-@

16шт.

4

01643-31845

WASHER

SN: 40001-@

16шт.

5

01010-51435

BOLT

SN: 40001-@

2шт.

6

01602-21442

WASHER,SPRING

SN: 40001-@

2шт.

7

01643-31445

WASHER

SN: 40001-@

2шт.

8

120-54-31321

SUPPORT

SN: 40001-@

2шт.

9

120-54-31371

HOUSING

SN: 40001-@

8шт.

10

120-54-31381

BUSHING

SN: 40001-@

8шт.

11

07145-00040

SEAL

SN: 40001-@

8шт.

12

120-54-31361

CAP

SN: 40001-@

8шт.

13

07020-00000

FITTING,GREASE

SN: 40001-@

8шт.

14

170-70-15190

PIN

SN: 40001-@

8шт.

15

01010-51260

BOLT

SN: 40001-@

16шт.

16

01602-21236

WASHER,SPRING

SN: 40001-@

16шт.

17

11G-C74-6120

GRILLE

SN: 40001-40322

1шт.

18

01010-51430

BOLT

SN: 40001-@

4шт.

19

01643-31445

WASHER

SN: 40001-@

4шт.

20

11G-C74-6140

COVER,L.H.

SN: 40001-40322

1шт.

21

11G-C74-6150

COVER,R.H.

SN: 40001-40322

1шт.

22

01010-51025

BOLT

SN: 40001-@

4шт.

23

01602-21030

WASHER,SPRING

SN: 40001-@

4шт.

24

01643-31032

WASHER

SN: 40001-@

4шт.

25

113-54-41120

HOOD

SN: 40001-@

1шт.

25A

135-54-31290

HANDLE

SN: 40001-@

1шт.

25B

135-54-31310

STOPPER

SN: 40001-@

1шт.

25C

01643-31032

WASHER

SN: 40001-@

1шт.

25D

04025-00316

PIN

SN: 40001-@

1шт.

26

114-54-42160

COVER

SN: 40001-@

1шт.

27

01010-51435

BOLT

SN: 40001-@

3шт.

28

01643-31445

WASHER

SN: 40001-@

3шт.

29

113-54-41340

COLLAR

SN: 40001-@

3шт.

30

113-54-31351

SEAT

SN: 40176-@

3шт.

30

0

SEAT

SN: 40001-40175

3шт.

31

11G-54-41210

COVER,L.H.

SN: 40001-@

1шт.

32

11G-54-41220

COVER,R.H.

SN: 40001-@

1шт.

33

01010-51025

BOLT

SN: 40001-@

6шт.

34

01602-21030

WASHER,SPRING

SN: 40001-@

6шт.

35

01643-31032

WASHER

SN: 40001-@

6шт.

36

11G-54-41170

COVER,L.H.

SN: 40001-@

1шт.

37

11G-54-41180

COVER,R.H.

SN: 40001-@

1шт.

38

01010-51025

BOLT

SN: 40001-@

4шт.

39

01602-21030

WASHER,SPRING

SN: 40001-@

4шт.

40

01643-31032

WASHER

SN: 40001-@

4шт.

41

09460-00004

LOCK

SN: 40001-@

1шт.

Выбрано товаров: 0