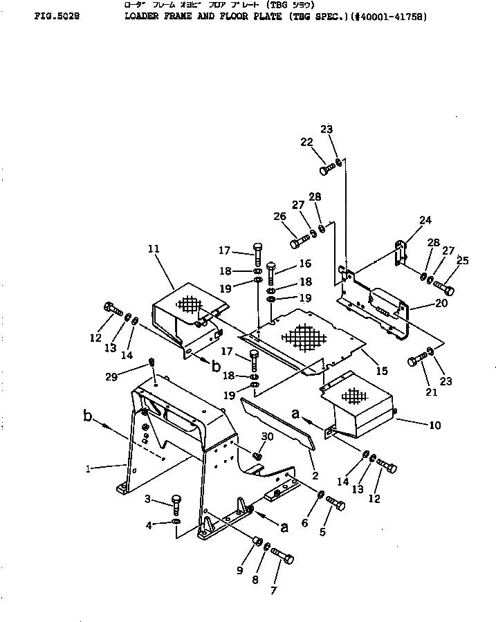
Запчасти Komatsu D31PLL-18 ПОГРУЗ. РАМА И ПОЛ КАБИНЫ (СПЕЦ-Я TBG)(№-78) ЧАСТИ КОРПУСА

Схема запчастей Komatsu D31PLL-18 - ПОГРУЗ. РАМА И ПОЛ КАБИНЫ (СПЕЦ-Я TBG)(№-78) ЧАСТИ КОРПУСА
FIT
1:1
100%

Артикул

Название

Примечание

Количество

1

11G-54-42111

FRAME,LOADER

SN: 40001-@

1шт.

2

113-C62-1250

SHEET

SN: 40001-41758

1шт.

3

01010-52060

BOLT

SN: 40001-@

12шт.

4

01643-32060

WASHER

SN: 40001-@

12шт.

5

01010-51640

BOLT

SN: 40001-@

4шт.

6

01643-31645

WASHER

SN: 40001-@

4шт.

7

01010-51035

BOLT

SN: 40001-@

2шт.

8

01602-21030

WASHER,SPRING

SN: 40001-@

2шт.

9

11G-54-41230

COLLAR

SN: 40001-@

2шт.

10

11G-54-49160

FENDER,L.H.

SN: 40001-41758

1шт.

11

11G-54-49170

FENDER,R.H.

SN: 40001-41758

1шт.

12

01010-51025

BOLT

SN: 40001-@

4шт.

13

01602-21030

WASHER,SPRING

SN: 40001-@

4шт.

14

01643-31032

WASHER

SN: 40001-@

4шт.

15

113-54-49110

PLATE

SN: 40001-41758

1шт.

16

01010-51070

BOLT

SN: 40001-@

2шт.

17

01010-51025

BOLT

SN: 40001-@

6шт.

18

01602-21030

WASHER,SPRING

SN: 40001-@

8шт.

19

01643-31032

WASHER

SN: 40001-@

8шт.

20

113-54-49350

COVER

SN: 40001-@

1шт.

21

01010-51025

BOLT

SN: 40001-41758

1шт.

22

113-B44-1230

BOLT

SN: 40001-41758

1шт.

23

01602-21030

WASHER,SPRING

SN: 40001-@

2шт.

24

113-54-34240

BRACKET

SN: 40001-@

1шт.

25

01010-51025

BOLT

SN: 40001-41758

2шт.

26

113-B44-1230

BOLT

SN: 40001-41758

2шт.

27

01602-21030

WASHER,SPRING

SN: 40001-@

4шт.

28

01643-31032

WASHER

SN: 40001-@

4шт.

29

07049-01418

PLUG

SN: 40420-@

2шт.

30

07049-02430

PLUG

SN: 40001-@

12шт.

Выбрано товаров: 0