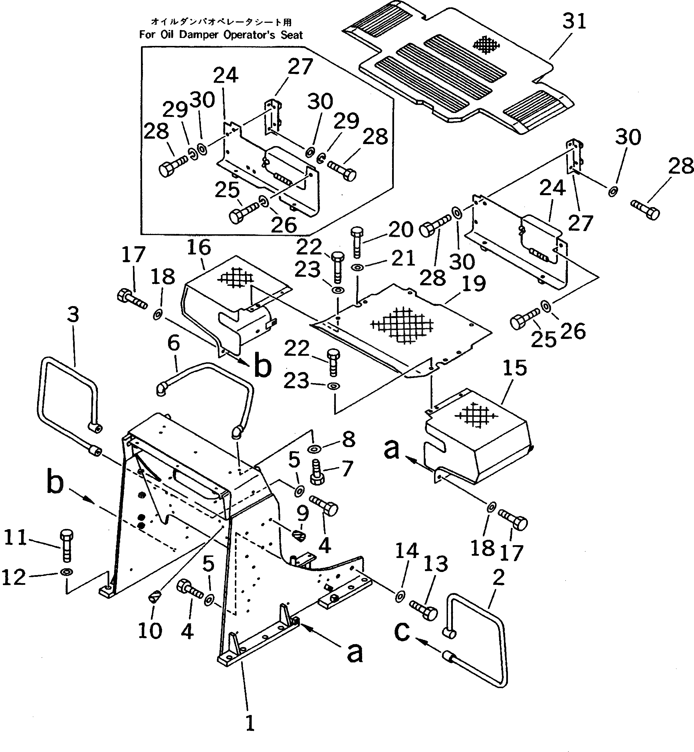
Запчасти Komatsu D31PLL-20 ПОГРУЗ. РАМА И ПОЛ КАБИНЫ КАБИНА ОПЕРАТОРА И СИСТЕМА УПРАВЛЕНИЯ

Схема запчастей Komatsu D31PLL-20 - ПОГРУЗ. РАМА И ПОЛ КАБИНЫ КАБИНА ОПЕРАТОРА И СИСТЕМА УПРАВЛЕНИЯ
FIT
1:1
100%

Артикул

Название

Примечание

Количество

1

11G-54-51110

FRAME,LOADER

SN: 47617-UP

1шт.

1

11G-54-42310

FRAME,LOADER

SN: 45001-47616

1шт.

2

114-54-42171

HANDLE,L.H.

SN: 47617-UP

1шт.

2

114-54-42170

HANDLE,L.H.

SN: 45001-47616

1шт.

3

114-54-42171

HANDLE,R.H.

SN: 47617-UP

1шт.

3

114-54-42170

HANDLE,R.H.

SN: 45001-47616

1шт.

4

01010-81245

BOLT

SN: 45001-UP

4шт.

5

01643-31232

WASHER

SN: 45001-UP

4шт.

6

104-54-31311

HANDLE

SN: 47617-UP

1шт.

6

114-54-42230

HANDLE

SN: 45001-47616

1шт.

7

01010-81020

BOLT

SN: 45001-UP

2шт.

8

01643-31032

WASHER

SN: 45001-UP

2шт.

9

07049-02430

PLUG

SN: 45001-UP

8шт.

10

07049-01012

PLUG

SN: 45001-UP

3шт.

11

01010-82060

BOLT

SN: 45001-UP

12шт.

12

01643-32060

WASHER

SN: 45001-UP

12шт.

13

01010-81640

BOLT

SN: 45001-UP

4шт.

14

01643-31645

WASHER

SN: 45001-UP

4шт.

15

11G-54-43311

FENDER,L.H.

SN: 45001-UP

1шт.

16

11G-54-43321

FENDER,R.H.

SN: 45001-UP

1шт.

17

01010-81025

BOLT

SN: 45001-UP

4шт.

18

01643-31032

WASHER

SN: 45001-UP

4шт.

19

113-54-43110

PLATE

SN: 45001-UP

1шт.

20

01010-81025

BOLT

SN: 45001-UP

2шт.

21

01643-31032

WASHER

SN: 45001-UP

2шт.

22

01010-81025

BOLT

SN: 45001-UP

6шт.

23

01643-31032

WASHER

SN: 45001-UP

6шт.

24

113-54-44110

COVER

SN: 45001-UP

1шт.

24

113-54-44510

COVER,(FOR OIL DAMPER SEAT)

SN: 45001-UP

1шт.

25

01010-81020

BOLT

SN: 45001-UP

2шт.

25

01010-81025

BOLT,(FOR OIL DAMPER SEAT)

SN: 45001-UP

2шт.

26

01643-31032

WASHER

SN: 45001-UP

2шт.

26

01602-21030

WASHER,(FOR OIL DAMPER SEAT)

SN: 45001-UP

2шт.

27

114-54-43250

BRACKET

SN: 45001-UP

1шт.

28

01010-81025

BOLT

SN: 45001-UP

4шт.

29

01602-21030

WASHER,(FOR OIL DAMPER SEAT)

SN: 45001-UP

4шт.

30

01643-31032

WASHER

SN: 45001-UP

4шт.

31

114-54-43112

MAT

SN: 45001-UP

1шт.

Выбрано товаров: 38