Запчасти Komatsu D31PLL-20 CROSS BAR (GROUND IN GOOD CONDITION СПЕЦ-Я.)(№77-) ОСНОВН. РАМА И КОМПОНЕНТЫ

Схема запчастей Komatsu D31PLL-20 - CROSS BAR (GROUND IN GOOD CONDITION СПЕЦ-Я.)(№77-) ОСНОВН. РАМА И КОМПОНЕНТЫ
FIT
1:1
100%

Артикул

Название

Примечание

Количество

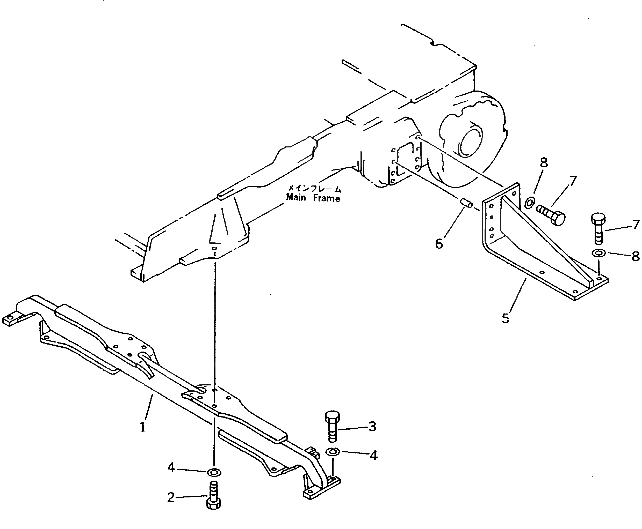
1

11G-C70-5130

BAR,CROSS

SN: 47760-UP

1шт.

2

01010-82055

BOLT

SN: 47760-UP

8шт.

3

01010-82050

BOLT

SN: 47760-UP

8шт.

4

01643-32060

WASHER

SN: 47760-UP

16шт.

5

11G-C70-5120

BRACKET

SN: 47760-UP

2шт.

6

04020-01842

PIN,DOWEL

SN: 47760-UP

4шт.

7

01010-82050

BOLT

SN: 47760-UP

20шт.

8

01643-32060

WASHER

SN: 47760-UP

20шт.

Выбрано товаров: 8