Запчасти Komatsu D31PLL-20 LINING ОТВАЛ РАБОЧЕЕ ОБОРУДОВАНИЕ

Схема запчастей Komatsu D31PLL-20 - LINING ОТВАЛ РАБОЧЕЕ ОБОРУДОВАНИЕ
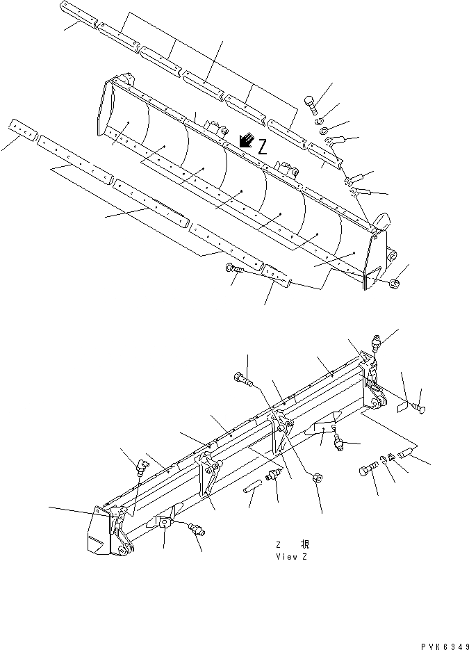
1
2
2
3
4
5
5
6
7
7
8
8
9
10
10
10
11
12
12
13
14
15
15
16
17
17
18
19
20
21
22
23
24
25
26
27
28
29
30
31
32
33
34
FIT
1:1
100%

Артикул

Название

Примечание

Количество

1

11G-C74-8310

BLADE

SN: 45001-UP

1шт.

2

11G-A70-8170

BRACKET (WELDED)

SN: 45001-UP

2шт.

3

11G-C74-8130

BRACKET,L.H. (WELDED)

SN: 45001-UP

1шт.

4

11G-C74-8140

BRACKET,R.H. (WELDED)

SN: 45001-UP

1шт.

5

11G-A70-8130

BRACKET (WELDED)

SN: 45001-UP

2шт.

6

11G-A70-8410

PLATE (WELDED)

SN: 45001-UP

1шт.

7

11G-C74-8380

PLATE,L.H. (WELDED)

SN: 45001-UP

1шт.

|7

11G-C74-8390

PLATE,R.H. (WELDED)

SN: 45001-UP

1шт.

8

11G-B70-8320

PLATE,L.H. (WELDED)

SN: 45001-UP

1шт.

|8

11G-B70-8330

PLATE,R.H. (WELDED)

SN: 45001-UP

1шт.

9

07020-00675

FITTING,GREASE

SN: 45001-UP

1шт.

10

07020-00000

FITTING,GREASE

SN: 45001-UP

3шт.

11

12F-B74-3171

EDGE,CUTTING

SN: 45001-UP

3шт.

12

12F-929-2170

BIT,END

SN: 45001-UP

2шт.

13

02090-10840

BOLT

SN: 45001-UP

26шт.

14

02290-10813

NUT

SN: 45001-UP

26шт.

15

11G-B70-8350

PLATE,L.H.

SN: 45001-UP

1шт.

|15

11G-B70-8360

PLATE,R.H.

SN: 45001-UP

1шт.

16

11G-A70-8320

PLATE

SN: 45001-UP

5шт.

17

11G-B70-8340

PLATE

SN: 45001-UP

2шт.

18

12F-A71-2710

PLATE

SN: 45001-UP

5шт.

19

13F-Z27-1810

PLATE¤ 4.5MM

SN: 45001-UP

21шт.

20

13F-Z27-1810

PLATE¤ 4.5MM

SN: 45001-UP

42шт.

21

13F-Z27-1820

PLATE¤ 2.3MM

SN: 45001-UP

42шт.

22

01010-51250

BOLT

SN: 45001-UP

21шт.

23

01602-21236

WASHER,SPRING

SN: 45001-UP

21шт.

24

01643-31232

WASHER

SN: 45001-UP

21шт.

25

114-72-21820

PIN

SN: 45001-UP

2шт.

26

114-72-21980

LOCK

SN: 45001-UP

2шт.

27

01010-51430

BOLT

SN: 45001-UP

2шт.

28

01602-21442

WASHER,SPRING

SN: 45001-UP

2шт.

29

103-70-26350

PIN

SN: 45001-UP

2шт.

30

07020-00000

FITTING,GREASE

SN: 45001-UP

2шт.

31

01010-51070

BOLT

SN: 45001-UP

2шт.

32

01598-01011

NUT

SN: 45001-UP

2шт.

33

09601-00835

PLATE¤ NAME

SN: 45001-UP

1шт.

34

04418-13060

SCREW

SN: 45001-UP

4шт.

Выбрано товаров: 37