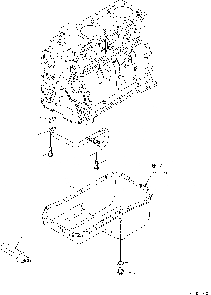
Запчасти Komatsu SAA4D102E-2B-4 МАСЛЯНЫЙ ПОДДОН И ВСАСЫВАЮЩИЙ ПАТРУБОК ДВИГАТЕЛЬ

Схема запчастей Komatsu SAA4D102E-2B-4 - МАСЛЯНЫЙ ПОДДОН И ВСАСЫВАЮЩИЙ ПАТРУБОК ДВИГАТЕЛЬ
1
2
3
4
5
6
7
8
1
2
3
4
5
6
7
8
FIT
1:1
100%

Артикул

Название

Примечание

Количество

1

6737-51-5510

TUBE

SN: 26277757-UP

1шт.

2

6733-21-5520

GASKET (K2)

SN: 26277757-UP

1шт.

3

6732-71-3220

BOLT

SN: 26277757-UP

2шт.

4

6732-21-5160

BOLT

SN: 26277757-UP

2шт.

5

6732-21-5140

PAN,OIL

SN: 26323351-UP

1шт.

5

0

PAN,OIL

SN: 26277757-26323350

1шт.

6

6204-21-5180

PLUG

SN: 26323351-UP

1шт.

6

6204-21-5180

PLUG

SN: 26277757-26323350

2шт.

7

07005-02216

SEAL, WASHER (K2)

SN: 26323351-UP

1шт.

7

0

SEAL, WASHER (K2)

SN: 26277757-26323350

2шт.

8

09920-00150

LIQUID GASKET,LG-7, 150G

SN: 26277757-UP

-2шт.

1

6737-51-5510

TUBE

SN: 26277757-UP

1шт.

2

6733-21-5520

GASKET (K2)

SN: 26277757-UP

1шт.

3

6732-71-3220

BOLT

SN: 26277757-UP

2шт.

4

6732-21-5160

BOLT

SN: 26277757-UP

2шт.

5

6732-21-5140

PAN,OIL

SN: 26323351-UP

1шт.

5

0

PAN,OIL

SN: 26277757-26323350

1шт.

6

6204-21-5180

PLUG

SN: 26323351-UP

1шт.

6

6204-21-5180

PLUG

SN: 26277757-26323350

2шт.

7

07005-02216

SEAL, WASHER (K2)

SN: 26323351-UP

1шт.

7

0

SEAL, WASHER (K2)

SN: 26277757-26323350

2шт.

8

09920-00150

LIQUID GASKET,LG-7, 150G

SN: 26277757-UP

-2шт.

Выбрано товаров: 22