Запчасти Komatsu D31PX-22 DOZER ОТВАЛ (№-) DOZER ОТВАЛ, С ПОВОРОТН. ОТВАЛ С ИЗМ. УГЛОМ DOZER, МЕХАНИЧ.-PITCH

Схема запчастей Komatsu D31PX-22 - DOZER ОТВАЛ (№-) DOZER ОТВАЛ, С ПОВОРОТН. ОТВАЛ С ИЗМ. УГЛОМ DOZER, МЕХАНИЧ.-PITCH
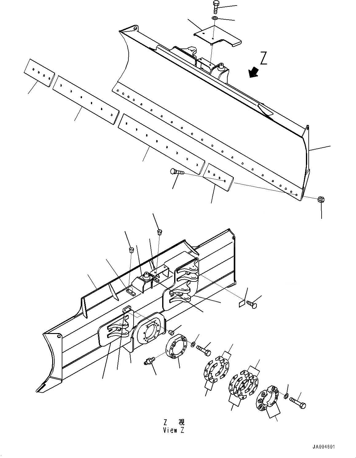
16
11
23
22
30
29
24
23
22
21
18
15
14
13
10
7
6
5
4
3
2
1
10
17
20
19
26
25
12
28
9
27
28
8
9
FIT
1:1
100%

Артикул

Название

Примечание

Количество

|$0

11Y-72-39101

Blade Assembly, W=2837mm

SN: 60491-UP

1шт.

|$1

11Y-72-39100

Blade Assembly, W=2837mm

SN: 60001-60490

1шт.

1

Blade

SN: 60001-UP

1шт.

2

11Y-72-35131

Bracket,Welded

SN: 60001-UP

1шт.

3

11Y-72-39140

Bracket,Welded

SN: 60001-UP

1шт.

4

11Y-72-37281

Bracket,Welded

SN: 60001-UP

1шт.

5

11Y-72-39290

Bracket,Welded

SN: 60001-UP

1шт.

6

11Y-72-39380

Bracket,Welded

SN: 60001-UP

1шт.

7

11Y-72-39271

Bracket,Welded

SN: 60491-UP

1шт.

7

11Y-72-39270

Bracket,Welded

SN: 60001-60490

1шт.

8

12Y-06-12540

Seat,Welded

SN: 60491-UP

1шт.

9

11Y-72-39C80

Seat,Welded

SN: 60491-UP

2шт.

10

112-946-1510

End Bit

SN: 60001-UP

2шт.

11

12F-70-31281

Cutting Edge

SN: 60001-UP

1шт.

12

12F-70-31261

Cutting Edge

SN: 60001-UP

1шт.

13

02090-11050

Bolt

SN: 60001-UP

22шт.

14

02290-11016

Nut

SN: 60001-UP

22шт.

15

11Y-72-35181

Cover

SN: 60001-UP

1шт.

16

01010-81225

Bolt

SN: 60001-UP

2шт.

17

01643-31232

Washer

SN: 60001-UP

2шт.

18

11Y-72-31461

Bearing

SN: 60001-UP

1шт.

19

01010-81265

Bolt

SN: 60001-UP

2шт.

20

01643-31232

Washer

SN: 60001-UP

2шт.

21

07020-00000

Fitting, Grease

SN: 60001-UP

1шт.

22

11Y-72-21441

Shim, T=1.0mm

SN: 60001-UP

4шт.

23

11Y-72-21451

Shim, T=2.0mm

SN: 60001-UP

6шт.

24

11Y-72-31281

Cap

SN: 60001-UP

2шт.

25

01011-82020

Bolt

SN: 60001-UP

8шт.

26

01643-32060

Washer

SN: 60001-UP

8шт.

27

07049-01012

Plug

SN: 60491-UP

2шт.

28

07049-01215

Plug

SN: 60491-UP

4шт.

29

09601-50000

Plate, Name (Limited Supply), EU Regulation

SN: 60001-UP

1шт.

30

04418-13060

Screw

SN: 60001-UP

4шт.

Выбрано товаров: 33