Запчасти Komatsu D32E-1 ТРАНСМИССИЯ RATE OF RISE КЛАПАН ПРИВОД TRAIN

Схема запчастей Komatsu D32E-1 - ТРАНСМИССИЯ RATE OF RISE КЛАПАН ПРИВОД TRAIN
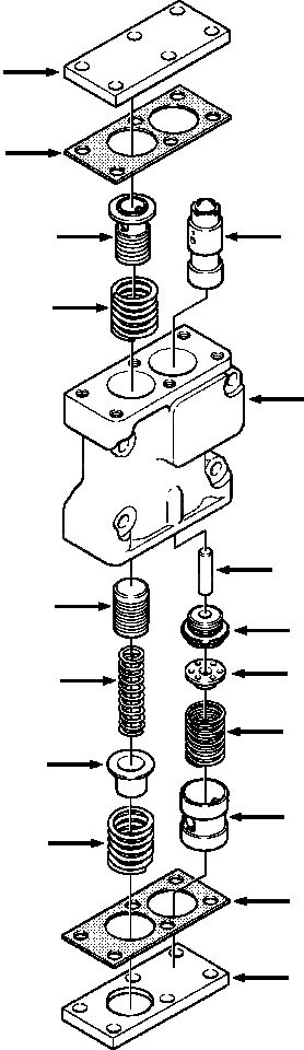
15
14
6
8
7
1
9
2
10
11
5
12
3
13
4
14
16
FIT
1:1
100%

Артикул

Название

Примечание

Количество

|$0

1305 397 H91

VALVE ASSY, RATE OF RISE

1шт.

1

NSS

HOUSING, VALVE

1шт.

2

NSS

PISTON, MODULATING

1шт.

3

657 942 C1

RETAINER, SPRING

1шт.

4

657 943 C2

SPRING, PISTON OUTER

1шт.

5

657 944 C2

SPRING, PISTON INNER

1шт.

6

NSS

SPOOL, REDUCING

1шт.

7

707 308 C1

SPRING, REDUCING SPOOL

1шт.

8

NSS

SPOOL, SEQUENCE

1шт.

9

19 892 R1

PIN, DOWEL - 3/8x1-1/2

1шт.

10

707 304 C1

SPACER, DISC

1шт.

11

707 303 C1

DISC, SEQUENCE

1шт.

12

1234 069 H1

SPRING, SEQUENCE SPOOL

1шт.

13

657 946 C2

SPACER, TUBE

1шт.

14

654 333 C2

GASKET, END COVER

2шт.

15

657 950 C1

COVER, END

2шт.

|$16

24 840 R1

BOLT, HEX - 3/8NCx1

6шт.

|$17

115 093

WASHER, LOCK - 3/8

12шт.

16

1305 390 H1

COVER, END

1шт.

|$19

140 483 H

BOLT, HEX - 3/8NCx1-1/4

6шт.

Выбрано товаров: 20