Запчасти Komatsu D32E-1 IN ГУСЕНИЦЫS DE- КОЛЕСА И TRACTION

Схема запчастей Komatsu D32E-1 - IN ГУСЕНИЦЫS DE- КОЛЕСА И TRACTION
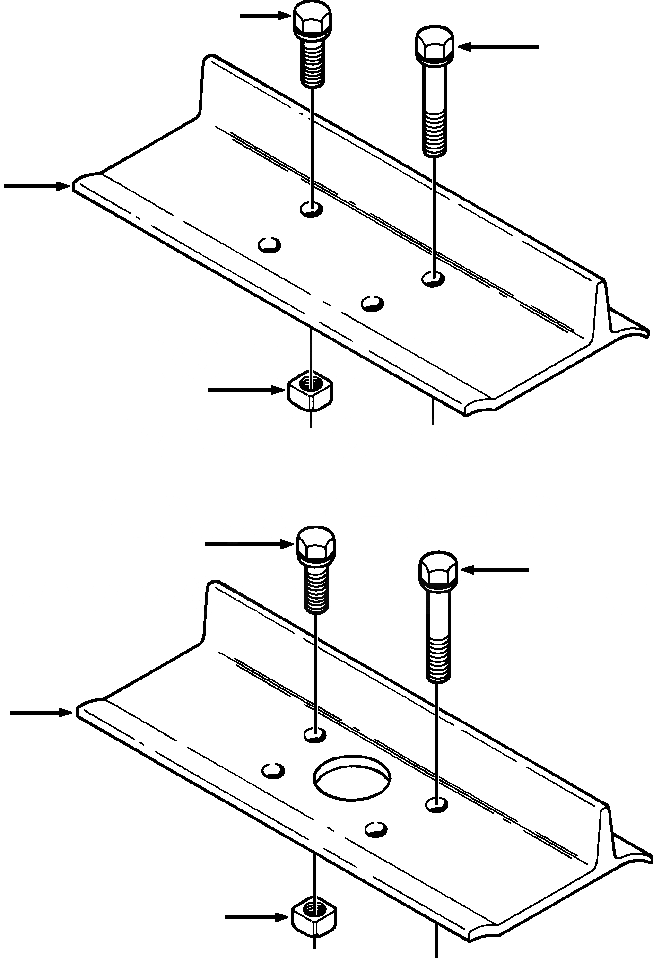
2
4
3
2
4
3
1A
1B
FIT
1:1
100%

Артикул

Название

Примечание

Количество

|$0

1237 777 H91

TRACK SHOES

-54шт.

1A

1236 985 H1

SHOE, TRACK

68шт.

2

616 199 C4

BOLT, TRACK SHOE

264шт.

3

616 200 C1

NUT, TRACK SHOE

264шт.

4

BOLT, MASTER LINK (SEE PG 15-010)

-29шт.

|$5

1237 778 H91

TRACK SHOE, MUD RELIEF

-54шт.

1B

1237 418 H1

SHOE, TRACK

68шт.

2

616 199 C4

BOLT, TRACK SHOE

264шт.

3

616 200 C1

NUT, TRACK SHOE

264шт.

4

BOLT, MASTER LINK (SEE PG 15-010)

-29шт.

|$12

-1шт.

|$11

F1 - PART NUMBER IS A NON-SERVICE PART AND IS LISTED FOR REFERENCE ONLY.

-1шт.

|$13

-1шт.

Выбрано товаров: 0