Запчасти Komatsu D32E-1 7IN ГУСЕНИЦЫS DE- КОЛЕСА И TRACTION

Схема запчастей Komatsu D32E-1 - 7IN ГУСЕНИЦЫS DE- КОЛЕСА И TRACTION
2
7
1
3
4
5
6
FIT
1:1
100%

Артикул

Название

Примечание

Количество

|$0

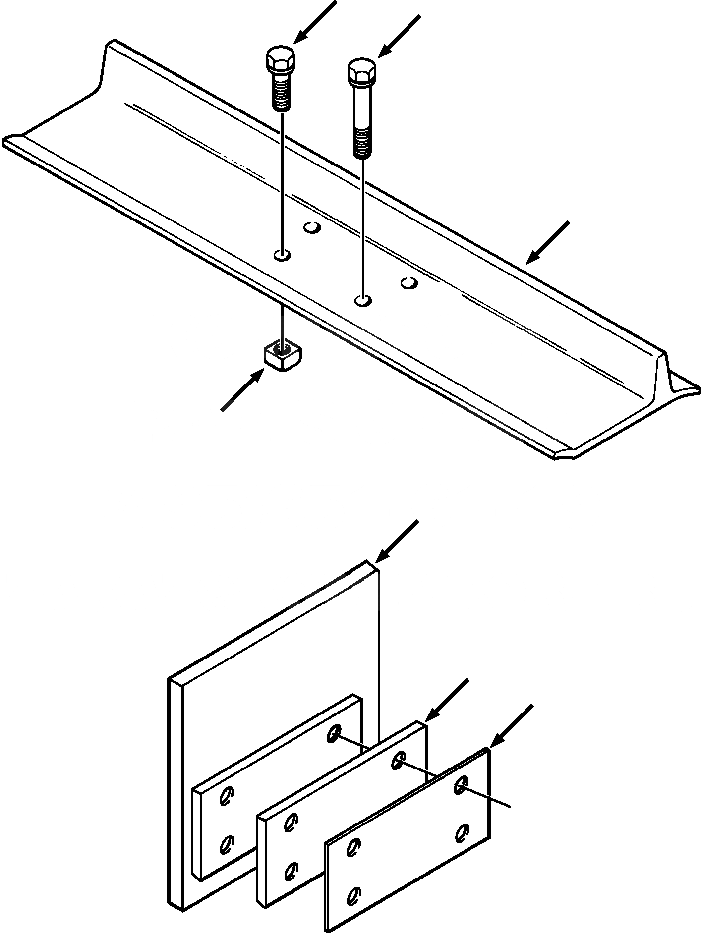
1270 497 H91

TRACK SHOES

-54шт.

1

1270 460 H1

SHOE, SQUARE CORNER TRACK

68шт.

2

616 199 C4

BOLT, TRACK SHOE

264шт.

3

616 200 C1

NUT, TRACK SHOE

264шт.

4

1258 994 H91

BAR, RUB

2шт.

|$5

24 877 R1

BOLT, HEX - 5/8NCx2-1/2

8шт.

|$6

25 547 R1

WASHER, FLAT - 5/8

8шт.

5

1258 974 H1

MOUNTING BAR, RUB BAR

2шт.

6

1258 997 H1

SHIM, RUB BAR

-2шт.

7

BOLT, MASTER LINK (SEE PG 15-010)

-29шт.

|$$11

-1шт.

|$11

F1 - PART NUMBER IS A NON-SERVICE PART AND IS LISTED FOR REFERENCE ONLY.

-1шт.

|$$13

-1шт.

Выбрано товаров: 13