Запчасти Komatsu D32E-1A FIG. K-A ВТОР.ARY ПЕДАЛЬ ТОРМОЗА И КОРПУС КАБИНА ОПЕРАТОРА И СИСТЕМА УПРАВЛЕНИЯ

Схема запчастей Komatsu D32E-1A - FIG. K-A ВТОР.ARY ПЕДАЛЬ ТОРМОЗА И КОРПУС КАБИНА ОПЕРАТОРА И СИСТЕМА УПРАВЛЕНИЯ
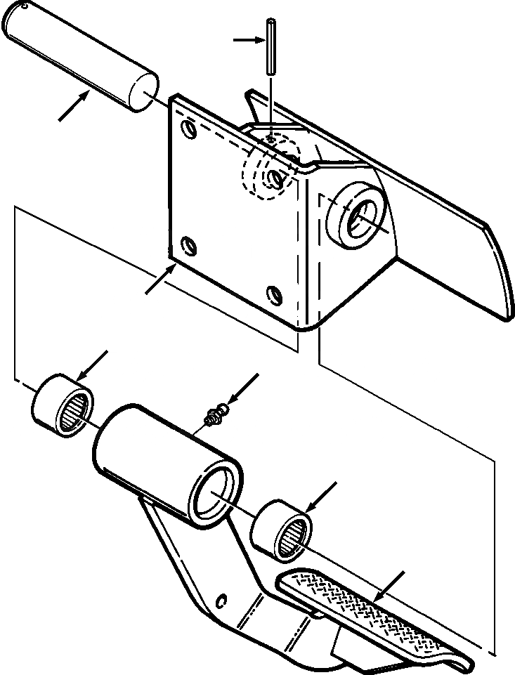
6
4
5
2
3
2
1
FIT
1:1
100%

Артикул

Название

Примечание

Количество

|$0

1306 636 H91

PEDAL AND BRACKET, BRAKE

SN: P076093--UP

1шт.

|$1

1281 099 H91

PEDAL ASSEMBLY, BRAKE

SN: P076093--UP

1шт.

1

1281 101 H91

PEDAL, BRAKE

SN: P076093--UP

1шт.

2

740 465 C91

BEARING, NEEDLE

SN: P076093--UP

2шт.

3

109 454

FITTING, LUBE

SN: P076093--UP

1шт.

4

1306 604 H1

SHAFT, CROSS

SN: P076093--UP

1шт.

5

1306 637 H92

BRACKET, BRAKE PEDAL

SN: P076093--UP

1шт.

6

19 795 R1

PIN, ROLL

SN: P076093--UP

1шт.

|$8

-1шт.

|$9

F1 PART NUMBER IS A NON-SERVICE PART AND IS LISTED FOR REFERENCE ONLY. ORDER INDIVIDUAL PIECE PARTS.

-1шт.

|$10

-1шт.

Выбрано товаров: 11