Запчасти Komatsu D32E-1A FIG. R-A БОЛОТН. SHOES - DP-A, D8P-A ХОДОВАЯ

Схема запчастей Komatsu D32E-1A - FIG. R-A БОЛОТН. SHOES - DP-A, D8P-A ХОДОВАЯ
3
5
2
4
1
6
7
8
9
FIT
1:1
100%

Артикул

Название

Примечание

Количество

|$0

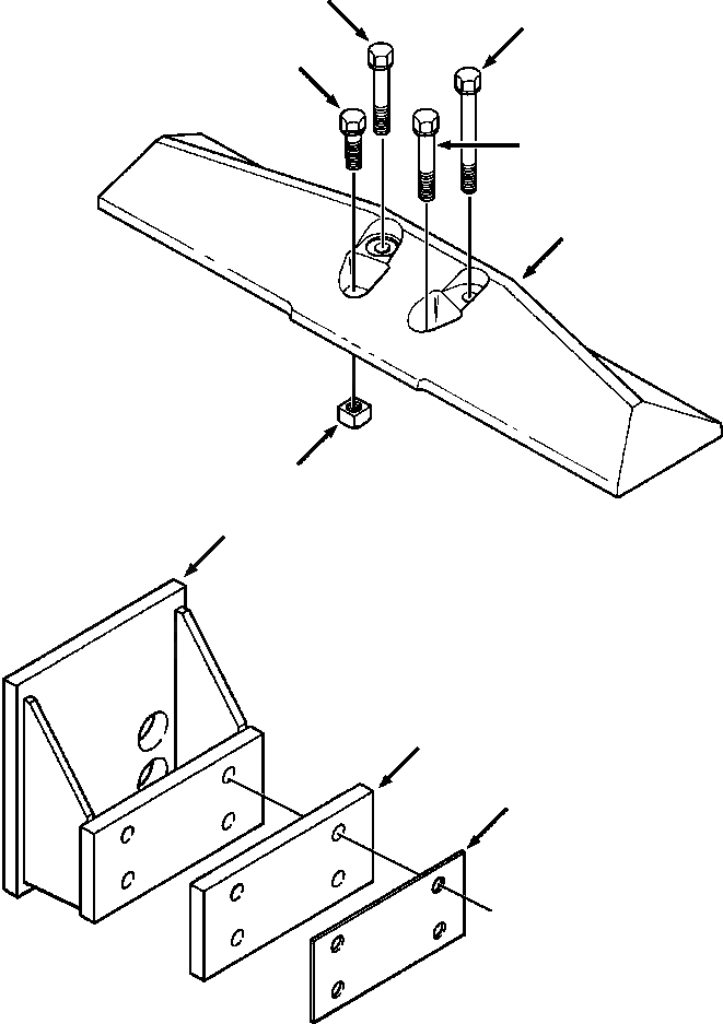
1281 167 H91

TRACK SHOES, SWAMP

SN: P076093--UP

1шт.

1

1243 442 H1

SHOE, TRACK

SN: P076093--UP

74шт.

2

616 199 C4

BOLT, CHAIN LINK - SHORT

SN: P076093--UP

144шт.

3

1236 990 H2

BOLT, CHAIN LINK - LONG

SN: P076093--UP

144шт.

4

1236 990 H2

BOLT, MASTER LINK - SHORT

SN: P076093--UP

4шт.

5

1245 074 H2

BOLT, MASTER LINK - LONG

SN: P076093--UP

4шт.

6

616 200 C1

NUT, TRACK SHOE

SN: P076093--UP

288шт.

7

1258 970 H91

BAR, C-FRAME RUB

SN: P076093--UP

2шт.

|$8

24 876 R1

BOLT, HEX - 5/8NCx2-1/4

SN: P076093--UP

8шт.

|$9

25 547 R1

WASHER, FLAT - 5/8

SN: P076093--UP

8шт.

8

1271 387 H1

PLATE, RUB BAR SPACER

SN: P076093--UP

2шт.

9

1258 997 H1

SHIM, RUB BAR

SN: P076093--UP

-2шт.

|$12

-1шт.

|$13

F1 PART NUMBER IS A NONSERVICE PART AND IS LISTED FOR REFERENCE ONLY. ORDER INDIVIDUAL PIECE PARTS.

-1шт.

|$14

-1шт.

Выбрано товаров: 15